CAUTION: Be careful when you handle a sensing and diagnostic module (SDM). Do
not strike or jolt the SDM. Before applying power to the SDM:
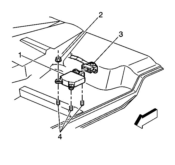
• Remove any dirt, grease, etc. from the mounting surface • Position the SDM horizontally on the mounting surface • Point the arrow on the SDM toward the front of the vehicle • Tighten all of the SDM fasteners and SDM bracket fasteners to
the specified torque value
Caution: If any water enters the vehicle's interior up to the level of the carpet or higher and soaks the carpet, the sensing and diagnostic module (SDM) and the SDM harness connector may need to be replaced. The SDM could be activated when powered, which could cause deployment of the air bag(s) and result in personal injury. Before attempting these procedures, the SIR system must be disabled. Refer to Disabling the SIR System.
With the ignition OFF, inspect the SDM mounting area, including the carpet. If any significant soaking or evidence of significant soaking is detected, you must perform the following tasks:
Notice: Use the correct fastener in the correct location. Replacement fasteners must be the correct part number for that application. Fasteners requiring replacement or fasteners requiring the use of thread locking compound or sealant are identified in the service procedure. Do not use paints, lubricants, or corrosion inhibitors on fasteners or fastener joint surfaces unless specified. These coatings affect fastener torque and joint clamping force and may damage the fastener. Use the correct tightening sequence and specifications when installing fasteners in order to avoid damage to parts and systems.
Tighten
Tighten fasteners to 12 N·m (106 lb in).