GM Service Manual Online
For 1990-2009 cars only
Makes
🢒
Chevrolet
🢒
1998
🢒
Chevy C Pickup - 2WD
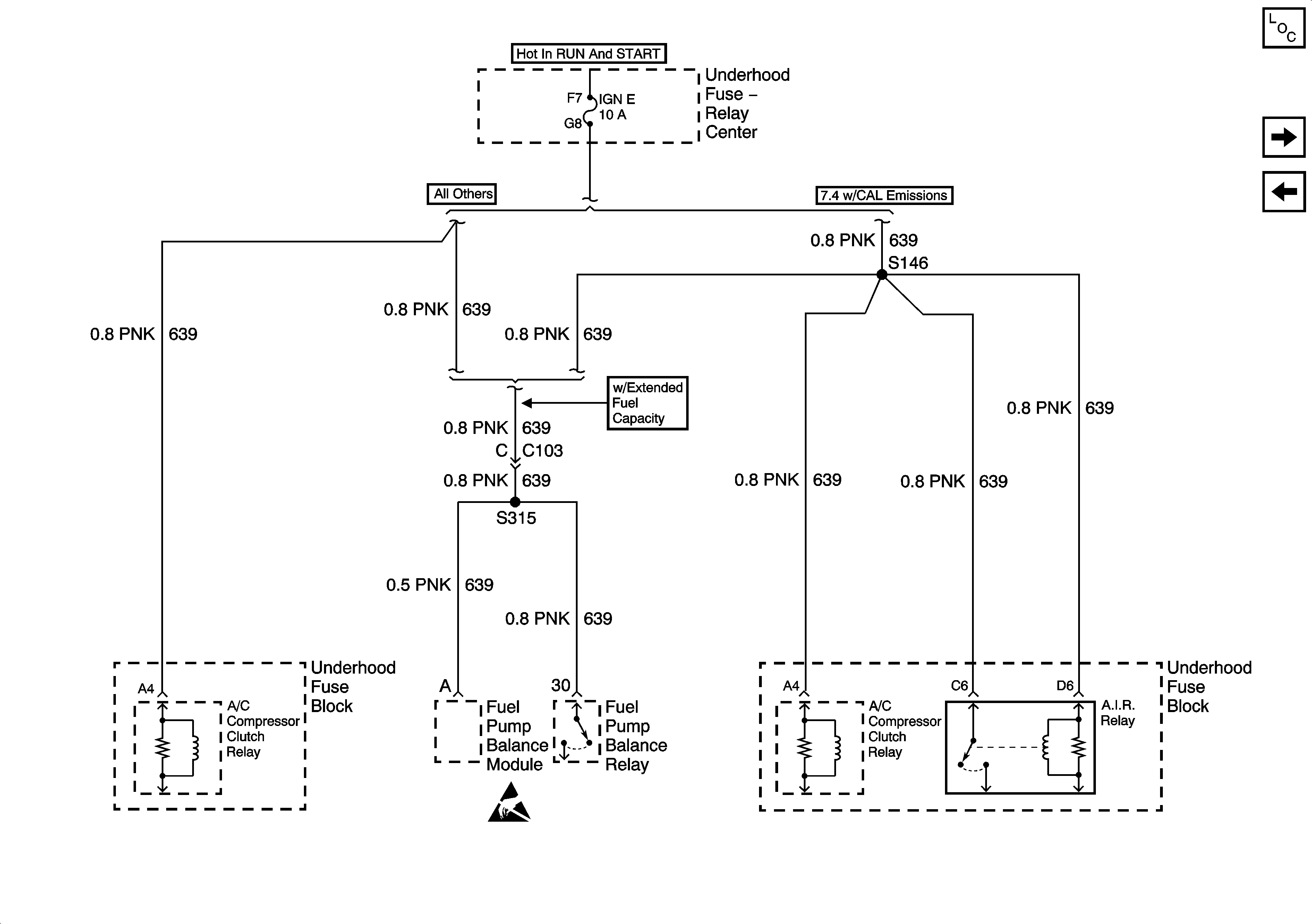
🢒 Cell 11: IGN-E Fuse
Cell 11: IGN-E Fuse
Cell 11: IGN-E Fuse
Power and Grounding Components
Cell 11: ENG-1 Fuse
Cell 11: FRONT HEATED SEATS, MIRRORS, AUX FAN and RR DEFOG Fuses
Handling Electrostatic Discharge Sensitive Parts Notice