GM Service Manual Online
For 1990-2009 cars only
Makes
🢒
Chevrolet
🢒
1998
🢒
Chevy C Pickup - 2WD
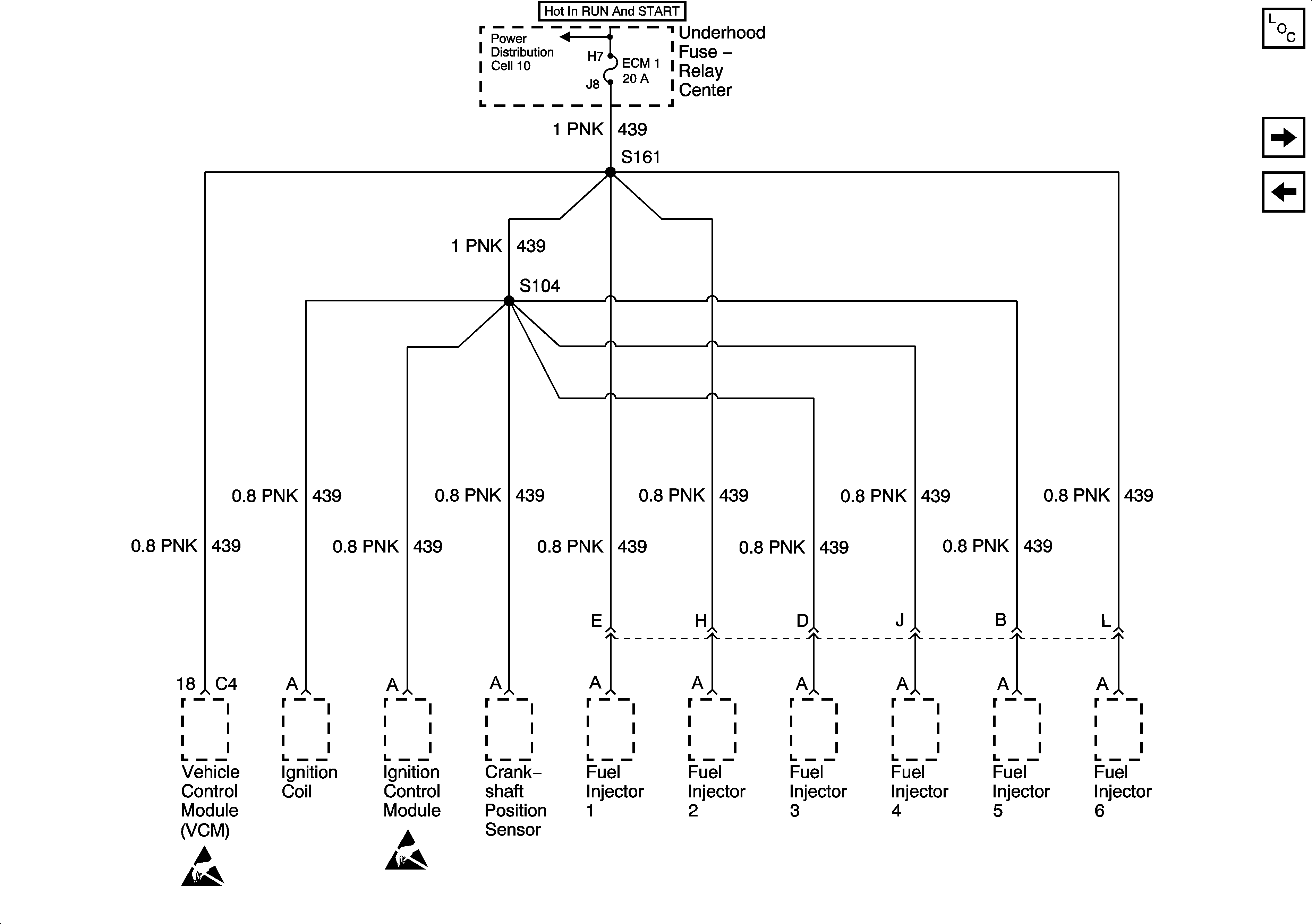
🢒 Cell 11: ECM-1 Fuse (4.3L)
Cell 11: ECM-1 Fuse (4.3L)
Cell 11: ECM-1 Fuse - 4.3L
Power and Grounding Components
Cell 11: ECM-1 Fuse (5.0L/5.7L)
Cell 11: ENG-1 Fuse
Cell 10: IGN E and CRANK Fuses
Handling Electrostatic Discharge Sensitive Parts Notice
Handling Electrostatic Discharge Sensitive Parts Notice