GM Service Manual Online
For 1990-2009 cars only
Makes
🢒
Chevrolet
🢒
1998
🢒
Chevy C Pickup - 2WD
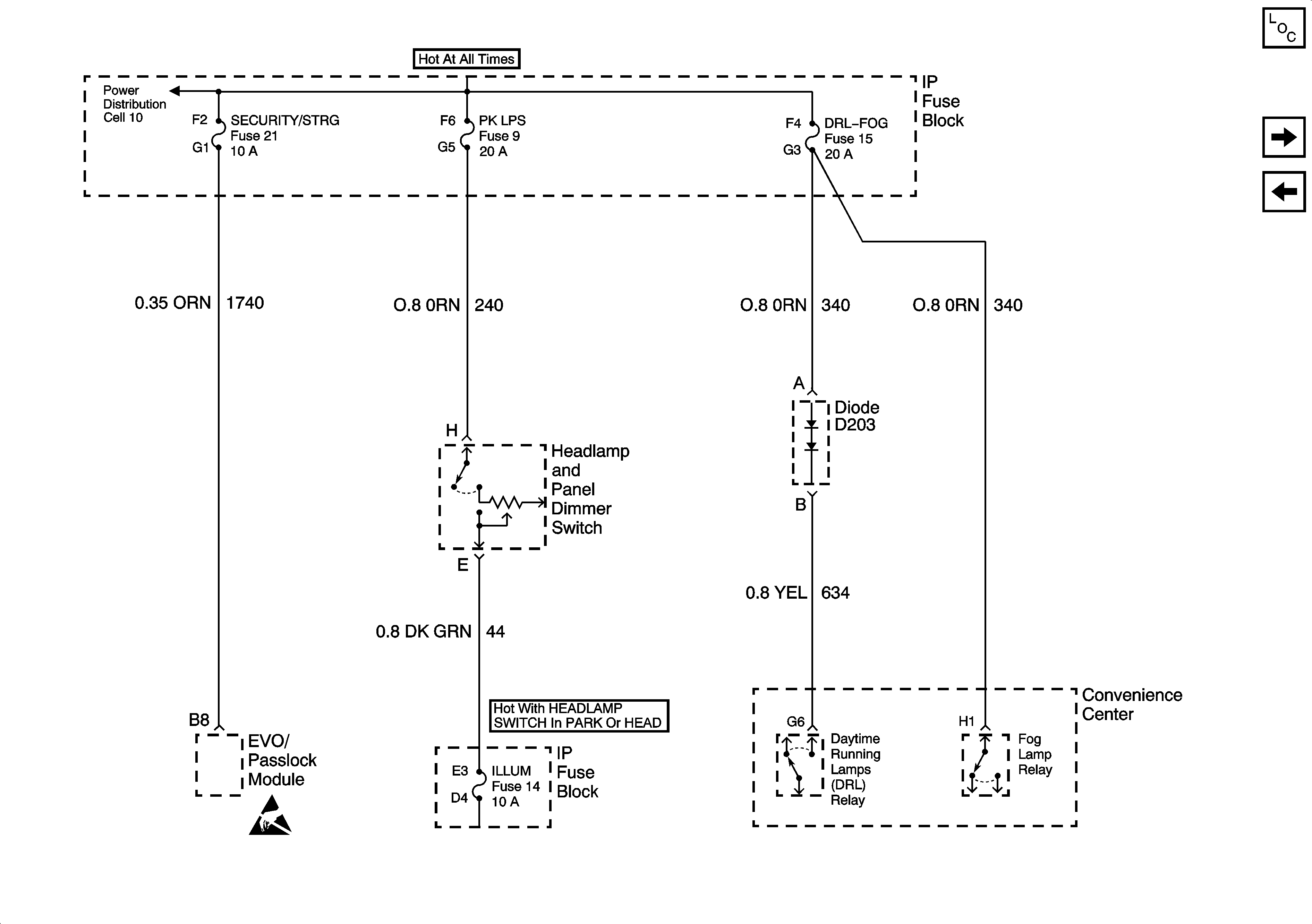
🢒 Cell 11: SECURITY/STRG, PK LPS and DRL-FOG Fuses
Cell 11: SECURITY/STRG, PK LPS and DRL-FOG Fuses
Cell 11: SECURITY/STRG, PK LPS and DRL-FOG Fuses
Power and Grounding Components
Cell 11: STOP/HAZ, RADIO BATT and AUX PWR Fuses
Cell 11: T CASE and CTSY Fuses (2 of 2)
Cell 10: Battery, LIGHTING and DRL-FOG Fuses (w/ ZM9)
Handling Electrostatic Discharge Sensitive Parts Notice