GM Service Manual Online
For 1990-2009 cars only
Makes
🢒
Chevrolet
🢒
1998
🢒
Chevy C Pickup - 2WD
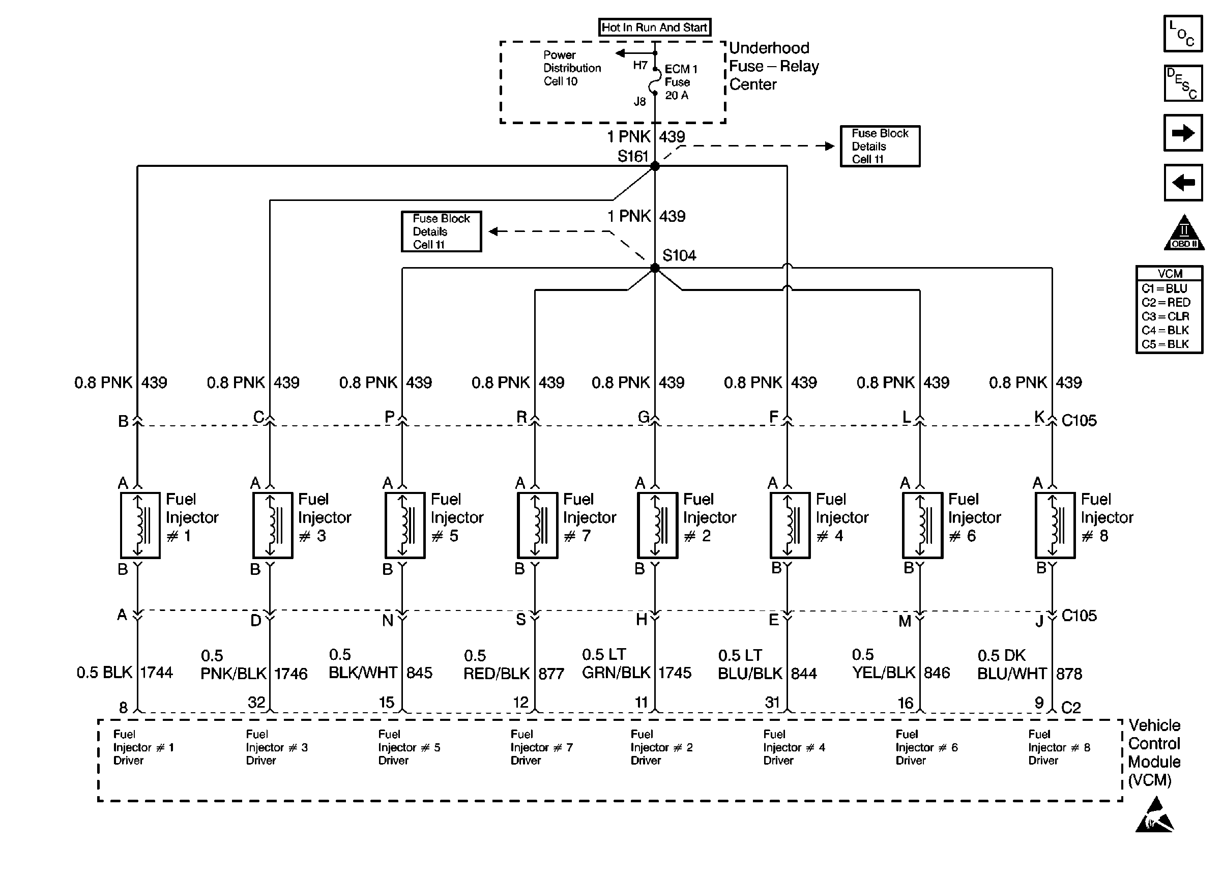
🢒 Fuel Injector Controls
Fuel Injector Controls
Fuel Injector Controls
Engine Controls Components
Information Sensors/Switches Description
Engine Sensors
Feul Pump Controls
OBDII Symbol Description Notice