GM Service Manual Online
For 1990-2009 cars only

Object Number: 381555  Size: LF
Theft Deterrent System Components
Theft Deterrent System Schematics
Theft Deterrent System Schematic Icons
Theft Deterrent System Schematic Icons
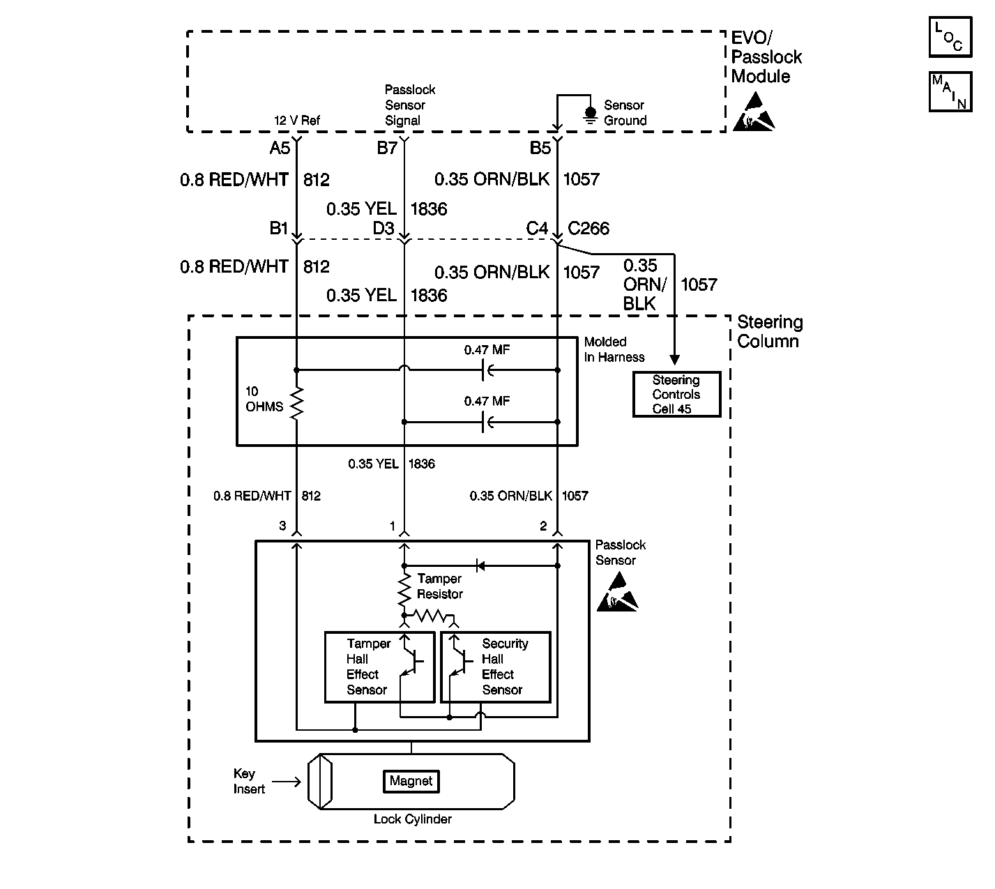
Steering Assist Schematics

Circuit Description

The EVO/Passlock module supplies power to the Passlock sensor on CKT 812.

When the Passlock sensor is powered and the ignition switch is rotated to the crank position, the hall effect security sensor will latch holding an internal code value. The EVO/Passlock module will compare this code to the value that the EVO/Passlock module measured in the last ignition cycle. If the latched value is the same as the last ignition cycle value, the test has passed. When the ignition switch is turned to the OFF position, the sensor is no longer powered and the sensor latch circuit resets.

In the next ignition cycle, the Passlock sensor waits for an ignition switch crank input. The Passlock sensor compares the ignition switch crank input to the last recognized code.

If the Passlock sensor power is shorted to ground, the sensor circuitry will not function and produce the required code.

Conditions for Setting the DTC

    • The ignition switch is ON.
    • The EVO/Passlock module is unable to produce the 9-16 volts required for the Passlock sensor operation. This may be due to a module, wiring, or sensor problem.

Action Taken When the DTC Sets

    • The vehicle will not run if the fault occurs before the vehicle is started. The security telltale will be ON.
    • If the vehicle is running when the fault occurs, the EVO/Passlock module will be in the fail enabled mode allowing the vehicle to start and run. The security telltale will be ON.

Conditions for Clearing the DTC

    • The DTC will clear after an ignition cycle has occurred without the fault.
    • EVO/Passlock module history codes will be cleared after 100 ignition cycles with no current codes active.
    • Using a scan tool.

Diagnostic Aids

    • When replacing the Passlock sensor, all sensor components lock, sensor, filter, and harness are included as a replacement part and must be replaced.
    • Use the scan tool in order to inspect the Passlock data voltage and the Passlock code.
    • Perform a visual check of the wiring and the connectors.
    • Inspect the Passlock sensor harness for an intermittent or a short to battery. Refer to Intermittents and Poor Connections .

Test Description

  1. This step isolates the short to ground between the EVO/Passlock module and the harness.

  2. This step isolates the short to ground between the Passlock sensor and the harness.

Step

Action

Value(s)

Yes

No

1

Did you perform the VTD Diagnostic System Check?

--

Go to Step 2

Go to Diagnostic System Check - Theft Deterrent

2

  1. Turn the ignition switch OFF.
  2. Disconnect the EVO/Passlock module connector. Refer to Theft Deterrent Module Replacement .
  3. Use a J 39200 digital multimeter (DMM) in order to measure the resistance from the Passlock connector terminal A5 to ground.

Is the resistance within the specified value?

(OL) infinite

Go to Step 3

Go to Step 4

3

Replace the EVO/Passlock module. Refer to Theft Deterrent Module Replacement .

Is the repair complete?

--

Go to Step 7

--

4

  1. Disconnect the C266 connector at the base of the steering column.
  2. Use a J 39200 DMM in order to measure the resistance between the Passlock connector terminal A5 to ground.

Is the resistance within the specified value?

(OL) infinite

Go to Step 5

Go to Step 6

5

Replace the Passlock sensor (and harness) inside the steering column.

    • With Tilt Wheel and Column Shift
       - To disassemble the lock module assembly, refer to Electronic Column Lock Module - Disassemble - Off Vehicle in Steering Wheel and Column - Tilt.
       - To assemble the lock module assembly, refer to Electronic Column Lock Module - Assemble - Off Vehicle in Steering Wheel and Column - Tilt.
    • With Tilt Wheel and Floor Shift
       - To disassemble the lock module assembly, refer to Electronic Column Lock Module - Disassemble - Off Vehicle in Steering Wheel and Column - Tilt.
       - To assemble the lock module assembly, refer to Electronic Column Lock Module - Assemble - Off Vehicle in Steering Wheel and Column - Tilt.
    • With Standard Wheel and Column Shift
       - To disassemble the lock module assembly, refer to Electronic Column Lock Module - Disassemble - Off Vehicle in Steering Wheel and Column - Standard.
       - To assemble the lock module assembly, refer to Electronic Column Lock Module - Assemble - Off Vehicle in Steering Wheel and Column - Standard.
    • With Standard Wheel and Floor Shift
       - To disassemble the lock module assembly, refer to Electronic Column Lock Module - Disassemble - Off Vehicle in Steering Wheel and Column - Standard.
       - To assemble the lock module assembly, refer to Electronic Column Lock Module - Assemble - Off Vehicle in Steering Wheel and Column - Standard.

Is the repair complete?

--

Go to Step 6

--

6

Repair the short to ground on CKT 812.

Is the repair complete?

--

Go to Diagnostic System Check - Theft Deterrent

--

7

  1. Reconnect all the previously disconnected connectors and the components.
  2. Turn the ignition switch ON.
  3. Connect the scan tool.
  4. Clear the DTCs.
  5. Perform 1 of the following Passlock reprogramming procedures:

Is the repair complete?

--

Go to Diagnostic System Check - Theft Deterrent

--