GM Service Manual Online
For 1990-2009 cars only

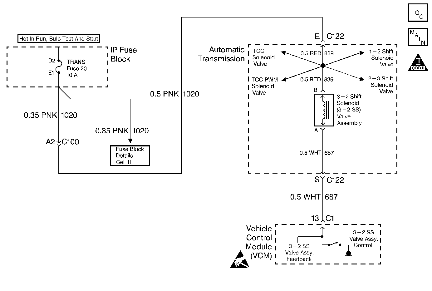
Object Number: 201934  Size: MF
Automatic Transmission Components
Automatic Transmission Controls Schematics 4L60
OBD II Symbol Description Notice
Handling ESD Sensitive Parts Notice

Circuit Description

The 3-2 Shift Solenoid Valve Assembly (3-2 SS Valve Assy.) is a normally-closed, 3-port, on/off device that controls the 3-2 downshift. The solenoid attaches to the control valve body within the transmission. The solenoid receives ignition voltage through circuit 1020. The Vehicle Control Module (VCM) controls the solenoid by providing a ground path on circuit 687. During a 3-2 downshift, the 2-4 band applies as the 3-4 clutch releases. The VCM varies the timing between the 3-4 clutch release and the 2-4 band apply, depending on the vehicle speed and the throttle position.

When the VCM detects a continuous open or short to ground in the 3-2 SS Valve Assy. circuit or the 3-2 SS Valve Assy., then DTC P0785 sets. DTC P0785 is a type A DTC.

Conditions for Setting the DTC

    • The system voltage is 10-16 volts.
    • The engine speed is greater than 450 RPM for 5 seconds.
    • Not in fuel cutoff.
    • All of the above conditions are met for 5 seconds, and either of the following fail conditions occurs for 5 seconds:
       - The VCM commands the solenoid ON and the voltage input remains high (B+).
       - The VCM commands the solenoid OFF and the voltage input remains low (0 volts).

Action Taken When the DTC Sets

    • The VCM illuminates the Malfunction Indicator Lamp (MIL).
    • The VCM commands a soft landing to third gear.
    • The VCM commands maximum line pressure.
    • The VCM inhibits TCC engagement.
    • The VCM inhibits 4th gear if the transmission is in hot mode.
    • The VCM freezes shift adapts from being updated.
    • DTC P0785 stores in VCM history.

Conditions for Clearing the MIL/DTC

    • The VCM turns OFF the MIL after three consecutive trips without a failure reported.
    • A scan tool can clear the DTC from the VCM history. The VCM clears the DTC from the VCM history if the vehicle completes 40 warm-up cycles without a failure reported.
    • The VCM cancels the DTC default actions when the fault no longer exists and the ignition is OFF long enough in order to power down the VCM.

Diagnostic Aids

    • Inspect the wiring at the VCM, the transmission connector and all other circuit connecting points for the following conditions:
       - A bent terminal
       - A backed out terminal
       - A damaged terminal
       - Poor terminal tension
       - A chafed wire
       - A broken wire inside the insulation
       - Moisture intrusion
       - Corrosion
    • When diagnosing for an intermittent short or open condition, massage the wiring harness while watching the test equipment for a change.

Test Description

The item numbers below refer to the step numbers on the diagnostic table.

  1. This step tests the ability of the VCM to control the solenoid.

  2. This step tests for voltage to the solenoid.

  3. This step tests the ability of the VCM and the wiring to control the ground circuit.

  4. This step measures the resistance of the Automatic Transmission Wiring Harness Assembly (A/T Wiring Harness Assembly), and the 3-2 SS Valve Assembly.

DTC P0785 3-2 Shift Solenoid Valve Assembly Circuit -- Electrical

Step

Action

Value(s)

Yes

No

1

Were you sent here from the Powertrain On-Board Diagnostic (OBD) System Check?

--

Go to Step 2

Go to Powertrain On Board Diagnostic (OBD) System Check (4.3L) or Powertrain On Board Diagnostic (OBD) System Check (5.0L, 5.7L) in Engine Controls

2

  1. Install the Scan Tool .
  2. With the engine OFF, turn the ignition switch to the RUN position.
  3. Important: Before clearing the DTC(s), use the Scan Tool in order to record the Freeze Frame and Failure Records for reference. Using the Clear Info function will erase the stored Freeze Frame and Failure Records from the VCM.

  4. Record the DTC Freeze Frame and Failure Records, then clear the DTC(s).

Are DTCs P0740, P0753, P0758 and P1860 also set?

--

Go to Step 3

Go to Step 4

3

  1. Inspect the TRANS fuse.
  2. If the fuse is open, inspect the following components for a short to ground:
  3. • Circuit 1020 (PNK)
    • The solenoids
    • The A/T Wiring Harness Assembly
  4. Repair the circuit, the solenoids, and the harness if necessary. Refer to General Electrical Diagnosis in Wiring Systems.

Did you find a short to ground condition?

--

Go to Step 16

Go to Step 5

4

Using the transmission output control function on the Scan Tool , command the 3-2 SS Valve Assembly ON and OFF three times, while listening to the bottom of the transmission pan (a stethoscope may be necessary).

Does the solenoid click when commanded?

--

Go to Diagnostic Aids

Go to Step 5

5

  1. Turn the ignition OFF.
  2. Disconnect the transmission 20-way connector (additional DTCs will set).
  3. Install the J 39775 Jumper Harness on the engine side of the 20-way connector.
  4. With the engine OFF, turn the ignition switch to the RUN position.
  5. Connect a test lamp from J 39775 Jumper Harness cavity E to ground.
  6. Refer to Automatic Transmission Inline Harness Connector End View .

Does the test lamp illuminate?

--

Go to Step 7

Go to Step 6

6

Repair the open or short to ground in ignition feed circuit 1020 (PNK) to the 3-2 SS Valve Assembly.

Refer to Wiring Repairs in Wiring Systems.

Did you find and correct an open or short to ground condition?

--

Go to Step 16

--

7

  1. Install a test lamp between cavity E and cavity S of the J 39775 Jumper Harness.
  2. Using the transmission output control function on the Scan Tool , command the 3-2 SS Valve Assembly ON and OFF three times.

Does the test lamp illuminate when you command the shift solenoid ON, and turn OFF when you command OFF?

--

Go to Step 10

Go to Step 8

8

  1. Inspect circuit 687 (WHT) of the engine wiring harness for an open, short to ground or short to power.
  2. Refer to General Electrical Diagnosis  in Wiring Systems.

  3. Repair the circuit if necessary.
  4. Refer to Wiring Repairs in Wiring Systems.

Did you find an open, short to ground or short to power condition?

--

Go to Step 16

Go to Step 9

9

Replace the VCM.

Refer to VCM Replacement/Programming (4.3L) or VCM Replacement/Programming (5.0L, 5.7L) in Engine Controls.

Is the replacement complete?

--

Go to Step 16

--

10

  1. Install the J 39775 Jumper Harness on the transmission side of the 20-way connector.
  2. Using the J 39200 DMM and the J 35616-A Connector Test Adapter Kit, measure the resistance between the terminal E and terminal S of the J 39775 Jumper Harness.
  3. Refer to Automatic Transmission Inline Harness Connector End View .

Is the resistance within the specified range?

20-32 ohms

Go to Step 12

Go to Step 11

11

  1. Disconnect the A/T Wiring Harness Assembly from the 3-2 SS Valve Assembly.
  2. Measure the resistance of the 3-2 SS Valve Assembly.

Is the resistance within the specified range?

20-32 ohms

Go to Step 14

Go to Step 15

12

  1. Measure the resistance between terminal S and ground.
  2. Measure the resistance between terminal E and ground.

Are both measurements greater than the specified value?

250 K ohms

Go to Diagnostic Aids

Go to Step 13

13

  1. Disconnect the A/T Wiring Harness Assembly from the 3-2 SS Valve Assembly.
  2. Measure the resistance between the component's terminals and ground.

Are both readings greater than the specified value?

250 K ohms

Go to Step 14

Go to Step 15

14

Replace the A/T Wiring Harness Assembly.

Refer to Torque Converter Clutch Pulse Width Modulation Solenoid, Torque Converter Clutch Solenoid, and Wiring Harness .

Is the replacement complete?

--

Go to Step 16

--

15

Replace the 3-2 Shift Solenoid Valve Assembly.

Refer to Control and Shift Solenoids Replacement .

Is the replacement complete?

--

Go to Step 16

--

16

In order to verify your repair, perform the following procedure:

  1. Select DTC.
  2. Select Clear Info.
  3. Drive the vehicle in D3 or D4 and perform a 3-2 downshift. Ensure that the following conditions are met:
  4. • The VCM commands the 3-2 shift solenoid ON, and the voltage input drops to zero.
    • The VCM commands the 3-2 shift solenoid OFF, and the voltage input increases to B+.
    • All conditions are met for 5 seconds.
  5. Select Specific DTC.
  6. Enter DTC P0785.

Has the test run and passed?

--

System OK

Go to Step 1