GM Service Manual Online
For 1990-2009 cars only

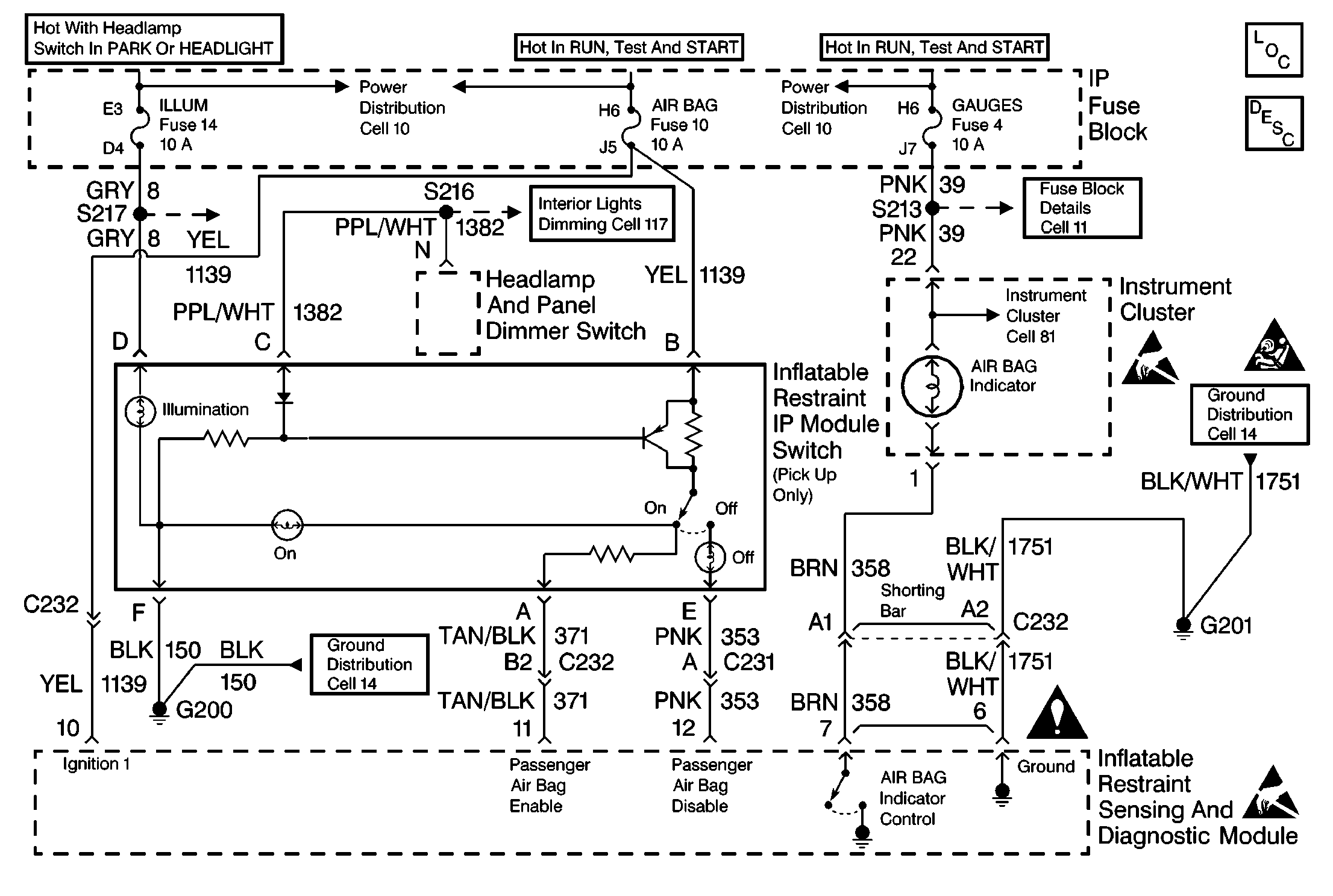
Object Number: 389891  Size: MF
SIR Components
SIR System Component Description and Definitions
General Service Instructions
Handling ESD Sensitive Parts Notice

Circuit Description

In the RUN position, the ignition switch applies battery voltage to the AIR BAG warning lamp and to the IGNITION 1 input terminal 10. The inflatable restraint sensing and diagnostic module responds by flashing the AIR BAG warning lamp 7 times. The inflatable restraint sensing and diagnostic module monitors the voltage levels at the PASSENGER AIR BAG ENABLE terminal 11 and PASSENGER AIR BAG DISABLE terminal 12 of the inflatable restraint sensing and diagnostic module to determine the position of the inflatable restraint IP module switch.

Conditions for Setting the DTC

    • The voltage detected at PASSENGER AIR BAG ENABLE terminal 11 and PASSENGER AIR BAG DISABLE terminal 12 are less than 1.0 volt when the AIR BAG ON lamp is commanded on.
    • The voltage detected at PASSENGER AIR BAG ENABLE terminal 11 and PASSENGER AIR BAG DISABLE terminal 12 are greater than 4.0 volts when the AIR BAG ON lamp is commanded OFF.
    • The voltage detected at PASSENGER AIR BAG ENABLE terminal 11 and PASSENGER AIR BAG DISABLE terminal 12 are greater than 1.0 volt when the AIR BAG OFF lamp is commanded ON.

Action Taken When the DTC Sets

    • The inflatable restraint sensing and diagnostic module (SDM) attempts to illuminate the AIR BAG OFF lamp.
    • The inflatable restraint IP module switch is defaulted to the disabled state.
    • The SDM sets a diagnostic trouble code.
    • The SDM turns ON the AIR BAG warning lamp.

Conditions for Clearing the DTC

    • Current DTC: The voltage at PASSENGER AIR BAG ENABLE terminal 11 is greater than 4.0 volts for 500 milliseconds and the voltage at PASSENGER AIR BAG DISABLE terminal 12 is less than 1.0 volts for 500 milliseconds when the AIR BAG ON lamp is commanded ON.
    • History DTC:
       - You issue a scan tool CLEAR CODES command.
       - After 250 malfunction free ignition cycles have occurred

Diagnostic Aids

Refer to AIR BAG Warning Lamp Comes On Steady and AIR BAG Warning Lamp Does Not Come On to diagnose warning lamp circuit malfunctions.

When measurements are requested in this table, use the J 39200 DMM with the correct terminal adapter from the J 35616 Connector Test Adapter Kit. When an inspection for proper connection is requested, refer to Testing for Electrical Intermittents in Wiring Systems. When a wire, connector or terminal repair is requested, use the J-38125 Terminal Repair Kit and refer to Wiring Repairs in Wiring Systems.

Test Description

The number(s) below refer to the step number(s) on the diagnostic table.

  1. This test determines if the correct voltage is being supplied to the SDM terminal 11 on CKT 371. When the IP switch is in the ON position the voltage should read HIGH on the scan tool. This also indicates a good 1139 circuit. A reading of LOW indicates either an open, high resistance, or ground in CKT 371 or CKT 1139.

  2. This test determines if the IP switch is receiving power on CKT 1139 and ground on CKT 150.

  3. This test isolates a bad IP switch from a bad ground through CKT 150. Since the passenger air bag enable is HIGH the IP switch is receiving power on CKT 1139.

  4. This test determines if the correct voltage is being supplied to the SDM terminal 12 on CKT 353. When the IP switch is in the ON position the voltage should read LOW. If the reading is HIGH a short to B+ on CKT 353 is indicated.

  5. This test determines if the correct voltage is being supplied to the SDM terminal 12 on CKT 353. When the IP switch is in the OFF position the voltage should read HIGH. After a brief delay, the SDM grounds the circuit in order to illuminate the air bag OFF lamp which causes the voltage to read LOW. If the voltage does not respond properly, an open, high resistance or grounded CKT 353, or a short to B+ on CKT 371 or a SDM unable to control the air bag OFF lamp is indicated. Diagnose a short to B+ on CKT 353 on this step.

  6. This test determines if the correct voltage is being supplied to the SDM terminal 11 on CKT 371. The voltage reads LOW when the IP switch is in the OFF position. If the reading is high a short to B+ is indicated on CKT 371.

  7. This test determines if the SDM passenger air bag OFF lamp driver command is being issued in an attempt to ground CKT 353. If the command is correct, an open of CKT 353 exists. If the command is not being issued, a short to B+ on CKT 371 or a faulty SDM is indicated.

  8. This test determines if the correct voltage is being supplied to the SDM terminal 11 on CKT 371. When the IP switch is in the OFF position the voltage should read LOW. A HIGH reading indicates a short to B+ on CKT 371 which would prevent the SDM from attempting to control the air bag OFF lamp.

  9. This test determines if a short to voltage exists on CKT 353. If CKT 353 is not shorted to B+, either a short to B+ on CKT 371 or a faulty SDM is indicated.

  10. This test determines if a short to voltage on CKT 353 is caused by a defective IP switch assembly or a wiring problem.

  11. This test determines if the correct voltage is being supplied to the SDM terminal 11 on CKT 371. When the IP switch is in the OFF position the voltage should read LOW. A HIGH reading indicated a short to B+ on CKT 371. A normal reading indicates a faulty SDM.

  12. This test determines if a short to voltage on CKT 371 is caused by a defective IP switch assembly or a wiring problem.

  13. This test determines if the correct voltage is being supplied to the SDM of terminal B CKT 17. IF CKT 1139 is receiving system voltage, when the IP switch is in the OFF position the voltage should read HIGH on CKT 353. After a brief delay, the SDM then grounds the circuit in order to illuminate the air bag OFF lamp which causes the voltage to read LOW.

  14. This test determines if the correct voltage is being supplied to the SDM terminal 11 on CKT 371. When the IP switch is in the ON position the voltage should read approximately battery voltage. A low reading indicated an open, high resistance, or a short to ground on CKT 371. A normal reading would indicate a faulty SDM.

  15. This test determines if a CKT 371 problem is caused by a defective IP switch assembly or a wiring problem.

  16. This test determines if the correct voltage is being supplied to the IP switch terminal B on CKT 1139. This will isolate a faulty IP switch from a wiring problem.

  17. This test determines if the correct voltage is being supplied to the SDM terminal 12 on CKT 353. When the IP switch is in the OFF position the voltage should read approximately battery voltage. If the voltage is low, an open, high resistance, or short to ground is indicated on CKT 353. If the voltage is normal a faulty SDM is indicated.

  18. This test determines if a CKT 353 problem is caused by a defective IP switch assembly or a wiring problem.

  19. This test determines if the SDM passenger air bag OFF lamp driver command is being issued in an attempt to ground CKT 353. Step 22 is only performed if the system has tested OK up to this point. If DTC B1054 is stored as current and the system is testing OK, a faulty SDM is indicated.

  20. A faulty connection caused by loose, damaged, or corroded terminals at the SDM could cause incorrect monitoring or control of the IP switch circuits by the SDM.

  21. A wiring problem has been diagnosed. The SIR system requires special wiring repair procedures due to the sensitive nature of the circuitry. Proper service procedures are essential. Refer to Wiring Repair for instructions.

  22. A faulty IP switch assembly has been diagnosed.

Step

Action

Value(s)

Yes

No

1

Was the SIR Diagnostic System Check performed?

--

Go to Step 2

Go to SIR Diagnostic System Check

2

  1. Turn the ignition switch to the OFF position.
  2. Turn the inflatable restraint IP module enable/disable switch assembly to the ON position.
  3. Connect a scan tool to the data link connector.
  4. Turn the ignition to the RUN position.
  5. Request the SIR data list display.

Does the passenger air bag enable parameter show the specified value?

HIGH

Go to Step 3

Go to Step 16

3

Note the air bag ON indicator lamp on the inflatable restraint IP module enable/disable switch assembly.

Is the air bag ON indicator lamp illuminated?

--

Go to Step 5

Go to Step 4

4

  1. Turn the ignition switch to the OFF position.
  2. Disconnect the inflatable restraint steering wheel module (C234) and inflatable restraint IP modules (C233) yellow 2-way connectors located near the base of the steering column.
  3. Remove the inflatable restraint IP module enable/disable switch assembly from the instrument panel. Refer to Inflatable Restraint Instrument Panel Module Disable Switch Replacement .
  4. Inspect the ground CKT 150, terminal F to G200 for opens or high resistance caused by loose, damaged, or corroded terminals or connections.

Was a problem found?

--

Go to Step 25

Go to Step 26

5

  1. Connect a scan tool to the data link connector.
  2. Ensure that the IP switch is in the ON position.
  3. Turn the ignition switch to the RUN position.
  4. Request the SIR data list display.

Does the passenger air bag disable parameter show the specified value?

LOW

Go to Step 6

Go to Step 10

6

  1. Place the ignition switch in the RUN position.
  2. Using a key blank or a key from a different vehicle turn the inflatable restraint IP module enable/disable switch assembly to the OFF position while monitoring passenger air bag disable.

Does the passenger air bag disable parameter show the specified value?

High for about one second then LOW

Go to Step 7

Go to Step 8

7

  1. Ensure that the IP switch is in the OFF position.
  2. Ensure that the ignition switch is in the RUN position.
  3. Request the SIR data list display.

Does the passenger air bag disable parameter show the specified value?

LOW

Go to Step 22

Go to Step 13

8

  1. Turn the ignition switch to the OFF position.
  2. Return the inflatable restraint IP module enable/disable switch assembly to the ON position.
  3. Turn the ignition to the RUN position.
  4. Request the SIR data list display.
  5. Using a key blank or a key from a different vehicle turn the inflatable restraint IP module enable/disable switch assembly to the OFF position while monitoring the suppression lamp driver on the scan tool.

Does the suppression lamp driver parameter show the specified value?

OFF for about one second then ON

Go to Step 20

Go to Step 9

9

  1. With the ignition switch in the RUN position.
  2. Ensure that the inflatable restraint IP module enable/disable switch is in the OFF position.
  3. Request the SIR data list display.

Does the passenger air bag enable parameter show the specified value?

LOW

Go to Sensing and Diagnostic Module Integrity Check

Go to Step 13

10

  1. Turn the ignition switch to the OFF position.
  2. Disconnect the inflatable restraint steering wheel module (C234) and the inflatable restraint IP modules (C233) yellow 2-way connectors located near the base of the steering column.
  3. Disconnect the SDM harness connector. Refer to Inflatable Restraint Sensing and Diagnostic Module Replacement .
  4. Ensure that the inflatable restraint IP module enable/disable switch is in the ON position.
  5. Turn the ignition switch to the RUN position.
  6. Use the DMM in order to measure the voltage from the SDM connector terminal 12, CKT 353 to ground.

Is the voltage greater than the specified value?

0 volts

Go to Step 11

Go to Step 13

11

  1. Turn the ignition switch to the OFF position.
  2. Remove the inflatable restraint IP module enable/disable switch assembly from the instrument panel. Ref Inflatable Restraint Instrument Panel Module Disable Switch Replacement .
  3. Disconnect the inflatable restraint IP module enable/disable switch assembly.
  4. Turn the ignition switch to the RUN position.
  5. Use the DMM in order to measure the voltage from the SDM connector terminal 12, CKT 353 to ground.

Is the voltage greater than the specified value?

0 volts

Go to Step 12

Go to Step 26

12

Inspect CKT 353 for a short to ground.

Was a problem found?

--

Go to Step 25

--

13

  1. Turn the ignition switch to the OFF position.
  2. Disconnect the inflatable restraint steering wheel module (C234) and the inflatable restraint modules (C233) yellow 2-way connectors located near the base of the steering column.
  3. Disconnect the SDM harness connector. Refer to Inflatable Restraint Sensing and Diagnostic Module Replacement .
  4. Ensure that the inflatable restraint IP module enable/disable switch assembly is in the OFF position.
  5. Turn the ignition switch to the RUN position.
  6. Use the DMM in order to measure the voltage from the SDM connector terminal 11, CKT 371 to ground.

Is the voltage greater than the specified value?

0 volts

Go to Step 14

Go to Step 23

14

  1. Turn the ignition switch to the OFF position.
  2. Remove the inflatable restraint IP module enable/disable switch assembly from the instrument panel. Refer to Inflatable Restraint Instrument Panel Module Disable Switch Replacement .
  3. Disconnect the inflatable restraint IP module enable/disable switch assembly.
  4. Turn the ignition switch to the RUN position.
  5. Use the DMM in order to measure the voltage from the SDM connector terminal 11, CKT 371 to ground.

Is the voltage greater than the specified value?

0 volts

Go to Step 15

Go to Step 26

15

Inspect CKT 371 for a short to voltage.

Was a problem found?

--

Go to Step 25

--

16

  1. Turn the ignition switch to the RUN position.
  2. Use a key blank or a key from a different vehicle in order to turn the inflatable restraint IP module enable/disable switch assembly to the OFF position while monitoring passenger air bag disable.

Does the passenger air bag disable parameter show the specified value?

HIGH for approximately one second

Go Step  17

Go to Step 19

17

  1. Turn the ignition switch to the OFF position.
  2. Disconnect the inflatable restraint steering wheel module (C234) and the inflatable restraint IP modules (C233) yellow 2-way connectors located near the base of the steering column.
  3. Disconnect the SDM harness connector. Refer to Inflatable Restraint Sensing and Diagnostic Module Replacement .
  4. Ensure that the inflatable restraint IP module enable/disable switch is in the ON position.
  5. Turn the ignition switch to the RUN position.
  6. Use a DMM in order to measure the voltage from the SDM connector terminal 11, CKT 371 to ground.

Is the voltage less than the specified value?

Near B+ System volts

Go to Step 18

Go to Step 22

18

  1. Turn the ignition switch to the OFF position.
  2. Remove the inflatable restraint IP module enable/disable switch assembly from the instrument panel. Refer to Inflatable Restraint Instrument Panel Module Disable Switch Replacement .
  3. Disconnect the inflatable restraint IP module enable/disable switch assembly.
  4. Inspect CKT 371 from IP switch terminal A to SDM terminal 11, CKT 371 for shorts to ground, opens or high resistance caused by loose, damaged, or corroded terminals or connections.

Was a problem found?

--

Go to Step 25

Go to Step 26

19

  1. Turn the ignition switch to the OFF position.
  2. Disconnect the inflatable restraint steering wheel module (C234) and the inflatable restraint IP modules (C233) yellow 2-way connectors located near the base of the steering column.
  3. Remove the inflatable restraint IP module enable/disable switch assembly from the instrument panel. Refer to Inflatable Restraint Instrument Panel Module Disable Switch Replacement .
  4. Disconnect the inflatable restraint IP module enable/disable switch assembly.
  5. Inspect CKT 1139 from IP switch terminal B to air bag fuse #10 for opens or high resistance caused by loose, damaged, or corroded terminals or connections.

Was a problem found?

--

Go to Step 25

Go to Step 26

20

  1. Turn the ignition switch to the OFF position.
  2. Disconnect the inflatable restraint steering wheel module (C234) and the inflatable restraint IP modules (C233) yellow 2-way connectors located near the base of the steering column.
  3. Disconnect the SDM harness connector. Refer to Inflatable Restraint Sensing and Diagnostic Module Replacement .
  4. Ensure that the inflatable restraint IP module enable/disable switch is in the OFF position.
  5. Turn the ignition switch to the RUN position.
  6. Use a DMM in order to measure the voltage from the SDM connector terminal 12, CKT 353 to ground.

Is the voltage greater than the specified value?

0 volts

Go to Step 23

Go to Step 21

21

  1. Turn the ignition switch to the OFF position.
  2. Remove the inflatable restraint IP module enable/disable switch assembly from the instrument panel. Refer to Inflatable Restraint Instrument Panel Module Disable Switch Replacement .
  3. Disconnect the inflatable restraint IP module enable/disable switch assembly.
  4. Inspect CKT 353 from the IP switch terminal E to SDM to terminal 12, CKT 353 for shorts to ground, opens or high resistance caused by loose, damaged, or corroded terminals or connections.

Was a problem found?

--

Go to Step 25

Go to Step 26

22

  1. Turn the ignition switch to the OFF position.
  2. Return the inflatable restraint IP module enable/disable switch assembly to the ON position.
  3. Turn the ignition to the RUN position.
  4. Request the SIR data list display.
  5. Use a key blank or a key from a different vehicle turn the inflatable restraint IP module enable/disable switch assembly to the OFF position while monitoring the suppression lamp driver on the scan tool.

Does the suppression lamp driver parameter show the specified value?

OFF for about one second then ON

Go to Step 23

Go to Sensing and Diagnostic Module Integrity Check

23

Inspect for high resistance caused by loose, damaged or corroded terminals or connections at the SDM.

Was problem found?

--

Go to Step 24

Go to Sensing and Diagnostic Module Integrity Check

24

Replace the harness connector at the SDM and the SDM as necessary. Refer to Wiring Repair.

Is the repair complete?

--

Go to Step 27

--

25

Repair the vehicle wiring as indicated. Refer to Wiring Repair for specific instructions for repair or replacement of SIR Connectors (Plastic Body and Terminal Metal Pin), SIR Wire Pigtail Repair, and SIR Wire Repair.

Is the repair complete?

--

Go to Step 27

--

26

  1. Turn the ignition switch to the OFF position.
  2. Replace inflatable restraint IP module enable/disable switch assembly.

Has the inflatable restraint IP module enable/disable switch assembly been replaced?

--

Go to Step 27

--

27

  1. Reconnect all SIR system components.
  2. Make sure all the SIR components are properly mounted.

Have all the SIR components been reconnected and properly mounted?

--

Go to Step 28

--

28

Clear all SIR DTC's (Diagnostic Trouble Codes).

Have all SIR DTCs been cleared?

--

Go to SIR Diagnostic System Check

--