GM Service Manual Online
For 1990-2009 cars only

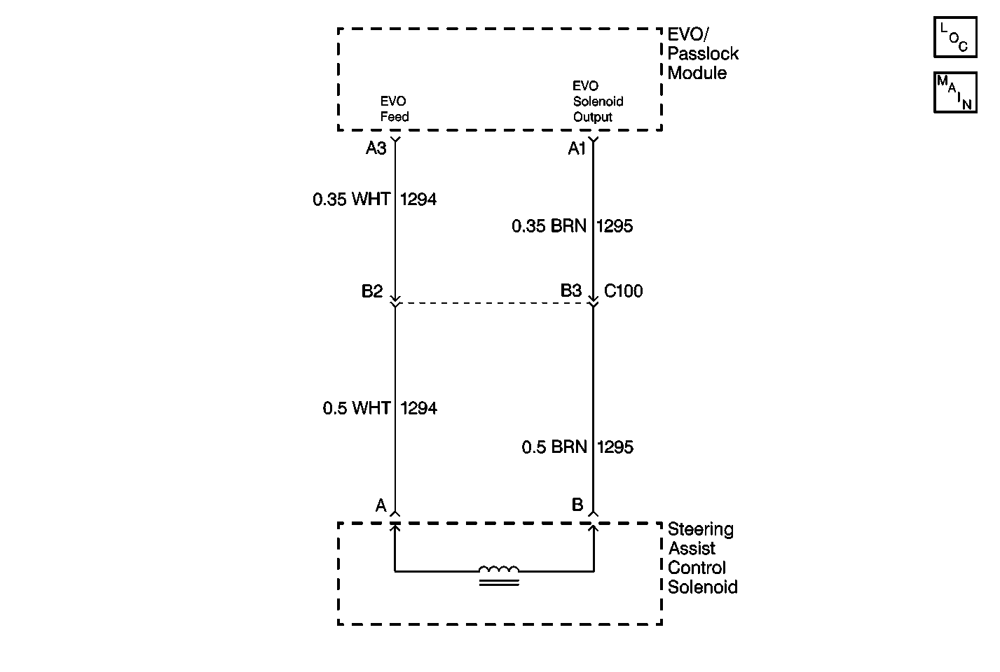
Object Number: 363969  Size: MF
Steering Controls Components
Variable Effort Steering

Circuit Description

The EVO/Passlock™ module supplies a 0-850 milliamperes pulse width modulation (PWM) (percent duty cycle) to the power steering solenoid actuator. This current is used in order to extend or retract the actuator valve inside the solenoid. This in turn will regulate an orifice on the power steering pump, causing a modulation of the fluid flow output. This results in an increase or a decrease in the steering wheel effort. With 0 milliampere supplied to the power steering solenoid actuator, the valve will be fully retracted, providing a maximum fluid flow and power steering assist. With 850 milliamperes supplied to the power steering solenoid actuator, the valve will extend, decreasing the fluid flow and minimizing the power steering assist. The EVO/Passlock™ module is constantly adjusting the current flow to the power steering solenoid actuator based on the vehicle speed and the rate of change of the steering wheel position. This provides the vehicle speed-related power steering assist.

Conditions for Setting the DTC

    •  There is an open or an open solenoid in CKT 1294 (WHT).
    • There is an open in CKT 1295 (BRN).
    • There is a short to ground on CKT 1295 (BRN) wire.
    • The ignition switch is cycled to the OFF position and then to the ON position.
    • The above conditions are present for one second or longer.

Action Taken When The DTC Sets

The EVO/Passlock™ module will not send any current to the power steering solenoid actuator. This will cause the retraction of the power steering solenoid actuator valve, providing maximum fluid flow and full power steering assist at all times.

Conditions For Clearing The DTC

    • A history DTC will clear after 100 consecutive ignition cycles have occurred without a fault.
    • The history and the current DTC can be cleared by using the scan tool.

Diagnostic Aids

    • The cause of an intermittent problem may be a poor connection, a break in the wire insulation exposing the internal wire, or a wire that is broken inside the insulation.
    • Thoroughly check the EVO/Passlock™ module and the vehicle control module (VCM) or the powertrain control module (PCM) for terminals that have backed out, broken locks, improperly formed or damaged terminals, weak terminal retaining tension, or improper routing.
    • The power steering solenoid actuator valve may be stuck. This provides incalculable power steering assist. For mechanical diagnosis, refer to Power Steering Gear and Pump.

Test Description

The numbers below refer to the step numbers on the diagnostic table.

  1. This step ensures that the Variable Effort Steering System Check is performed.

  2. This step determines if the CKT 1295 (BRN) wire is shorted to ground.

  3. This step determines if the CKT 1295 (BRN) wire is shorted to ground.

  4. This step determines if the steering assist control solenoid is open.

  5. This step determines if the CKT 1295 (BRN) wire is open.

  6. determines if the CKT 1294 (WHT) wire is open.

Step

Action

Value(s)

Yes

No

1

Was the Diagnostic System Check performed?

--

Go to Step 2

Go to Variable Effort Steering System Check

2

  1. Disconnect the steering assist solenoid connector.
  2. Connect a test lamp to B+.
  3. Probe the steering assist solenoid connector cavity B (BRN) harness side.

Does the test lamp light?

--

Go to Step 3

Go to Step 4

3

  1. Disconnect the 16-way EVO/Passlock™ module connector.
  2. Connect a test lamp to B+.
  3. Probe the steering assist solenoid connector cavity B (BRN) harness side.

Does the test lamp light?

--

Go to Step 8

Go to Step 7

4

Use a digital multimeter (DMM) in order to measure the resistance of the steering assist solenoid between terminals A and B.

Is the resistance within the specified value?

7-15V

Go to Step 5

Go to Step 9

5

  1. Disconnect the 16-way EVO/Passlock™ module connector.
  2. Use a DMM in order to check continuity between the module connector cavity A1 and the solenoid connector cavity B

Is there continuity?

--

Go to Step 6

Go to Step 10

6

Use a digital multimeter (DMM) in order to measure continuity of the steering assist solenoid between the module connector cavity A3 and the solenoid connector cavity A.

Is there continuity?

--

Go to Step 7

Go to Step 11

7

Replace the EVO/Passlock™ module. Refer to Theft Deterrent Module Replacement in Theft Deterrent.

Is the repair complete?

--

Go to Step 12

--

8

Repair the short to ground on CKT 1295 (BRN) wire.

Is the repair complete?

--

Go to Step 12

--

9

Replace the power steering solenoid actuator. Refer to Power Steering Solenoid Actuator and Discharge Fitting Replacement .

Is the repair complete?

--

Go to Step 12

--

10

Repair the open CKT 1295 (BRN) wire.

Is the repair complete?

--

Go to Step 12

--

11

Repair the open on the CKT 1294 (WHT) wire.

Is the repair complete?

--

Go to Step 12

--

12

  1. Install all of the removed connector and components.
  2. Clear all of the DTCs.

Is the repair complete?

--

Go to Variable Effort Steering System Check

--