GM Service Manual Online
For 1990-2009 cars only

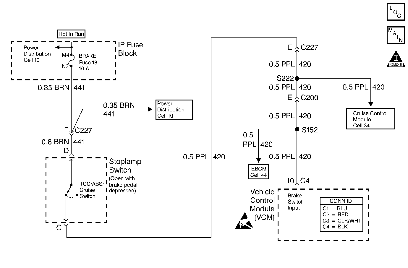
Object Number: 331472  Size: MF
Automatic Transmission Components
Automatic Transmission Controls Schematics
OBD II Symbol Description Notice
Handling ESD Sensitive Parts Notice

Circuit Description

The brake switch indicates brake pedal status to the vehicle control module (VCM). The brake switch is a normally-closed switch that supplies battery voltage on circuit 420 to the VCM. Applying the brake pedal opens the switch, interrupting voltage to the VCM. When the brake pedal is released, the VCM receives a constant voltage signal. If the VCM receives a zero voltage signal at the brake switch input, and the torque converter clutch (TCC) is engaged, the VCM de-energizes the TCC solenoid valve. The VCM disregards the brake switch input for TCC scheduling if there is a brake switch circuit fault.

When the VCM detects a closed brake switch circuit (12 volts, high input) during decelerations, then DTC P0724 sets. DTC P0724 is a type D DTC.

Conditions for Running the DTC

    • No VSS assembly DTCs P0502 or P0503.
    • The ignition switch is in the RUN position.

Conditions for Setting the DTC

The VCM detects a closed brake switch circuit (12 volts) without changing for 2 seconds and the following events occur seven times:

    • The vehicle speed is greater than 32 km/h (20 mph) for 6 seconds;
    • then the vehicle speed is between 8-32 km/h (5-20 mph) for 4 seconds;
    • then the vehicle speed is less than 8 km/h (5 mph).

Action Taken When the DTC Sets

    • The VCM does not illuminate the malfunction indicator lamp (MIL).
    • The VCM stores DTC P0724 in VCM history.

Conditions for Clearing the DTC

    • A scan tool clears the DTC from VCM history.
    •  The VCM clears the DTC from VCM history if the vehicle completes 40 warm-up cycles without a non-emission-related diagnostic fault occurring.
    • The VCM cancels the DTC default actions when the fault no longer exists and the ignition switch is OFF long enough in order to power down the VCM.

Diagnostic Aids

    • Inspect the wiring at the VCM, the brake switch connector and all other circuit connecting points for the following conditions:
       - A backed out terminal
       - A damaged terminal
       - Reduced terminal tension
       - A chafed wire
       - A broken wire inside the insulation
       - Moisture intrusion
       - Corrosion
    • When diagnosing for an intermittent short or open condition, massage the wiring harness while watching the test equipment for a change.
    • Ask about the customer's driving habits. Ask about unusual driving conditions (e.g. stop and go, expressway, etc.).
    • Inspect the brake switch for proper mounting and operation.

Test Description

The numbers below refer to the step numbers on the diagnostic table.

  1. This step isolates the brake switch as a source for setting the DTC.

DTC P0724 Brake Switch Circuit High

Step

Action

Value(s)

Yes

No

1

Was the Powertrain On-Board Diagnostic (OBD) System Check performed?

--

Go to Step 2

Go to Powertrain On Board Diagnostic (OBD) System Check in Engine Controls

2

  1. Install the Scan Tool .
  2. With the engine OFF, turn the ignition switch to the RUN position.
  3. Important: Before clearing the DTC, use the scan tool in order to record the Failure Records. Using the Clear Info function erases the Failure Records from the VCM.

  4. Record the DTC Failure Records.
  5. Clear the DTC.
  6. Select TCC Brake Switch on the scan tool.
  7. Disconnect the brake switch connector from the brake switch.

Did the TCC Brake Switch status change from Closed to Open?

--

Go to Step 3

Go to Step 4

3

Replace the brake switch.

Refer to Stop Lamp Switch Replacement in Hydraulic Brakes.

Is the replacement complete?

--

Go to Step 6

--

4

    Important: The condition that affects this circuit may exist in other connecting branches of the circuit. Refer to Power Distribution Schematics in Wiring Systems for complete circuit distribution.

  1. Inspect circuit 420 (PPL) for a short to B+ condition.
  2. Refer to General Electrical Diagnosis in Wiring Systems.

  3. Repair the circuit if necessary.
  4. Refer to Wiring Repairs in Wiring Systems.

Did you find a short to B+ condition?

--

Go to Step 6

Go to Step 5

5

Replace the VCM.

Refer to VCM Replacement/Programming in Engine Controls.

Is the replacement complete?

--

Go to Step 6

--

6

Perform the following procedure in order to verify the repair:

  1. Select DTC.
  2. Select Clear Info.
  3. With the engine OFF, turn the ignition switch to the RUN position.
  4. Apply and release the brake pedal.
  5. Verify that the scan tool TCC Brake Switch status indicates Open (0 volts) for 2 seconds.
  6. Select Specific DTC.
  7. Enter DTC P0724.

Has the test run and passed?

--

System OK

Go to Step 1