GM Service Manual Online
For 1990-2009 cars only

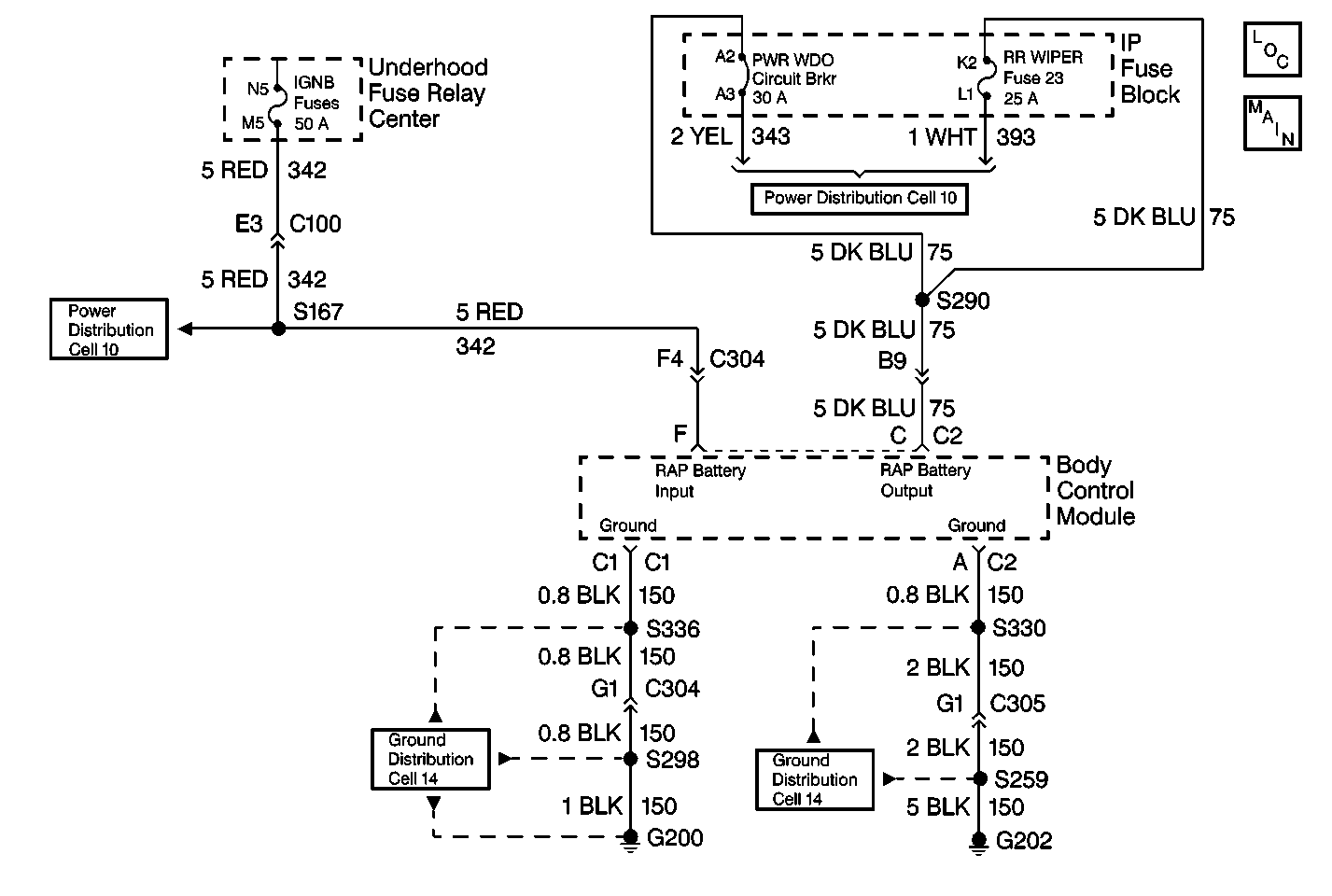
Object Number: 337141  Size: MF

Circuit Description

The body control module (BCM) retained accessory power (RAP) function is enabled when the ignition switch is turned to the RUN position. The RAP allows the operation of the following components for up to 10 minutes after the ignition switch is turned to the OFF position:

    • The power windows
    • The power door locks
    • The radio
    • The front and rear wipers

The RAP is immediately disabled if any door is opened. The BCM provides the RAP function through CKT 75 to the following components:

    • The PWR WDO circuit breaker A in the IP fuse block
    • RADIO Fuse 17 in the IP fuse block
    • The WIPER Fuse 11 in the IP fuse block
    • The RR WIPER Fuse 23 in the IP fuse block

Conditions for Setting the DTC

    • CKT 75 is shorted to B+ while the RAP is disabled for more than 50 milliseconds.
    • CKT 342 is open between splice 167 and BCM with ignition on.

Action Taken When the DTC Sets

    • DTC 23 will set.
    • The RAP feature will not function if CKT 75 is shorted to the ground.
    • The RAP feature will not deactivate when the door is opened if CKT 75 is shorted to B+.
    • The BCM will read out a series of flash codes upon entering the diagnostic mode.

Conditions for Clearing the MIL/DTC

The fault is corrected and the DTC memory clearing procedure is completed.

Diagnostic Aids

If the only DTC that flashes is a history code (DTC 32), the problem may be intermittent. Perform the test shown while "wiggling" the wiring and connectors. This can often cause the fault to appear. Test for a poor connections at the BCM connector, which could cause an open or an intermittent fault. Refer to Intermittent/History DTCs.

RAP Inoperative

Step

Action

Value(s)

Yes

No

1

With a test light check for voltage at connector C2 cavity F.

Does test lamp light?

--

Go to Step  3

Go to Step  2

2

Check for an open in CKT 342 between BCM and IGNB fuse in underhood fuse relay center

Was a repair made?

--

System OK

--

3

Cycle ignition to enter RAP mode, with a test light check for voltage at connector C304 cavity B9.

Does test lamp light?

--

Go to Step 4

Go to Step 5

4

With a test light check for voltage at RR WIPER fuse 23.

Does test lamp light?

--

System OK

Go to Step 7

5

With a test light check for voltage at BCM connector C2 cavity C.

Does test lamp light?

--

Go to Step 6

Go to Step 8

6

Repair open between BCM connector C2 cavity C and connector C304.

Is repair complete?

--

System OK

--

7

Check for an open in CKT 75 between connector C304 and IP fuse block.

Is repair complete?

--

System OK

--

8

Replace BCM.

Is repair complete?

--

System OK

--

RAP Inactive

Step

Action

Value(s)

Yes

No

1

With the ignition in the off position, open the door.

Is RAP active?

--

Go to Step  2

System OK

2

Disconnect connector C304 and with a digital multimeter (DMM) check for voltage at cavity B9 of console side of connector C304.

Is voltage present?

--

Go to Step  3

Go to Step  4

3

Check for short to voltage in CKT 75 between BCM and connector C304.

Was a repair made?

--

System OK

Go to Step  6

4

With a DMM check for voltage on IP side of connector C304 at cavity B9.

Is voltage present?

--

Go to Step  5

System OK

5

Repair short to voltage between connector C304 and IP fuse block.

Is the repair complete?

--

System OK

--

6

Replace BCM.

Is the repair complete?

--

System OK

--