GM Service Manual Online
For 1990-2009 cars only

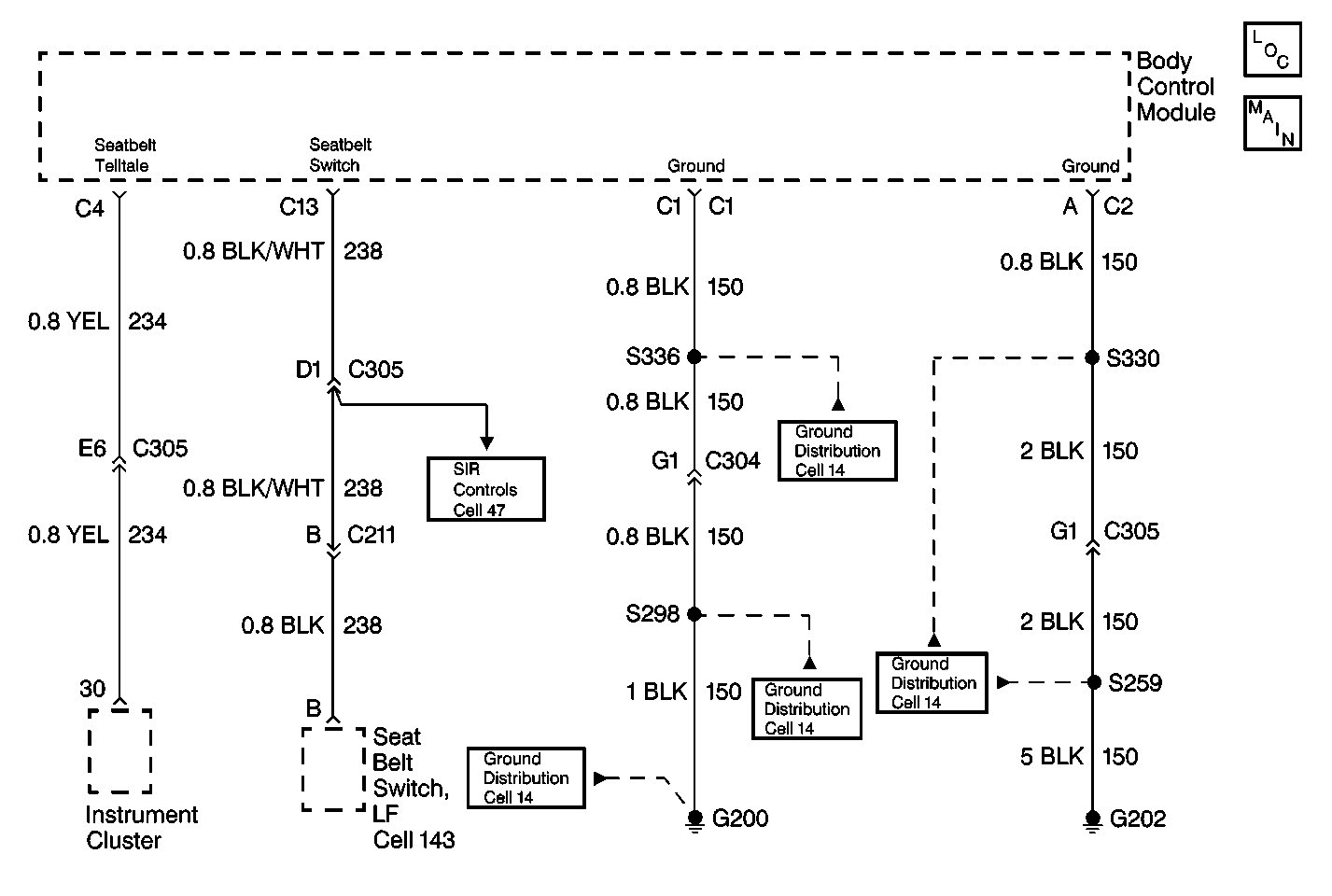
Object Number: 337142  Size: MF

Circuit Description

The body control module (BCM) provides a 12 volt output to the fasten seatbelt indicator lamp on the instrument cluster while the driver's seatbelt is unfastened.

Conditions for Setting the DTC

The fasten seatbelt output has been detected by the BCM to be shorted to the ground, or shorted to B+ for greater than 50 milliseconds.

Action Taken When the DTC Sets

    • DTC 24 will set.
    • The fasten seatbelt indicator lamp will not illuminate when the ignition is in the ON position and the driver's seatbelt is not fastened.

Conditions for Clearing the MIL/DTC

The fault is corrected and the DTC memory clearing procedure is completed.

Diagnostic Aids

If the only DTC that flashes is a history code (DTC 32), the problem may be intermittent. Perform the test shown while "wiggling" the wiring and connectors. This can often cause the fault to appear. Test for poor connections at the BCM connector, which could cause an open or an intermittent fault. Refer to Intermittent/History DTCs.

Test Description

The number(s) below refer to the step number(s) on the diagnostic table.

  1. This step tests the fasten seatbelt indicator for operation with the body control module (BCM) disconnected, which would reveal a short to B+ in CKT 234.

  2. This step determines if there is a short to the ground in the instrument cluster.

  3. If the instrument cluster is OK, this step determines if CKT 234 is shorted to the ground or if the BCM is defective.

  4. If there is a short to B+, this step determines if the short is in the instrument cluster or in CKT 234.

Step

Action

Value(s)

Yes

No

1

  1. Disconnect the body control module (BCM) connector C1.
  2. Turn the ignition switch to the RUN position.

Is the fasten seatbelt indicator ON?

--

Go to Step  7

Go to Step  2

2

  1. Turn the ignition switch to the OFF position.
  2. Connect BCM connector C1.
  3. Remove the instrument cluster.
  4. Connect a test lamp from the instrument cluster connector cavity 30 to cavity 31.
  5. Unlatch the driver side seatbelt.
  6. Turn the ignition switch to the RUN position.

Does the test lamp light?

--

Go to Step  3

Go to Step 4

3

Service the instrument cluster. Refer to Instrument Panel.

Is the symptom still present?

--

Go to Step  4

System OK

4

  1. Place the ignition switch in the OFF position.
  2. Connect a test lamp from instrument cluster connector cavity 30 to B+.

Does the test lamp light?

--

Go to Step  5

Go to Step  6

5

Repair a short to the ground in CKT 234.

Is the symptom still present?

--

Go to Step  6

System OK

6

Replace the BCM.

Is the repair complete?

--

Go to Step  7

System OK

7

  1. Remove the instrument cluster.
  2. Connect a test lamp from instrument cluster connector cavity 30 to the ground.

Is the test lamp ON?

--

Go to Step  8

Go to Step  9

8

Repair a short to B+ in CKT 234.

Is the symptom still present?

--

Go to Step  9

System OK

9

Service the instrument cluster. Refer to Instrument Panel.

Is the repair complete?

--

System OK

--