GM Service Manual Online
For 1990-2009 cars only

Torsion Bar and Support Assembly Replacement S4WD-All Except 4 Door Utility

Removal Procedure

Tools Required

J 36202 Torsion Bar Unloading/Loading Tool

  1. Raise the vehicle. Refer to Lifting and Jacking the Vehicle in General Information.

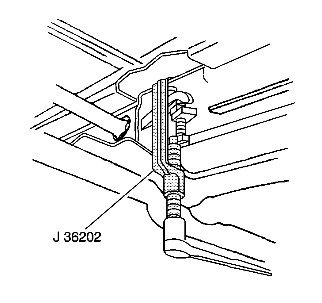
  2. Object Number: 141835  Size: SH
  3. Remove the adjustment assemblies on both torsion bars.
  4. 2.1. Mark the adjustment bolt setting.
    2.2. Using the J 36202 , increase the tension on the adjustment arm.
    2.3. Remove the adjustment bolt and the retaining plate.
    2.4. Move the tool aside.
    2.5. Slide the torsion bars forward.
    2.6. Remove the adjustment arms.

    Object Number: 157033  Size: SH
  5. Remove the nuts and the bolts from the torsion bar support crossmember. Slide the support crossmember rearward.
  6. Remove the torsion bars. Note the location and the front ends of the torsion bars. The left side and the right side torsion bars are different.
  7. Remove the support crossmember.
  8. Remove the retainer, the spacer, and the insulator from the support crossmember.

Installation Procedure


    Object Number: 157033  Size: SH
  1. Install the insulator, the spacer, and the retainer on the support crossmember.
  2. Install the support crossmember assembly on the frame, rearward of the mounting holes.
  3. Install the torsion bars.
  4. 3.1. Make sure the bars are installed on the proper sides.
    3.2. Slide the support crossmember forward until the torsion bars are supported.
  5. Install the adjustment arms on the torsion bars.
  6. Notice: Use the correct fastener in the correct location. Replacement fasteners must be the correct part number for that application. Fasteners requiring replacement or fasteners requiring the use of thread locking compound or sealant are identified in the service procedure. Do not use paints, lubricants, or corrosion inhibitors on fasteners or fastener joint surfaces unless specified. These coatings affect fastener torque and joint clamping force and may damage the fastener. Use the correct tightening sequence and specifications when installing fasteners in order to avoid damage to parts and systems.

  7. Install the bolts and the nuts into the torsion bar support crossmember.
  8. Tighten

    1. Tighten the center nut to 24 N·m (18 lb ft).
    2. Tighten the edge nuts to 62 N·m (46 lb ft).
  9. Install the adjustment retainer plate and the bolt on both torsion bars.

  10. Object Number: 141835  Size: SH
  11. Using the J 36202 , increase the tension on the torsion bar.
  12. Install the retaining plate and the adjustment bolt.

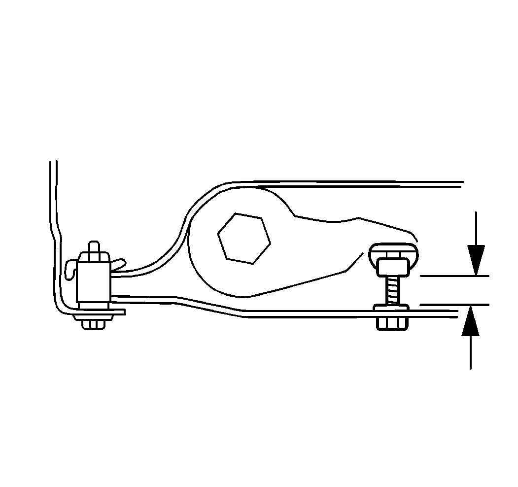
  13. Object Number: 157032  Size: SH
  14. Set the adjustment bolt to 34 mm (1.3 in).
  15. Release the tension on the torsion bar until the load is taken up by the adjustment bolt.
  16. Remove the J 36202 .
  17. Lower the vehicle.
  18. Check the Z height. Refer to Trim Height Inspection in Suspension General Diagnosis.
  19. Check the front wheel alignment. Refer to Wheel Alignment Measurement in Wheel Alignment.

Torsion Bar and Support Assembly Replacement S4WD-4 Door Utility

Removal Procedure

Tools Required

J 36202 Torsion Bar Unloading/Loading Tool

  1. Raise the vehicle. Refer to Lifting and Jacking the Vehicle in General Information.

  2. Object Number: 157030  Size: SH
  3. Remove the adjustment assemblies on both torsion bars.
  4. 2.1. Mark the adjustment bolt setting.
    2.2. Using the J 36202 , increase the tension on the adjustment arm.
    2.3. Remove the adjustment bolt and the retaining plate.
    2.4. Using the J 36202 , decrease the tension on the adjustment arm.
    2.5. Move the tool aside.
    2.6. Slide the torsion bars forward.
    2.7. Remove the adjustment arms.
  5. Remove the nuts and the bolts from the torsion bar support crossmember link assembly.
  6. Remove the torsion bars. Note the location and the front ends of the torsion bars. The left side and the right side torsion bars are different.
  7. Remove the support crossmember.
  8. Remove the link assembly from the support crossmember.

Installation Procedure


    Object Number: 157030  Size: SH
  1. Install the link assembly on the support crossmember.
  2. Install the support crossmember assembly to the frame, rearward of the mounting holes.
  3. Install the torsion bars.
  4. 3.1. Make sure the bars are installed on the proper sides.
    3.2. Slide the support crossmember forward until the torsion bars are supported.
  5. Install the adjustment arms on the torsion bars.
  6. Notice: Use the correct fastener in the correct location. Replacement fasteners must be the correct part number for that application. Fasteners requiring replacement or fasteners requiring the use of thread locking compound or sealant are identified in the service procedure. Do not use paints, lubricants, or corrosion inhibitors on fasteners or fastener joint surfaces unless specified. These coatings affect fastener torque and joint clamping force and may damage the fastener. Use the correct tightening sequence and specifications when installing fasteners in order to avoid damage to parts and systems.

  7. Install the bolts and the nuts into the torsion bar support crossmember link assembly.
  8. Tighten
    Tighten the link assembly nuts to 125 N·m (92 lb ft).


    Object Number: 157031  Size: SH
  9. Install the adjustment retainer plate and the bolt on both torsion bars.
  10. Using the J 36202 , increase the tension on the torsion bar.
  11. Install the retaining plate and the adjustment bolt.
  12. Set the adjustment bolt to 34 mm (1.3 in).
  13. Release the tension on the torsion bar until the load is taken up by the adjustment bolt.
  14. Remove the J 36202 .
  15. Lower the vehicle.
  16. Check the Z height. Refer to Trim Height Inspection in Suspension General Diagnosis.
  17. Check the front wheel alignment. Refer to Wheel Alignment Measurement in General Information.