GM Service Manual Online
For 1990-2009 cars only
Makes
🢒
Chevrolet
🢒
2000
🢒
Chevy C Pickup - 2WD
🢒
Suspension
🢒
Rear Suspension
🢒 Rear Suspension Components
Figure
1:
Axle Attaching Components (C 3500HD)
(1)
U-bolt
(2)
Bolt
(3)
Washer
(4)
Shackle
(5)
Washer
(6)
Nut
(7)
Spring Assembly
(8)
Washer
(9)
Nut
(10)
Washer
(11)
Anchor Plate
(12)
Spacer
(13)
Bolt
(14)
Washer
(15)
Front Bracket
(16)
Washer
(17)
Nut
(18)
Spring Pad
Figure
2:
Stabilizer Shaft and Components (C 3500HD)
(1)
U-Bolt
(2)
Clamp
(3)
Insulator
(4)
Stabilizer Shaft
(5)
Nut
(6)
Insulator
(7)
Stabilizer Kit Bolt
(8)
Insulator
(9)
Spacer
(10)
Insulator
(11)
Nut
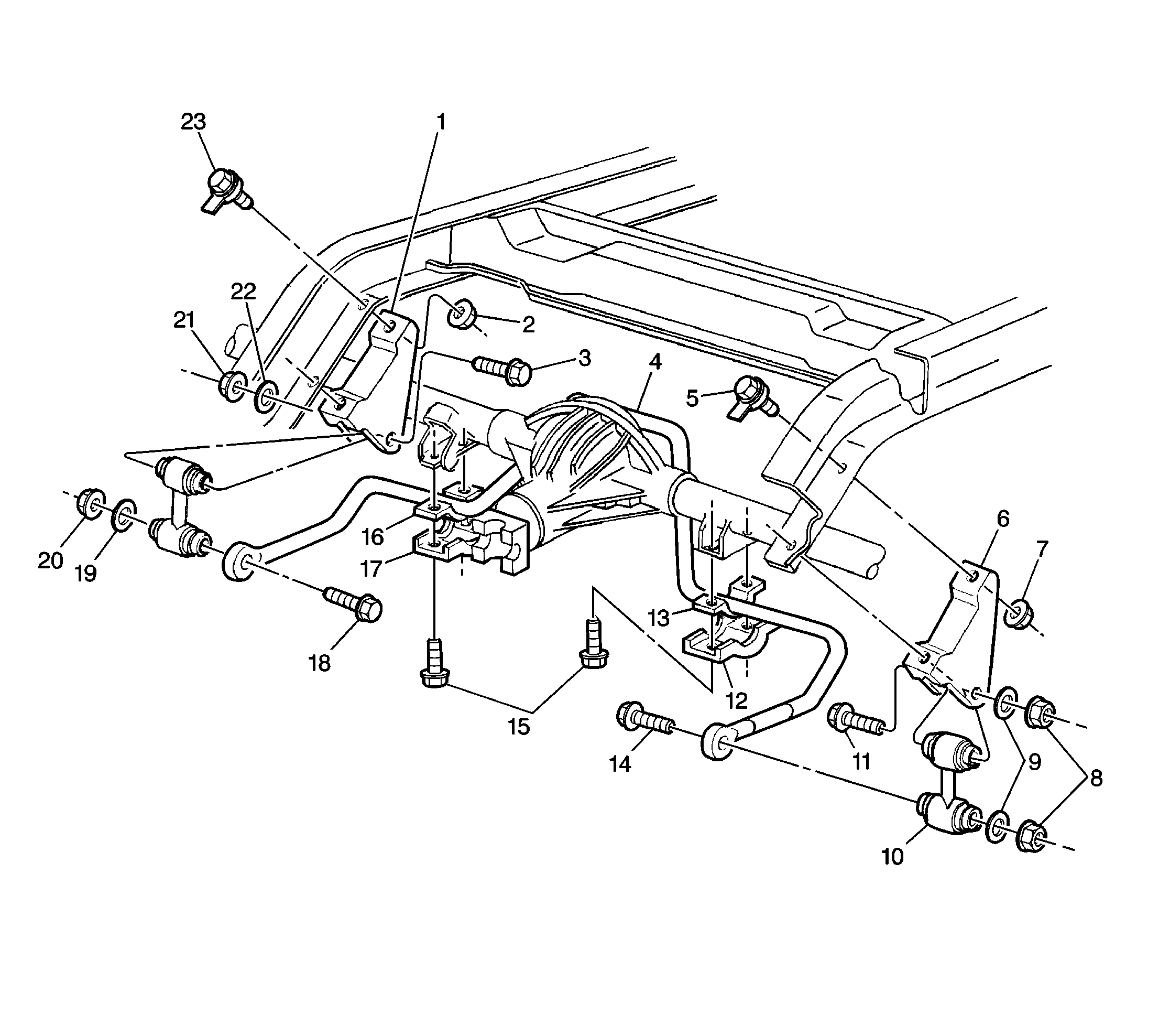
Figure
3:
Stabilizer Shaft and Components (C/K 3)
(1)
Bracket
(2)
Nut
(3)
Bolt/Screw
(4)
Stabilizer Shaft
(5)
Bolt/Screw
(6)
Bracket
(7)
Nut
(8)
Nut
(9)
Washer
(10)
Stabilizer Link
(11)
Bolt/Screw
(12)
Clamp
(13)
Insulator
(14)
Bolt/Screw
(15)
Bolt/Screw
(16)
Insulator
(17)
Clamp
(18)
Bolt/Screw
(19)
Washer
(20)
Nut
(21)
Nut
(22)
Washer
(23)
Bolt/Screw