GM Service Manual Online
For 1990-2009 cars only

Tools Required

    • J 25025-5
    • J 36850

Removal Procedure


    Object Number: 14464  Size: SH
  1. Remove the accumulator cover bolts.
  2. Remove the 1-2 accumulator cover and pin, piston, and springs.

  3. Object Number: 475752  Size: SH
  4. Remove the 1-2 accumulator inner (3) and outer (2) piston spring.
  5. Remove the 1-2 accumulator piston (1).

  6. Object Number: 475877  Size: SH
  7. Remove the 1-2 accumulator piston oil seal ring (1) from the 1-2 accumulator piston (2).

  8. Object Number: 475689  Size: SH
  9. If required, remove the checkball (1) from the valve body (2).

  10. Object Number: 14468  Size: SH
  11. Remove the oil pass cover bolts.
  12. Remove the oil pass cover.

  13. Object Number: 14469  Size: SH
  14. Remove the spacer plate, case gasket, and valve body gasket from the valve body.

  15. Object Number: 475750  Size: SH
  16. Check the solenoid screens (1 and 2) on the spacer plate for damage or debris.
  17. Replace the solenoid screens if necessary.


    Object Number: 475683  Size: SH
  18. Remove the 3-4 accumulator spring (1) from the valve body (3).
  19. Remove the 3-4 accumulator piston (2) from the valve body (3).
  20. Remove the accumulator pin (4) from the valve body (3).

  21. Object Number: 475673  Size: SH
  22. Remove the 3-4 accumulator piston oil ring seal from the 3-4 accumulator piston (2).
  23. Remove the remaining control valve body if required. Refer to Valve Body .

Installation Procedure

  1. Ensure the upper half of the control valve body is installed. Refer to Valve Body .

  2. Object Number: 475673  Size: SH
  3. Install the 3-4 accumulator piston oil ring seal (1) onto the 3-4 accumulator piston (2).

  4. Object Number: 475683  Size: SH
  5. Install the 3-4 accumulator pin (4) into the valve body (3).
  6. Install the 3-4 accumulator piston (2) onto the pin (4).
  7. Install the 3-4 accumulator piston spring (1).

  8. Object Number: 475689  Size: SH
  9. Install the checkball (1) into the valve body (2).
  10. Use a small amount of J 36850 in order to keep the checkball in the valve body.


    Object Number: 475696  Size: SH
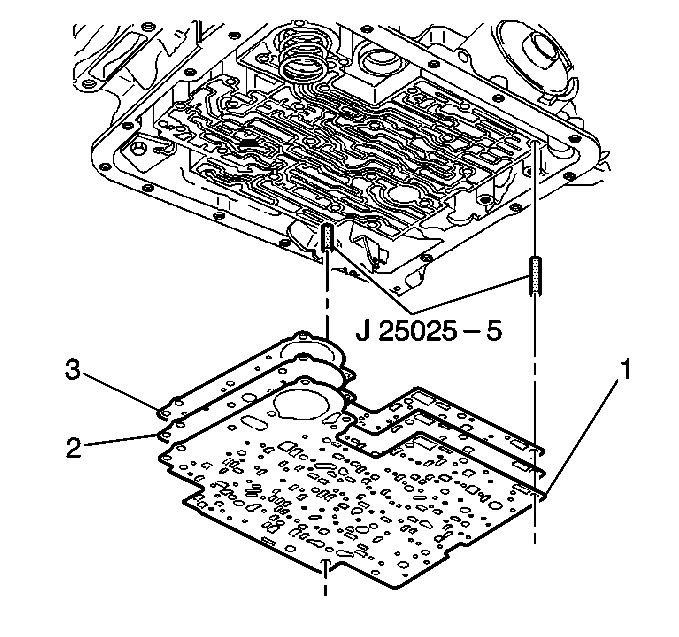
  11. Install the J 25025-5 into the valve body.
  12. Install the case gasket (3) and the valve body gasket (1) to the spacer plate (2). The case gasket is identified by a C. The valve body gasket is identified by a V.
  13. Use the J 36850 in order to retain the gasket (3) to the spacer plate (2).
  14. Install the spacer plate and the gaskets to the transmission case.
  15. Notice: Refer to Fastener Notice in the Preface section.


    Object Number: 14468  Size: SH
  16. Install the oil pass cover and the oil pass cover bolts.
  17. Tighten
    Tighten the bolts to 11 N·m (97 lb in).


    Object Number: 475877  Size: SH
  18. Install the 1-2 accumulator piston oil ring seal (1) onto the 1-2 accumulator piston (2).

  19. Object Number: 475752  Size: SH
  20. Install the 1-2 accumulator inner (3) and outer (2) springs into the accumulator housing (4).
  21. Install the 1-2 accumulator piston (1).

  22. Object Number: 14464  Size: SH
  23. Install the 1-2 accumulator cover and the cover bolts.
  24. Tighten
    Tighten the bolts to 11 N·m (97 lb in).

  25. Remove the J 25025-5 from the valve body.
  26. Install the remainder of the valve body. Refer to Valve Body .
  27. Important: It is recommended that the transmission adaptive pressure (TAP) information be reset.

    Resetting the TAP values using a scan tool will erase all learned values in all cells. As a result, the ECM, PCM or TCM will need to relearn the TAP values. Transmission performance may be affected as new TAP values are learned,

  28. Reset the TAP values. Refer to Adapt Function .