GM Service Manual Online
For 1990-2009 cars only
Makes
🢒
Chevrolet
🢒
2000
🢒
Chevy C Pickup - 2WD
🢒
HVAC
🢒
HVAC Systems - Manual
🢒 Cellular Communication Component Views
Figure
1:
Vehicle Communication Unit (VIU) & Vehicle Interface Unit (VIU)
(1)
IP Dash, Passenger Side
(2)
Crossbody Harness
(3)
Vehicle Interface Unit (VIU)
(4)
C250
(5)
C251
(6)
C252
(7)
GPS Antenna Cable
(8)
Vehicle Communications Unit (VCU)
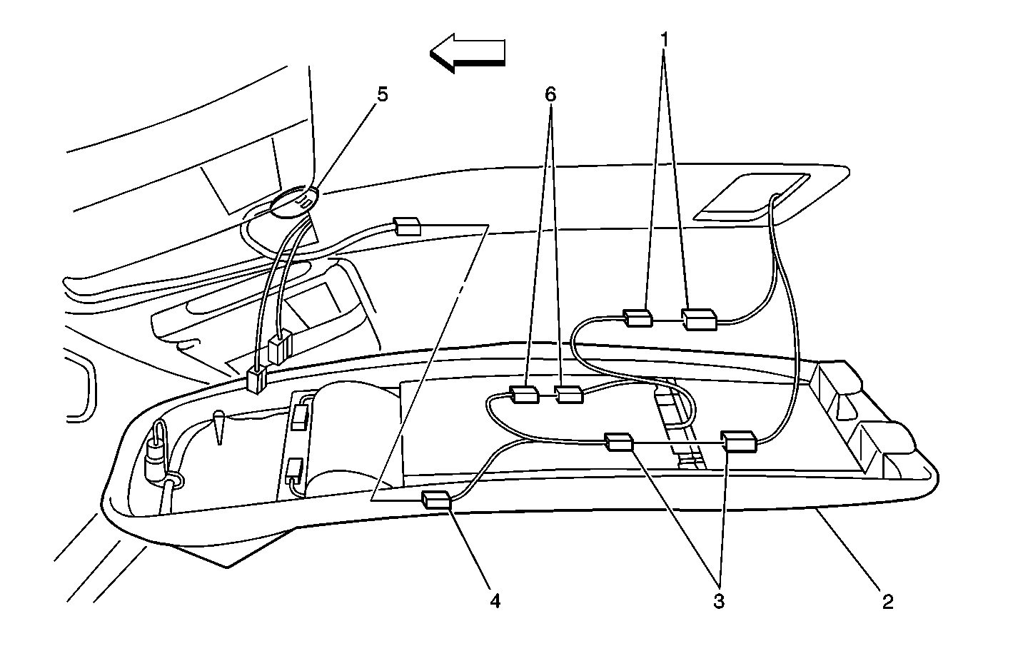
Figure
2:
Overhead Console Wiring, Escalade
(1)
C315
(2)
Overhead Console
(3)
C306
(4)
Microphone Connector
(5)
Microphone
(6)
Keypad Connector