GM Service Manual Online
For 1990-2009 cars only

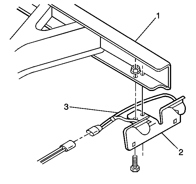
Rear License Plate Lamp Replacement W/ Step Bumper

Removal Procedure

  1. Make sure the headlamp switch is in the OFF position.

  2. Object Number: 277223  Size: SH
  3. Remove the license lamp (3) from the bumper.
  4. Remove the bulb (2).

Installation Procedure


    Object Number: 277223  Size: SH
  1. Install the bulb (2).
  2. Install the license lamp (3) to the bumper.
  3. Install the wiring (4) to the back of the license lamp assembly.

Rear License Plate Lamp Replacement W/O Step Bumper

Removal Procedure

  1. Make sure the headlamp switch is in the OFF position.

  2. Object Number: 277225  Size: MH
  3. Remove the license lamp from the bumper.
  4. Remove the bulb.

Installation Procedure


    Object Number: 277225  Size: MH
  1. Install the bulb.
  2. Install the license lamp to the bumper.
  3. Install the wiring to the back of the license lamp assembly.

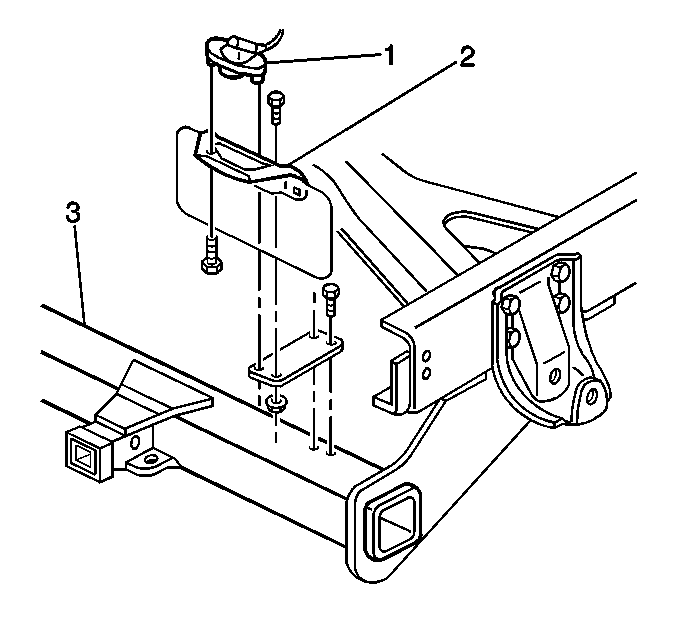
Rear License Plate Lamp Replacement Pickup W/ Platform Hitch

Removal Procedure

  1. Make sure the headlamp switch is in the OFF position.

  2. Object Number: 277227  Size: SH
  3. Remove the license lamp (2) from the bumper.
  4. Remove the bulb.

Installation Procedure


    Object Number: 277227  Size: SH
  1. Install the bulb.
  2. Install the license lamp (2) to the bumper.
  3. Install the wiring (1) to the back of the license lamp assembly.

Rear License Plate Lamp Replacement Cab/Chassis W/ Platform Hitch

Removal Procedure

  1. Make sure the headlamp switch is in the OFF position.

  2. Object Number: 277229  Size: SH
  3. Remove the license lamp (1) from the bumper.
  4. Remove the bulb.

Installation Procedure


    Object Number: 277229  Size: SH
  1. Install the bulb.
  2. Install the license lamp (1) to the bumper.
  3. Install the wiring to the back of the license lamp assembly.

Rear License Plate Lamp Replacement Pickup W/O Bumper

Removal Procedure

  1. Make sure the headlamp switch is in the OFF position.

  2. Object Number: 277232  Size: SH
  3. Remove the license lamp from the bumper (2).
  4. Remove the bulb.

Installation Procedure


    Object Number: 277232  Size: SH
  1. Install the bulb.
  2. Install the license lamp to the bumper (2).
  3. Install the wiring (3) to the back of the license lamp assembly.