GM Service Manual Online
For 1990-2009 cars only
Figure 1:

A/C Accumulator and Cycling Switch (Gas)


Object Number: 459128  Size: MF
(1)Manifold Air Temperature Sensor
(2)A/C Accumulator
(3)A/C Cycling Switch
(4)Underhood Lamp Harness
(5)Water Valve Actuator (Suburban/Utility Only)
(6)Heater Hoses
(7)P101
(8)Manifold Air Flow Sensor
Figure 2:

A/C Accumulator and Cycling Switch (Diesel)


Object Number: 374120  Size: MF
(1)A/C Accumulator
(2)A/C Cycling Switch
(3)G108
(4)P101
(5)Low Coolant Level Sensor Connector
(6)Engine Harness
(7)Coolant Reservoir
Figure 3:

A/C Pressure Switch


Object Number: 277982  Size: MF
(1)Throttle Position (TP) Sensor
(2)Idle Air Control (IAC) Valve Motor
(3)Engine Coolant Temperature Switch
(4)A/C High Pressure Cutout Switch
(5)A/C Pressure Switch
(6)A/C Compressor Clutch Connector
(7)Engine Coolant Temperature Sensor
(8)EGR Valve
Figure 4:

Front and Rear Auxiliary HVAC Control Modules (Overhead Console)


Object Number: 277977  Size: MF
(1)Auxiliary HVAC Control Logic Module
(2)Auxiliary HVAC Control Module, Rear
(3)Universal Transmitter Switches (ZM9/UG1)
(4)Reading Lamps Overhead Console
(5)Auxiliary HVAC Control Module, Front
Figure 5:

Auxiliary A/C Wiring


Object Number: 277976  Size: MF
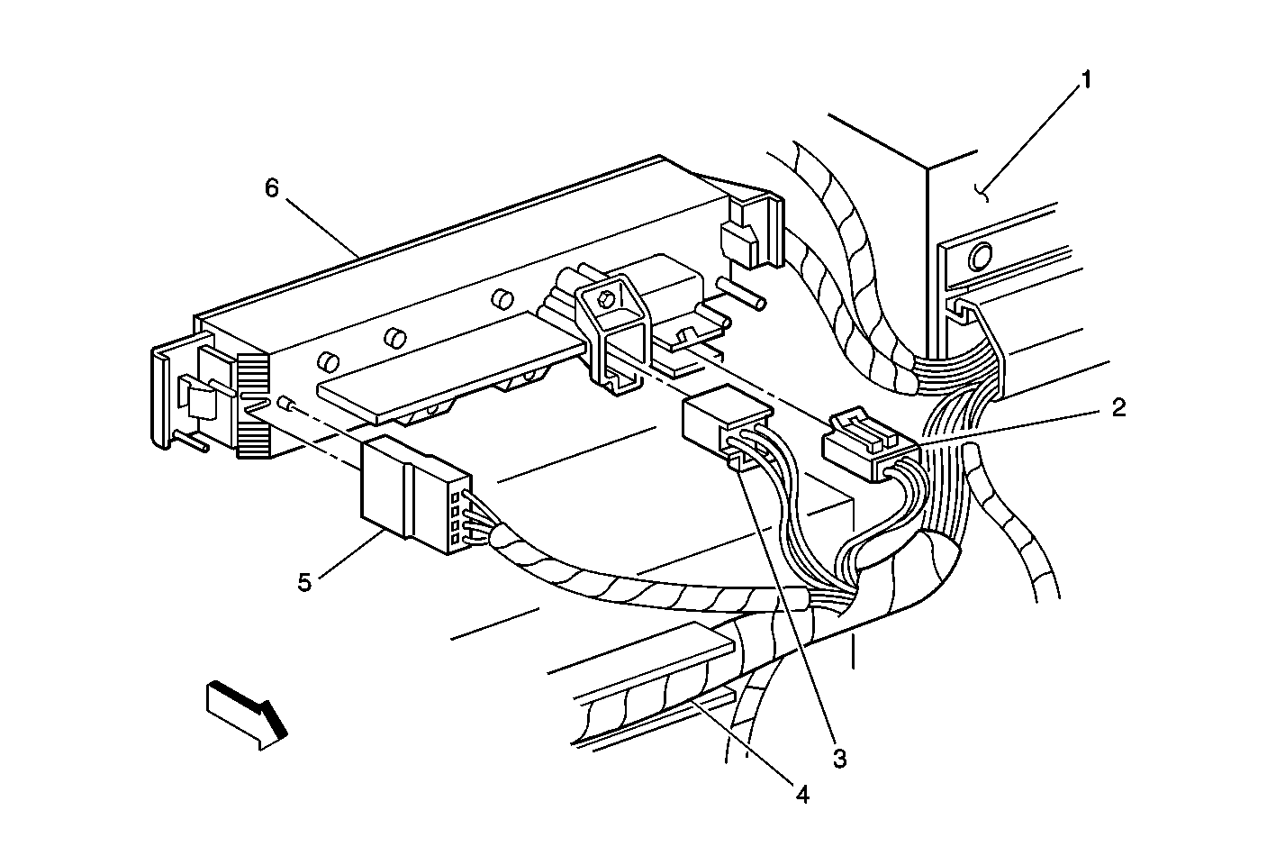
(1)Auxiliary HVAC Blower Relays; Low/Meduim/High
(2)C401
(3)C400
(4)Auxiliary Blower Motor
(5)Auxiliary Blower Resistor
(6)Auxiliary Temperature Door Motor
(7)Auxiliary Mode Door Motor
Figure 6:

HVAC Control Module (Rear View)


Object Number: 376153  Size: MF
(1)Dash
(2)HVAC Control Module Connector, C1
(3)HVAC Control Module Connector, C2
(4)IP Harness
(5)HVAC Control Module Connector, C3
(6)HVAC Control Module (Rear View)
Figure 7:

Front HVAC Assembly


Object Number: 372168  Size: MF
(1)Blower Resistor
(2)Blower Motor
(3)Blower Motor Connectors
(4)C230
(5)C203
(6)C204
(7)Temperature Door Motor
(8)HVAC Plenium
(9)Mode Door Motor
(10)HVAC Wiring Harness
(11)Blower Motor Relay, High