GM Service Manual Online
For 1990-2009 cars only

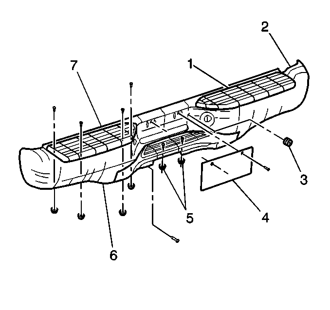
Rear Bumper Replacement Base/ Limited/ Z-71 Tahoe

Removal Procedure

  1. Remove the license plate lamp harness.

  2. Object Number: 265010  Size: SH
  3. Remove the brace to bumper nuts and bolt assemblies (10, 12).
  4. Remove the bracket to bumper nuts (4), washers and bolts (2, 8).

  5. Object Number: 265012  Size: SH
  6. Remove the bumper (6) from the vehicle.
  7. Remove the brace nuts, the washers, and the bolts.
  8. Remove the bracket nuts, the washers, and the bolts.
  9. Remove the braces and the brackets from the frame.

Installation Procedure


    Object Number: 265012  Size: SH
  1. Install the braces and the brackets to the frame.
  2. Ensure that the harness is in place, if used.

    Notice: Use the correct fastener in the correct location. Replacement fasteners must be the correct part number for that application. Fasteners requiring replacement or fasteners requiring the use of thread locking compound or sealant are identified in the service procedure. Do not use paints, lubricants, or corrosion inhibitors on fasteners or fastener joint surfaces unless specified. These coatings affect fastener torque and joint clamping force and may damage the fastener. Use the correct tightening sequence and specifications when installing fasteners in order to avoid damage to parts and systems.

  3. Install the brace nuts, washers, and bolts.
  4. Tighten
    Tighten the brace bolts (5, 8) to 90 N·m (66 lb ft).

  5. Install the bracket nuts, washers, and bolts.
  6. Tighten

        • Tighten the bracket bolts to 90 N·m (66 lb ft).
        • Tighten the front bracket nut to 47 N·m (35 lb ft).
  7. Install the bumper (6) to the vehicle.

  8. Object Number: 265010  Size: SH
  9. Install the bracket to bumper bolts, washers, and nuts.
  10. Align the bumper (6).
  11. Tighten
    Tighten the bracket to the bumper bolts to 90 N·m (66 lb ft).

  12. Install the brace (11) to bumper bolts (10, 12) and nuts.
  13. Tighten
    Tighten the brace to bumper bolts to 90 N·m (66 lb ft).

  14. Install the license plate lamp harness.

Rear Bumper Replacement Luxury

Removal Procedure

  1. Remove the license plate lamp harness.

  2. Object Number: 339938  Size: SH
  3. Remove the brace to bumper nuts and bolt (4) assemblies.
  4. Remove the frame to bumper nuts (1), washers and bolts.

  5. Object Number: 326622  Size: SH
  6. Remove the bumper (7) from the vehicle.
  7. Remove the brace nuts, the washers, and the bolts.
  8. Remove the braces and the brackets from the frame.

Installation Procedure


    Object Number: 326622  Size: SH
  1. Install the braces to the frame.
  2. Ensure that the license plate lamp harness is in place, if used.

    Notice: Use the correct fastener in the correct location. Replacement fasteners must be the correct part number for that application. Fasteners requiring replacement or fasteners requiring the use of thread locking compound or sealant are identified in the service procedure. Do not use paints, lubricants, or corrosion inhibitors on fasteners or fastener joint surfaces unless specified. These coatings affect fastener torque and joint clamping force and may damage the fastener. Use the correct tightening sequence and specifications when installing fasteners in order to avoid damage to parts and systems.

  3. Install the brace nuts, washers, and bolts.
  4. Tighten
    Tighten the brace bolts to 90 N·m (66 lb ft).

  5. Install the bumper (7) to the vehicle.

  6. Object Number: 339938  Size: SH
  7. Install the bracket to bumper bolts (4) , washers, and nuts.
  8. Align the bumper.
  9. Tighten
    Tighten the bracket to the bumper bolts to 90 N·m (66 lb ft).

  10. Install the brace to bumper bolts and nuts (1).
  11. Tighten
    Tighten the brace to bumper bolts to 90 N·m (66 lb ft).

  12. Install the license plate lamp harness.