GM Service Manual Online
For 1990-2009 cars only

Rear Seat Back Cushion Cover and Pad Replacement Utility

Removal Procedure

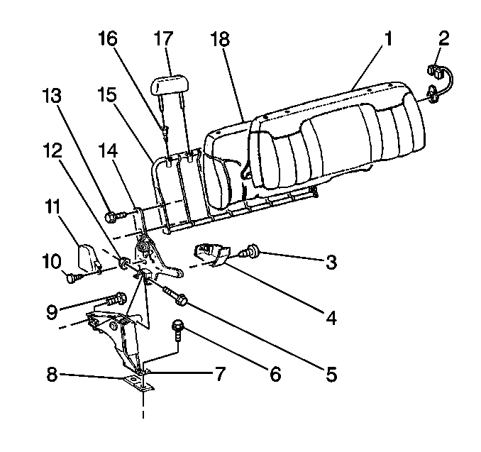
  1. Remove the armrest from the seat back. Refer to Rear Seat Armrest Replacement .

  2. Object Number: 276327  Size: MH
  3. Remove the headrests (10) from the seat back. Refer to Rear Seat Head Restraint Replacement .
  4. Release the bottom edge of the seat back cover (2).
  5. Release the hook and loop strips retaining the seat back cover to the seat back foam pad (1).
  6. To ease removal, place a piece of cardboard between the seat back cover and the foam pad.
  7. Working from side to side, carefully lift the seat back cover from the foam pad.

Installation Procedure

  1. Working from side to side, carefully install the seat back cover over the foam pad.

  2. Object Number: 276327  Size: MH
  3. Remove the cardboard from between the seat back cover (2) and the foam pad.
  4. Engage the hook and loop strips that retain the seat back cover to the seat back foam pad (1).
  5. Secure the bottom edge of the seat back cover.
  6. Install the headrests (10) to the seat back. Refer to Rear Seat Head Restraint Replacement .
  7. Install the armrest to the seat back. Refer to Rear Seat Armrest Replacement .

Rear Seat Back Cushion Cover and Pad Replacement Extended Cab

Removal Procedure

  1. Remove the armrest from the seat back. Refer to Rear Seat Armrest Replacement .

  2. Object Number: 276328  Size: SH
  3. Remove the headrests (17) from the seat back. Refer to Rear Seat Head Restraint Replacement .
  4. Release the bottom edge of the seat back cover.
  5. Release the hook and loop strips retaining the seat back cover to the seat back foam pad.
  6. To ease removal, place a piece of cardboard between the seat back cover and the foam pad.
  7. Working from side to side, carefully lift the seat back cover from the foam pad.

Installation Procedure

  1. Working from side to side, carefully install the seat back cover over the foam pad.

  2. Object Number: 276328  Size: SH
  3. Remove the cardboard from between the seat back cover and the foam pad.
  4. Engage the hook and loop strips that retain the seat back cover to the seat back foam pad.
  5. Secure the bottom edge of the seat back cover.
  6. Install the headrests (17) to the seat back. Refer to Rear Seat Head Restraint Replacement .
  7. Install the armrest to the seat back. Refer to Rear Seat Armrest Replacement .

Rear Seat Back Cushion Cover and Pad Replacement Crew Cab

Removal Procedure

  1. Remove the armrest from the seat back. Refer to Rear Seat Armrest Replacement .

  2. Object Number: 276332  Size: LH
  3. Remove the headrests (3) from the seat back. Refer to Rear Seat Head Restraint Replacement .
  4. Release the bottom edge of the seat back cover.
  5. Release the hook and loop strips retaining the seat back cover to the seat back foam pad.
  6. To ease removal, place a piece of cardboard between the seat back cover and the foam pad.
  7. Working from side to side, carefully lift the seat back cover from the foam pad.

Installation Procedure

  1. Working from side to side, carefully install the seat back cover over the foam pad.

  2. Object Number: 276332  Size: LH
  3. Remove the cardboard from between the seat back cover and the foam pad.
  4. Engage the hook and loop strips that retain the seat back cover to the seat back foam pad.
  5. Secure the bottom edge of the seat back cover.
  6. Install the headrests (3) to the seat back. Refer to Rear Seat Head Restraint Replacement .
  7. Install the armrest to the seat back. Refer to Rear Seat Armrest Replacement .

Rear Seat Back Cushion Cover and Pad Replacement Luxury

Removal Procedure, Right Side

  1. Remove the armrest from the seat back. Refer to Rear Seat Armrest Replacement .

  2. Object Number: 276335  Size: SH
  3. Remove the headrests (2) from the seat back. Refer to Headrest Replacement-Rear.
  4. Release the bottom edge of the seat back cover.
  5. Release the hook and loop strips retaining the seat back cover to the seat back foam pad.
  6. To ease removal, place a piece of cardboard between the seat back cover and the foam pad.
  7. Working from side to side, carefully lift the seat back cover from the foam pad.

Installation Procedure, Right Side

  1. Working from side to side, carefully install the seat back cover over the foam pad.

  2. Object Number: 276335  Size: SH
  3. Remove the cardboard from between the seat back cover and the foam pad.
  4. Engage the hook and loop strips that retain the seat back cover to the seat back foam pad.
  5. Secure the bottom edge of the seat back cover.
  6. Install the headrests (2) to the seat back. Refer to Rear Seat Head Restraint Replacement .
  7. Install the armrest to the seat back. Refer to Rear Seat Armrest Replacement .

Removal Procedure, Left Side

  1. Remove the armrest from the seat back. Refer to Rear Seat Armrest Replacement .

  2. Object Number: 276555  Size: SH
  3. Remove the headrests (1) from the seat back. Refer to Rear Seat Head Restraint Replacement .
  4. Release the bottom edge of the seat back cover (2).
  5. Release the hook and loop strips retaining the seat back cover to the seat back foam pad.
  6. To ease removal, place a piece of cardboard between the seat back cover and the foam pad.
  7. Working from side to side, carefully lift the seat back cover from the foam pad.

Installation Procedure, Left Side

  1. Working from side to side, carefully install the seat back cover over the foam pad.

  2. Object Number: 276555  Size: SH
  3. Remove the cardboard from between the seat back cover and the foam pad.
  4. Engage the hook and loop strips that retain the seat back cover to the seat back foam pad.
  5. Secure the bottom edge of the seat back cover (2).
  6. Install the headrests (1) to the seat back. Refer to Rear Seat Head Restraint Replacement .
  7. Install the armrest to the seat back. Refer to Rear Seat Armrest Replacement .