GM Service Manual Online
For 1990-2009 cars only
Makes
🢒
Chevrolet
🢒
2000
🢒
Chevy C Pickup - 2WD
🢒
Body and Accessories
🢒
Seats
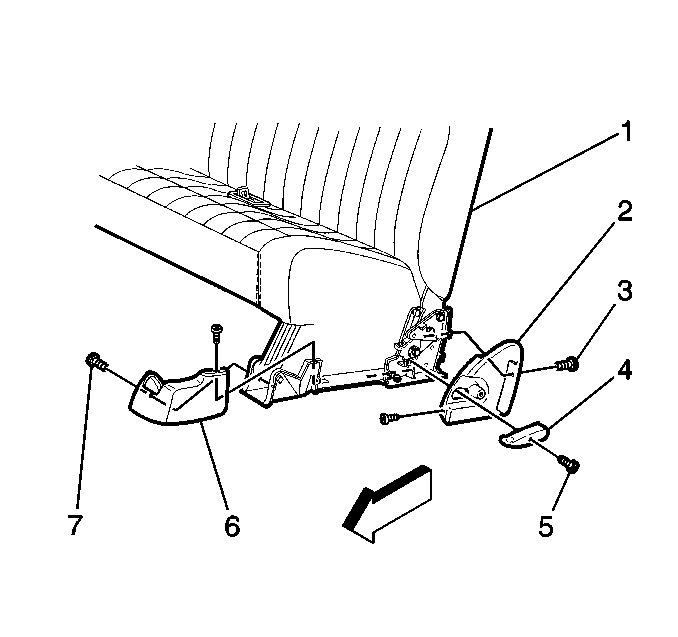
🢒 Seat Support Cover Replacement - Rear Folding
Removal Procedure
Remove the screws (7) from the trim cover (6).
Remove the trim cover from the rear seat support.
Installation Procedure
Install the trim cover (6) to the rear seat support.
Install the trim cover screws (7).