GM Service Manual Online
For 1990-2009 cars only

Endgate Handle Replacement Pickup

Removal Procedure

  1. Lower the endgate.

  2. Object Number: 264359  Size: SH
  3. Remove the three bolts and the washers from the back of the endgate (1) from the back of the endgate, behind the handle.
  4. Raise the endgate.
  5. Remove the bezel from around the handle by prying gently.
  6. Inspect the bezel for damage to the retention prongs. If any prongs are broken or bent, replace the bezel.

  7. Remove the latch operating rods from the retainers on the handle by pushing the rods back.
  8. Remove the handle assembly from the endgate.

Installation Procedure


    Object Number: 264359  Size: SH
  1. Install the handle assembly into the endgate (1).
  2. Install the latch operating rods into the retainers on the handle.
  3. Install the bezel to the handle and the endgate.
  4. Lower the endgate.

    Notice: Use the correct fastener in the correct location. Replacement fasteners must be the correct part number for that application. Fasteners requiring replacement or fasteners requiring the use of thread locking compound or sealant are identified in the service procedure. Do not use paints, lubricants, or corrosion inhibitors on fasteners or fastener joint surfaces unless specified. These coatings affect fastener torque and joint clamping force and may damage the fastener. Use the correct tightening sequence and specifications when installing fasteners in order to avoid damage to parts and systems.

  5. Install the three bolts and the washers into the handle from the back of the endgate.
  6. Tighten
    Tighten the endgate to handle bolts to 25 N·m (18 lb ft).

Endgate Handle Replacement Utility

Removal Procedure

  1. Lower the endgate.
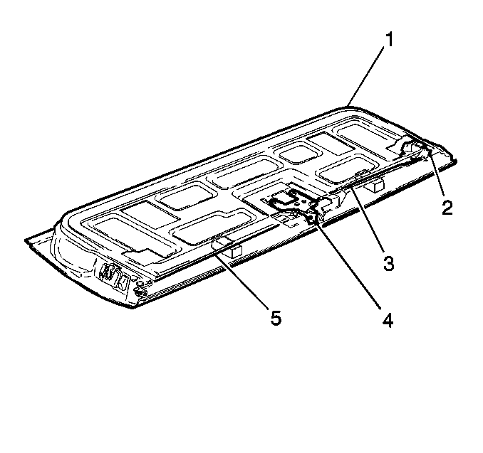
  2. Remove the trim panel. Refer to Rear Door Trim Panel Replacement .
  3. Remove the latch assembly cover from the endgate.
  4. Remove the two bolts and the washers from the back of the endgate behind the handle assembly.
  5. Raise the endgate.


    Object Number: 264339  Size: SH
  6. Remove the handle assembly (2) by prying gently.
  7. Remove the latch operating rods (4) from the clips on the handle by pushing the rods back.
  8. Remove the handle assembly from the endgate.

Installation Procedure


    Object Number: 264339  Size: SH
  1. Install the handle assembly (2) into the endgate.
  2. Install the latch operating rods (4) into the clips on the handle.
  3. Lower the endgate.

    Notice: Use the correct fastener in the correct location. Replacement fasteners must be the correct part number for that application. Fasteners requiring replacement or fasteners requiring the use of thread locking compound or sealant are identified in the service procedure. Do not use paints, lubricants, or corrosion inhibitors on fasteners or fastener joint surfaces unless specified. These coatings affect fastener torque and joint clamping force and may damage the fastener. Use the correct tightening sequence and specifications when installing fasteners in order to avoid damage to parts and systems.

  4. Install the two bolts and the washers onto the handle assembly from the back of the endgate.
  5. Tighten
    Tighten the endgate to handle bolts to 4 N·m (35 lb in).

  6. Install the latch assembly cover to the endgate.
  7. The cover must be installed with both of the gates closed for proper alignment.

  8. Install the endgate trim panel. Refer to Rear Door Trim Panel Replacement .