GM Service Manual Online
For 1990-2009 cars only
Makes
🢒
Chevrolet
🢒
2000
🢒
Chevy C Pickup - 2WD
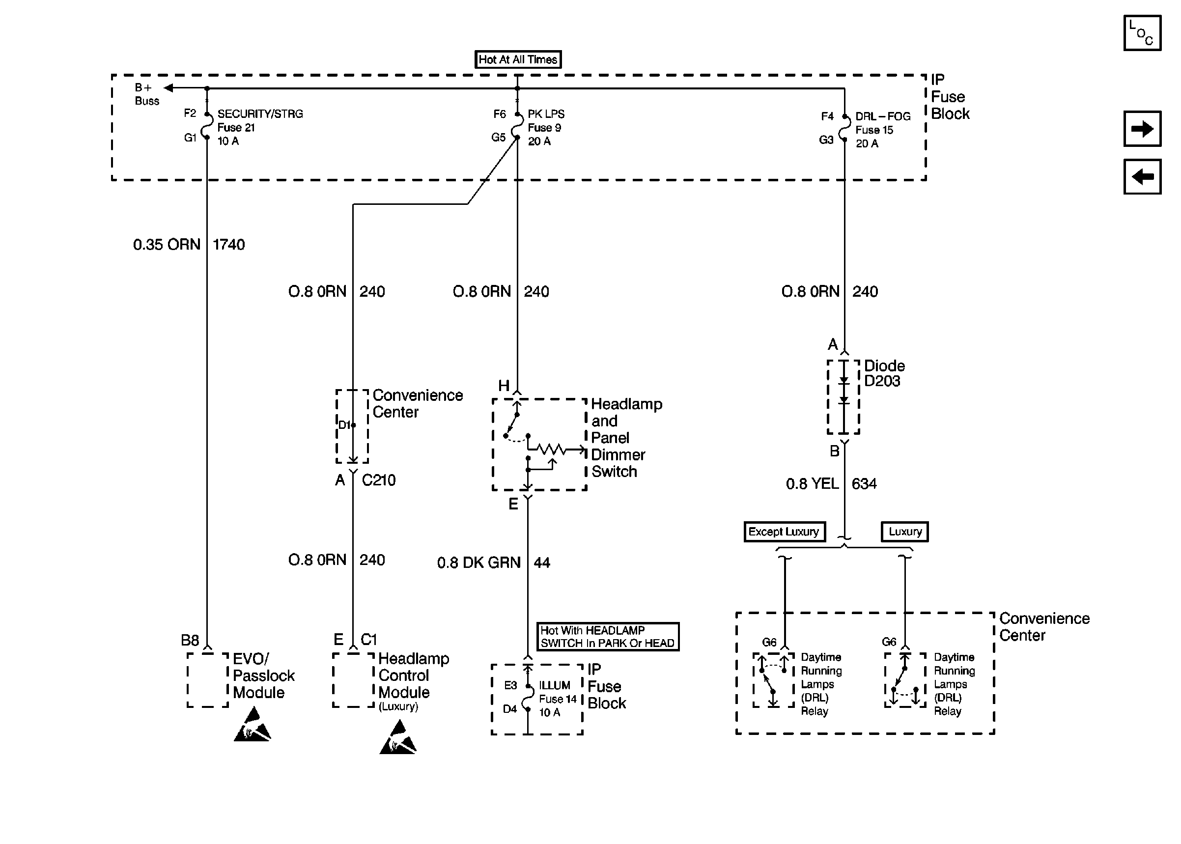
🢒 Cell 10: SECURITY/STRG, PK LPS, and DRL-FOG Fuses
Cell 10: SECURITY/STRG, PK LPS, and DRL-FOG Fuses
Cell 10: SECURITY/STRG, PK LPS, and DRL-FOG Fuses
Power and Grounding Components
Cell 10: STOP/HAZ, RADIO BATT, and AUX PWR Fuses
Cell 10: T CASE, and CTSY Fuses (2 of 2)
Cell 10: LIGHTING and BATTERY Fuses
Handling Electrostatic Discharge Sensitive Parts Notice
Handling Electrostatic Discharge Sensitive Parts Notice