GM Service Manual Online
For 1990-2009 cars only
Makes
🢒
Chevrolet
🢒
2000
🢒
Chevy C Pickup - 2WD
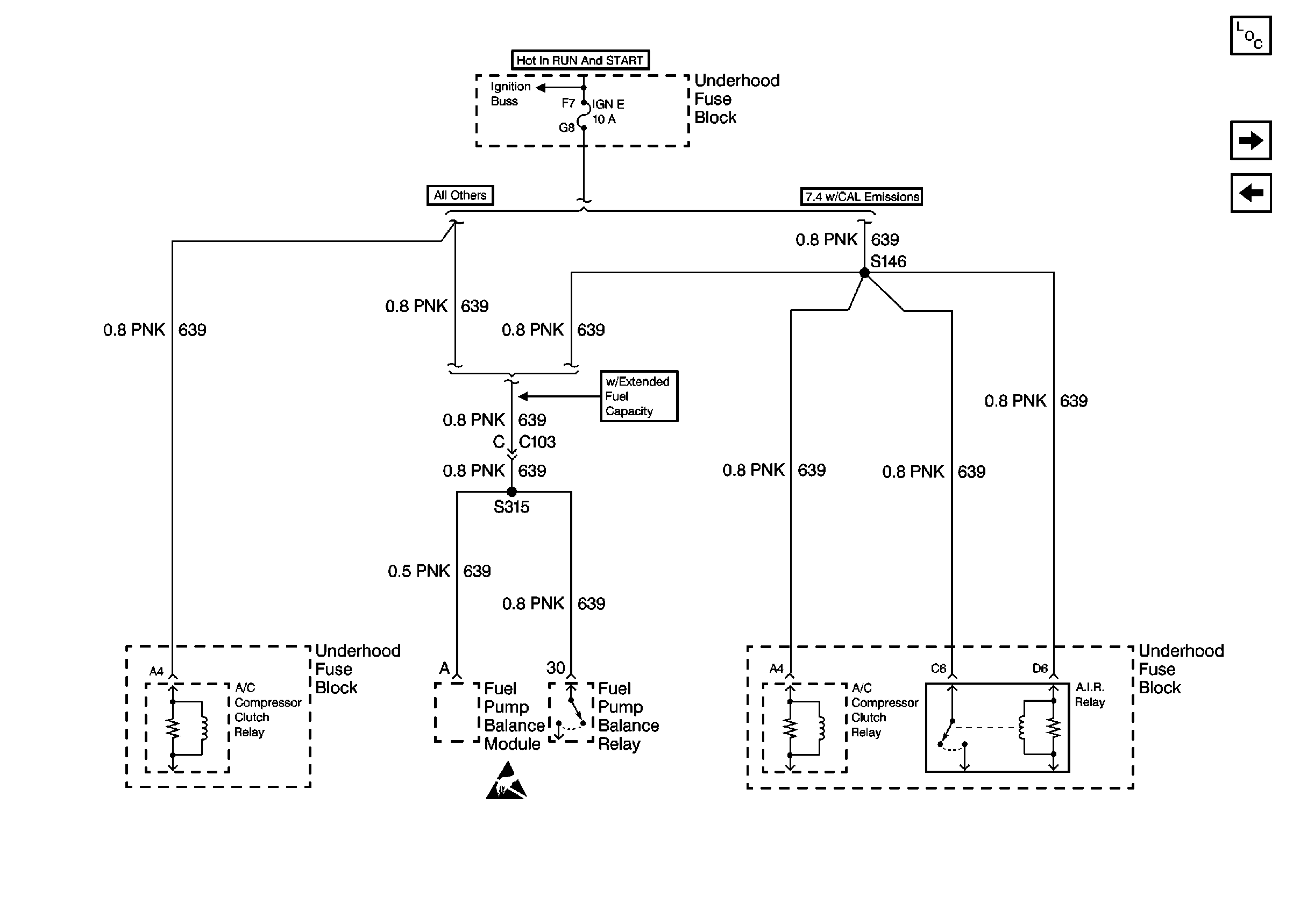
🢒 Cell 10: IGN E Fuse
Cell 10: IGN E Fuse
Cell 10: IGN E Fuse
Power and Grounding Components
Cell 10: ENG-1 Fuse
Cell 10: FRONT HEATED SEATS, REAR HEATED SEATS, HTD MIR, AUX FAN, and RR DEFOG Fuses
Cell 10: Battery, and Underhood Fuse Block
Handling Electrostatic Discharge Sensitive Parts Notice