GM Service Manual Online
For 1990-2009 cars only
Makes
🢒
Chevrolet
🢒
2000
🢒
Chevy C Pickup - 2WD
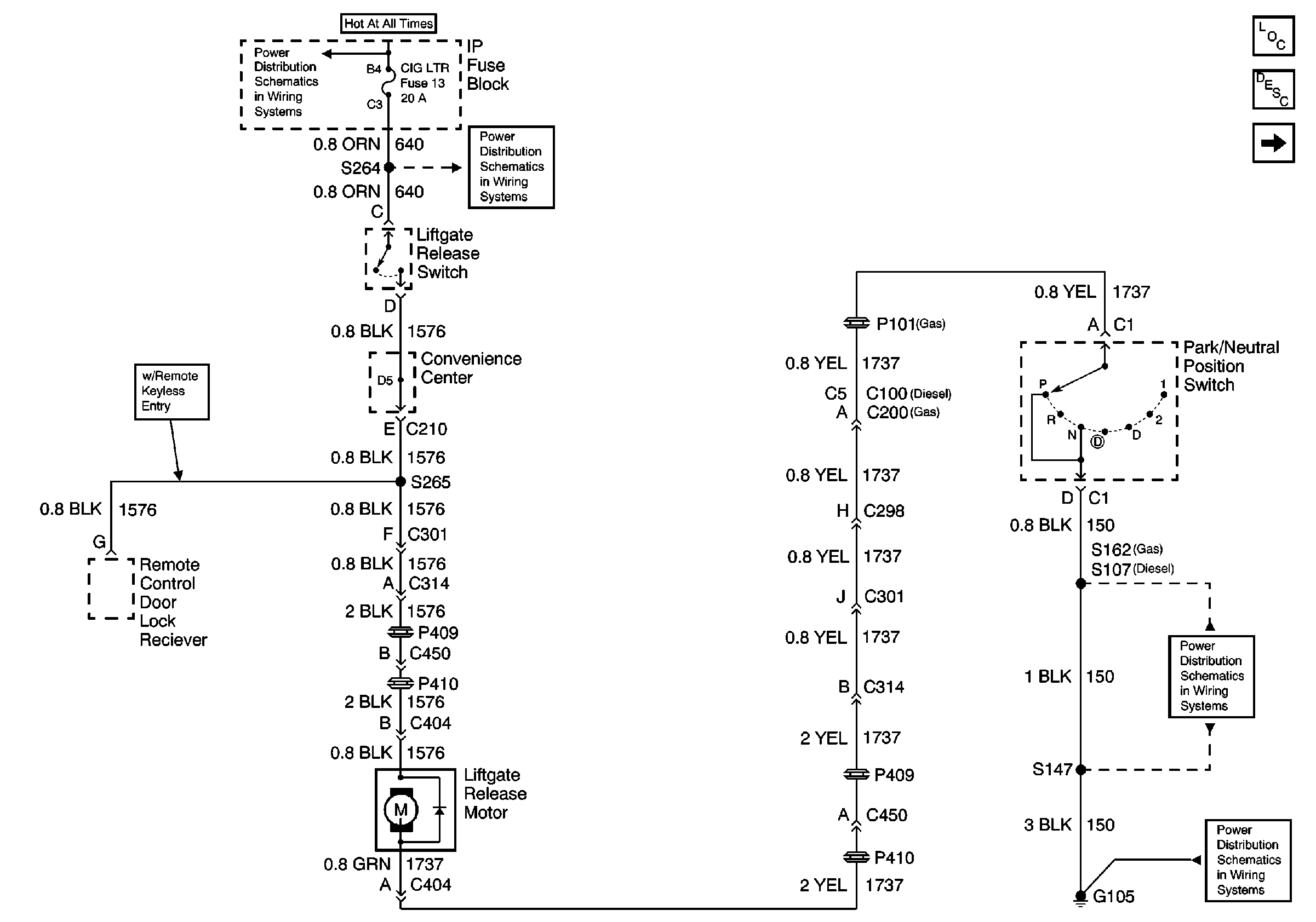
🢒 Cell 134: CIG LTR Fuse, Liftgate Release Switch, Park/Neutral Position Switch
Cell 134: CIG LTR Fuse, Liftgate Release Switch, Park/Neutral Position Switch
Cell 134: CIG LTR Fuse, Liftgate Release Switch, Park/Neutral Position Switch
Cell 10: CIG LTR Fuse
Cell 14: G105 (1 of 2)
Cell 14: G105 (1 of 2)
Liftgate Window Release Circuit Description Base
Cell 134: CIG LTR Fuse, Liftgate Release Switch, Park/Neutral Postion Switch (Luxury)
Cell 10: LIGHTING and BATTERY Fuses
99 W-P Front of Engine Compartment Component View