GM Service Manual Online
For 1990-2009 cars only
Makes
🢒
Chevrolet
🢒
2000
🢒
Chevy C Pickup - 2WD
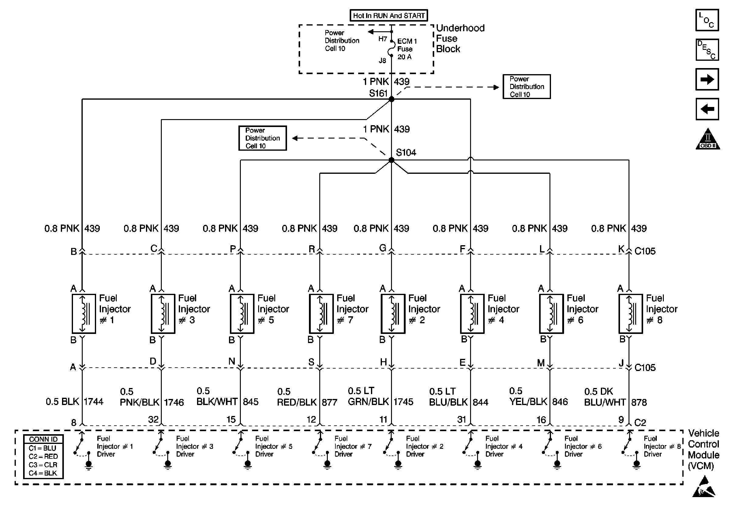
🢒 Fuel Injector Controls
Fuel Injector Controls
Fuel Injector Controls
Cell 10: IGN A Fuse and Ignition Switch
Cell 10: ECM 1 Fuse (5.0L/5.7L)
Cell 10: ECM 1 Fuse (5.0L/5.7L)
Handling ESD Sensitive Parts Notice
OBD II Symbol Description Notice
Engine Sensors
Fuel Controls