GM Service Manual Online
For 1990-2009 cars only
Makes
🢒
Chevrolet
🢒
2000
🢒
Chevy C Pickup - 2WD
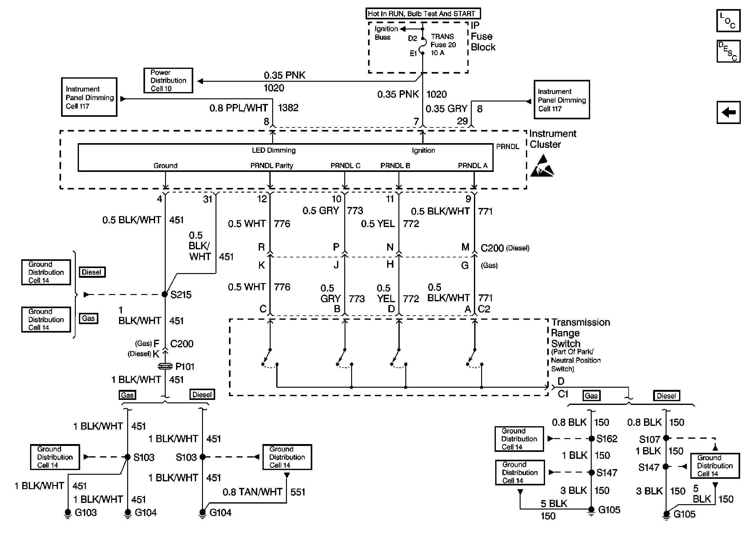
🢒 Electronic PRNDL
Electronic PRNDL
Electronic PRNDL
Instrument Cluster Components
Instrument Cluster Circuit Description
Fuel Gauge Sender(s) (Diesel)
Cell 117: PK LPS Fuse 9, ILLUM Fuse 14, Headlamp and Panel Dimmer Switch (1 of 2)
Cell 10: AIR BAG, TURN B/U, CRANK, and TRANS Fuses
Cell 117: PK LPS Fuse 9, ILLUM Fuse 14, Headlamp and Panel Dimmer Switch(2 of 2)
Handling ESD Sensitive Parts Notice
Cell 11: G104 Diesel
Cell 14: G103 and G104
Cell 14: G105 (2 of 2)
Cell 14: G103 and G104
Cell 11: G104 Diesel
Cell 14: G105 (1 of 2)