GM Service Manual Online
For 1990-2009 cars only
Makes
🢒
Chevrolet
🢒
2000
🢒
Chevy C Pickup - 2WD
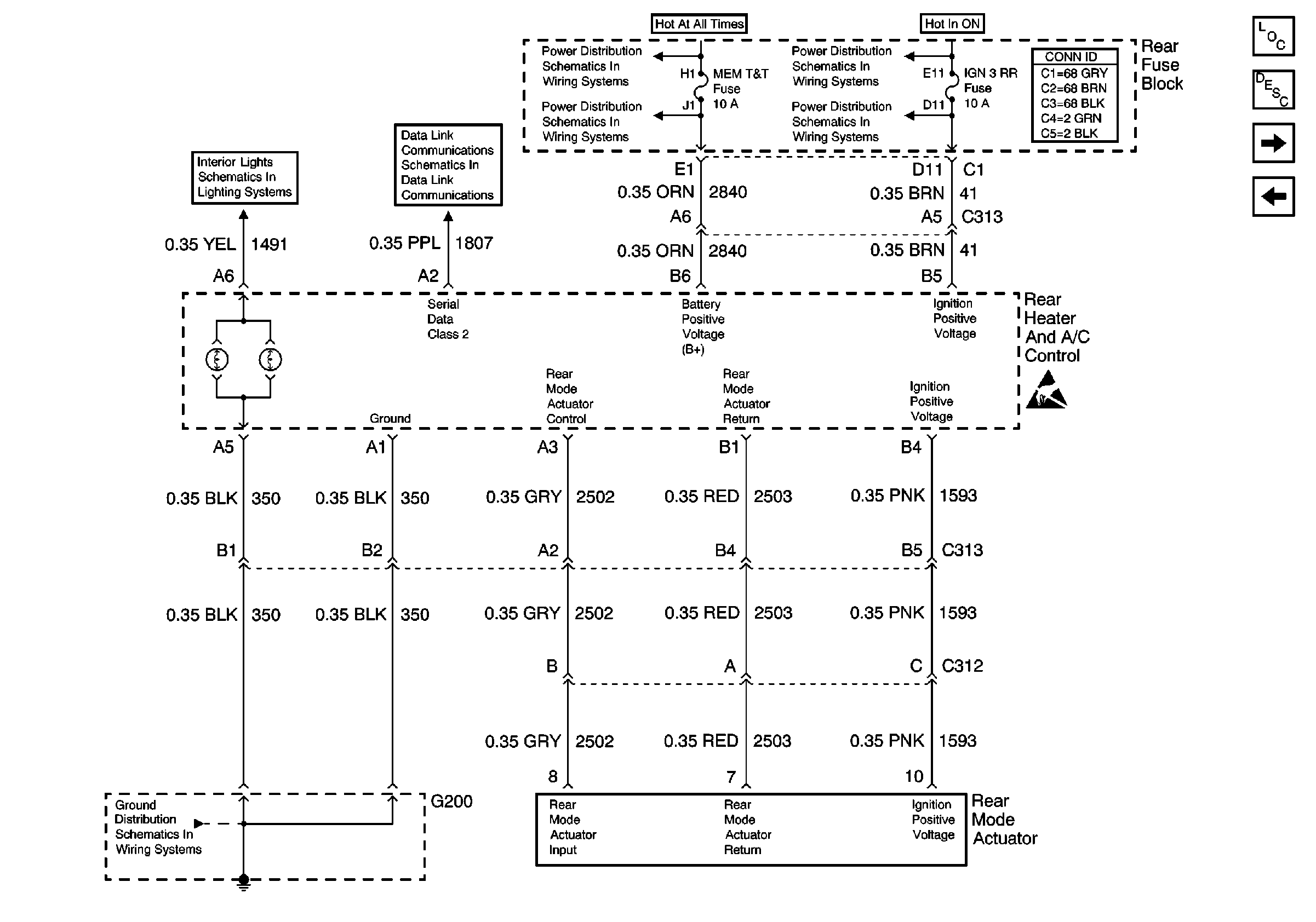
🢒 Rear Actuator - DeVille/DHS
Rear Actuator - DeVille/DHS
Rear Actuator -- DeVille/DHS
HVAC Components
Air Delivery Description and Operation
Rear Actuator - DTS
Sensors
Handling ESD Sensitive Parts Notice
G200
Interior Lights Schematics w/o V4U/B9Q
Data Link Connector Schematics
Rear Fuse Block Battery Voltage
MEM T&T, RRLUM/ANT, and HTDST LF Fuses
Rear Fuse Block Battery Voltage
MEM T&T, RRLUM/ANT, and HTDST LF Fuses
Power and Grounding Connector End Views Fuse Blocks and Ignition Switch