GM Service Manual Online
For 1990-2009 cars only
Makes
🢒
Chevrolet
🢒
2000
🢒
Chevy C Pickup - 2WD
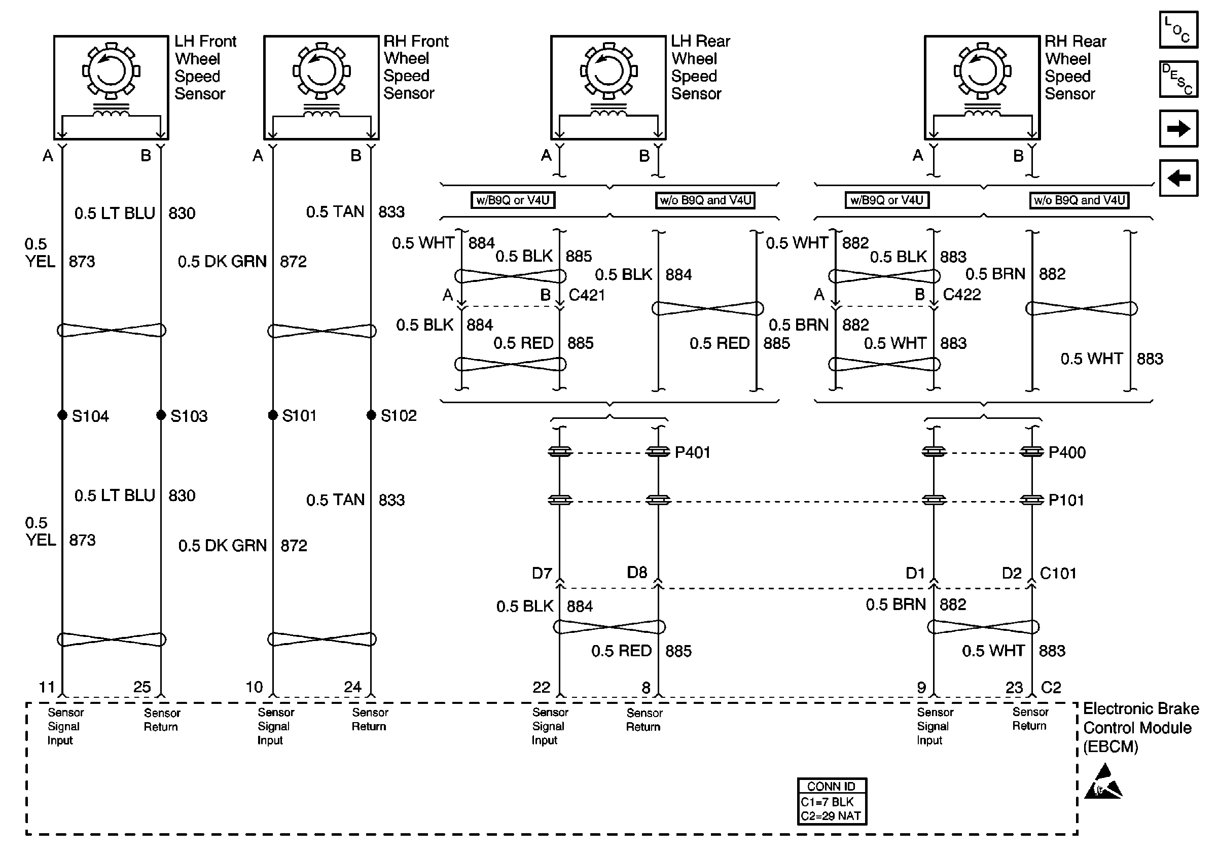
🢒 Wheel Speed Sensors
Wheel Speed Sensors
Wheel Speed Sensors
ABS Components
ABS Description
Vehicle Stability Enhancement System (w/JL4)
PWR, GND, Stoplamp Switch, Solenoid Valves, and Pump Motor
Handling ESD Sensitive Parts Notice