GM Service Manual Online
For 1990-2009 cars only
Makes
🢒
Chevrolet
🢒
2000
🢒
Chevy C Pickup - 2WD
🢒 G201 - Steering Column
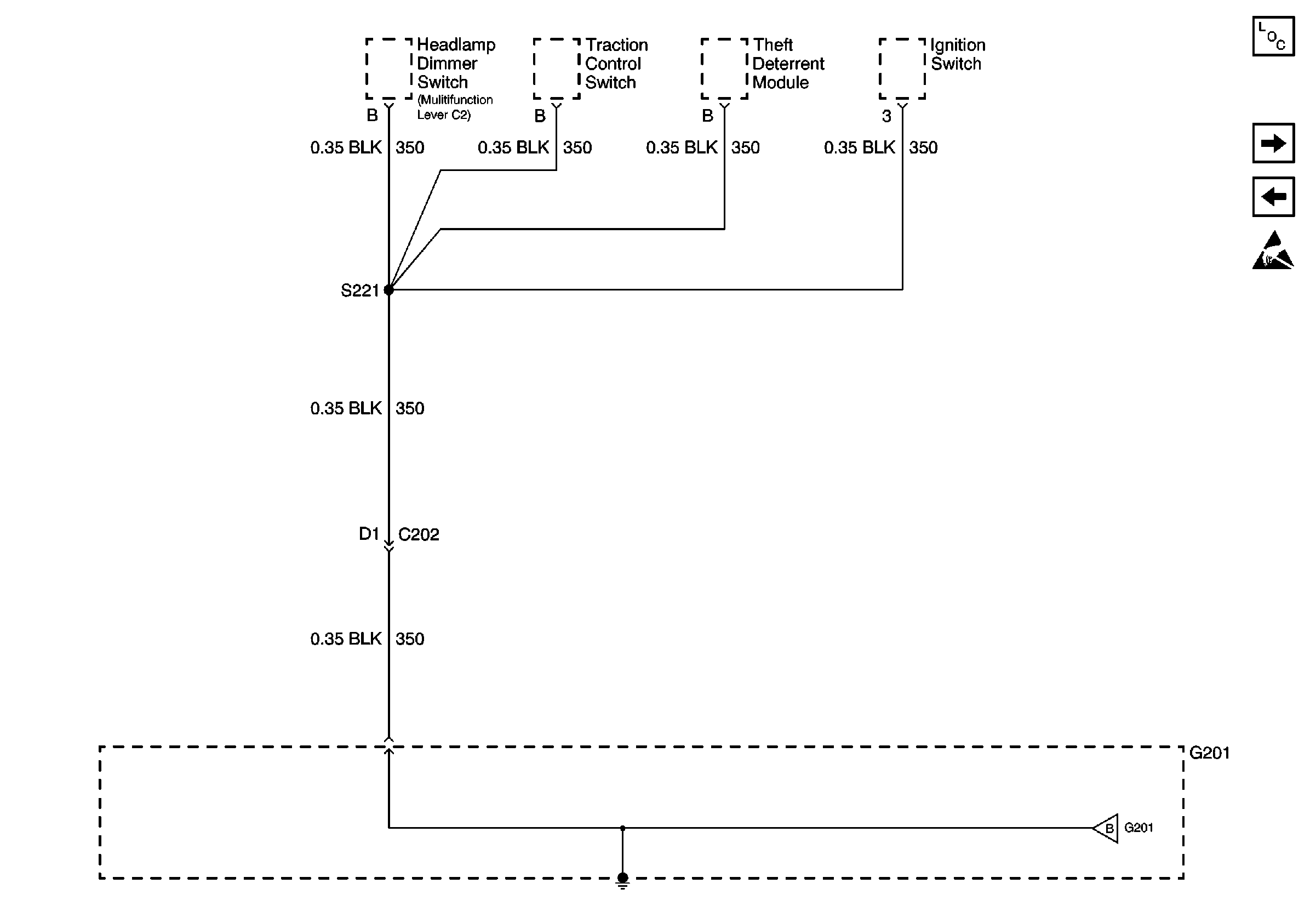
G201 - Steering Column
G201 -- Steering Column
Power and Grounding Components
G201 - Body Harness
G200
Handling ESD Sensitive Parts Notice
G201 - Body Harness