GM Service Manual Online
For 1990-2009 cars only
Makes
🢒
Chevrolet
🢒
2000
🢒
Chevy C Pickup - 2WD
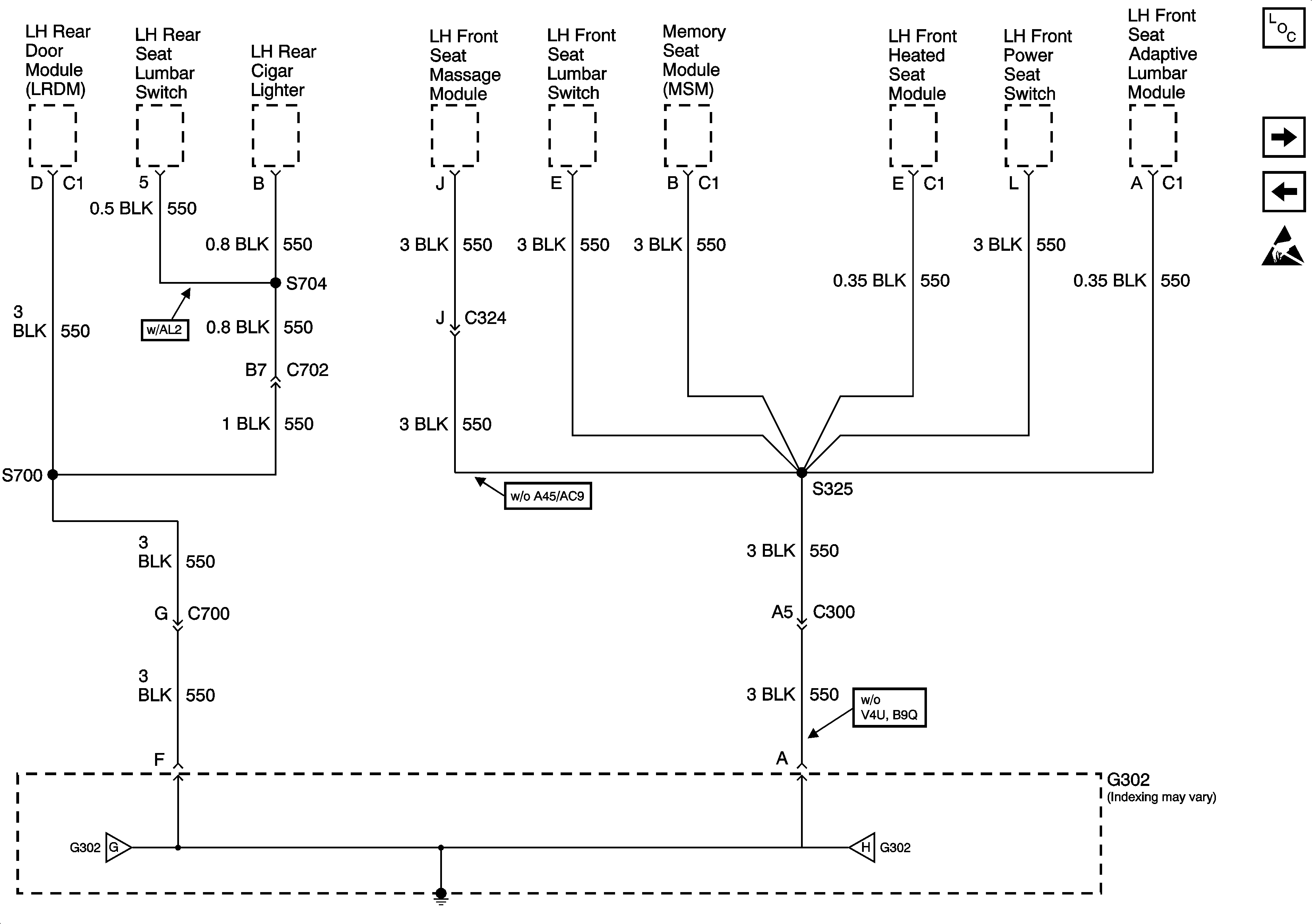
🢒 G302 - LH Front Seat
G302 - LH Front Seat
G302 -- LH Front Seat
Power and Grounding Components
G302-V4U/B9Q CKT 551
G302 - RH Front Seat
Handling ESD Sensitive Parts Notice
G302 - RH Front Seat
G302-V4U/B9Q CKT 551