GM Service Manual Online
For 1990-2009 cars only
Makes
🢒
Chevrolet
🢒
2000
🢒
Chevy C Pickup - 2WD
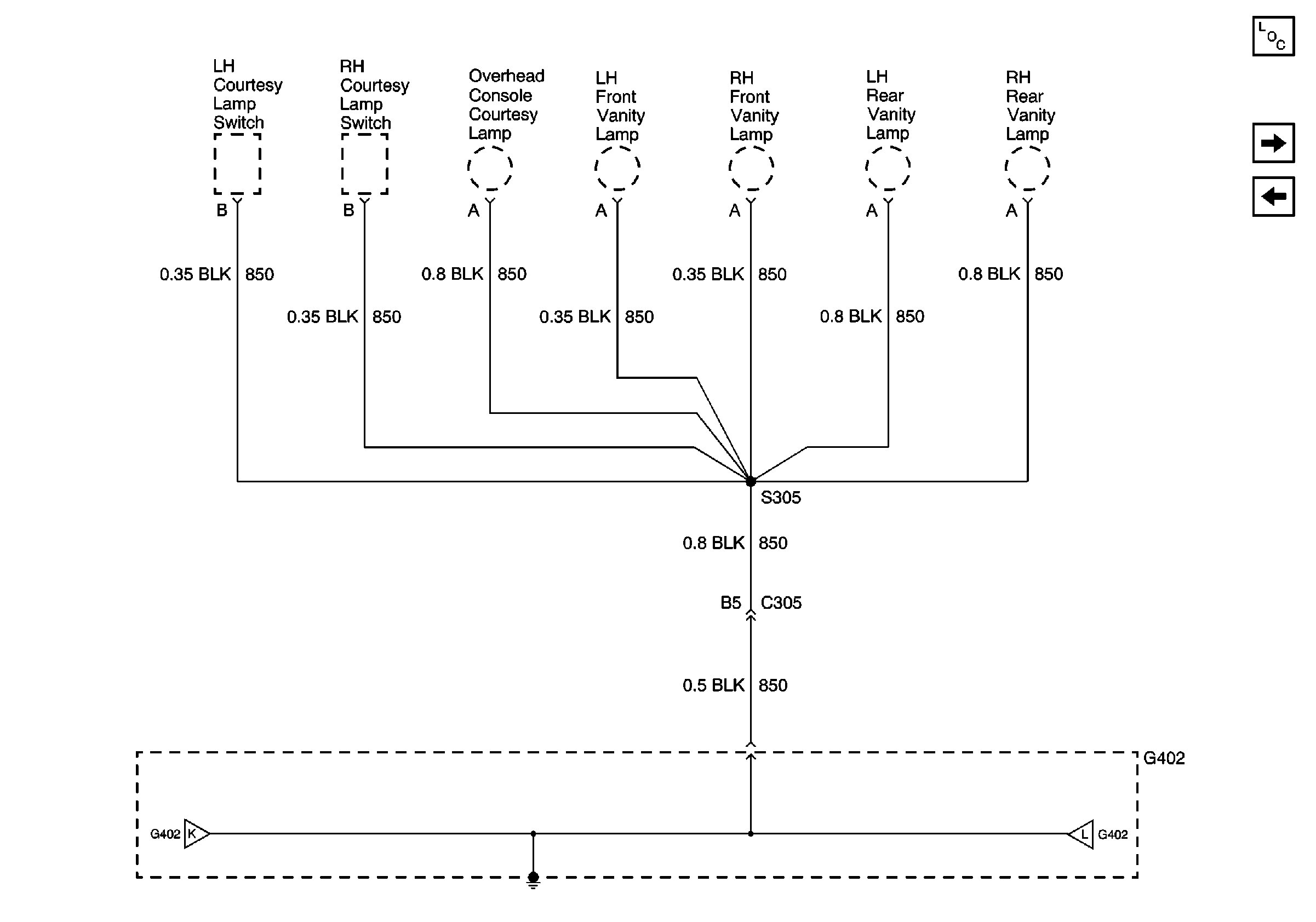
🢒 G402 - Headliner
G402 - Headliner
G402 -- Headliner
Power and Grounding Components
G402 - Fuel Sender and Other Items
G402 - Backup Lamps
G402 - Backup Lamps
G402 - Fuel Sender and Other Items