GM Service Manual Online
For 1990-2009 cars only
Makes
🢒
Chevrolet
🢒
2000
🢒
Chevy C Pickup - 2WD
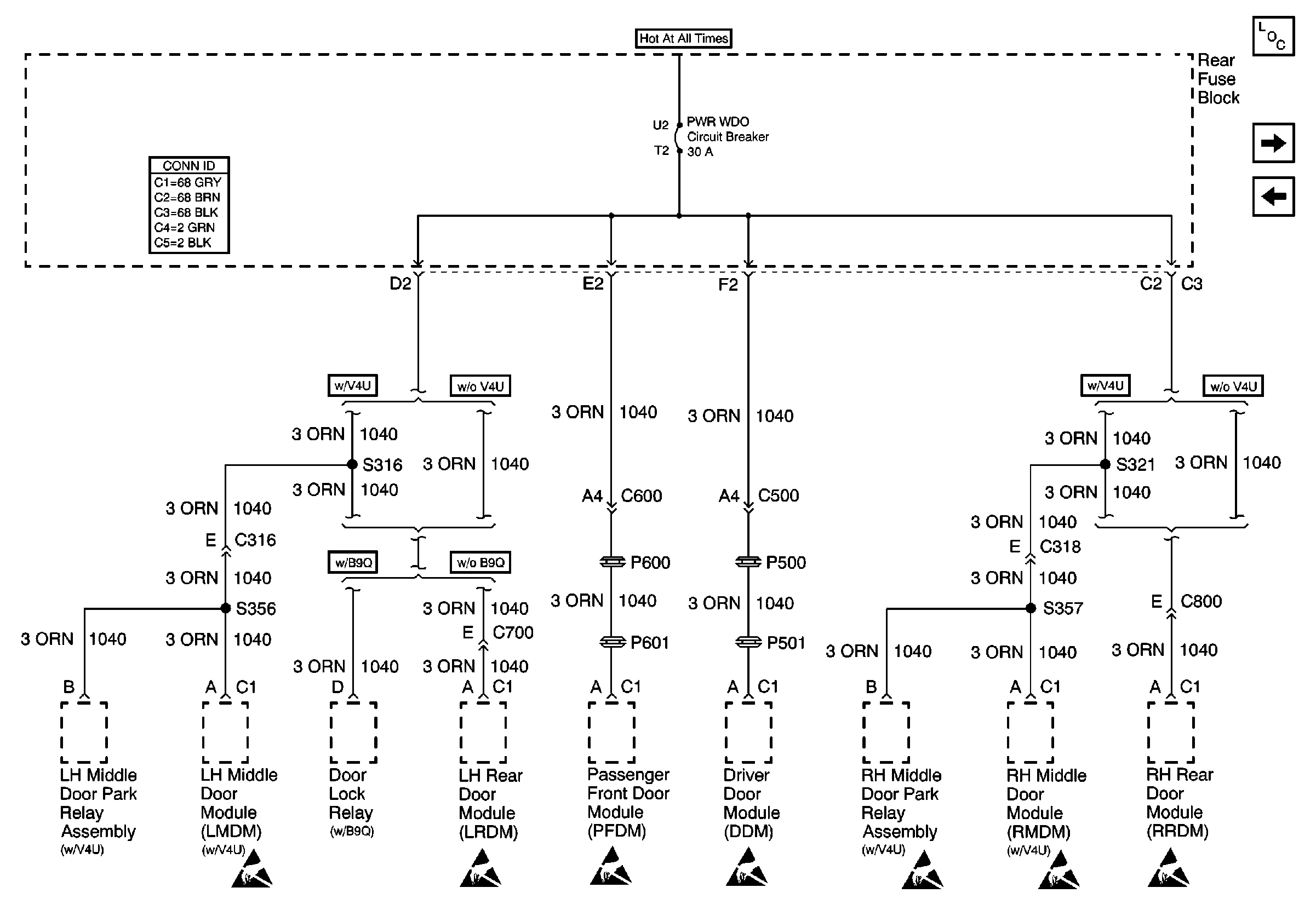
🢒 PWR WDO Circuit Breaker
PWR WDO Circuit Breaker
PWR WDO Circuit Breaker
Power and Grounding Components
NAV Fuse and POWER SEAT Circuit Breaker
AUDIO AMP and EXP LTG/LK Fuses
Power and Grounding Connector End Views Fuse Blocks and Ignition Switch
Handling ESD Sensitive Parts Notice
Handling ESD Sensitive Parts Notice
Handling ESD Sensitive Parts Notice
Handling ESD Sensitive Parts Notice