GM Service Manual Online
For 1990-2009 cars only
Makes
🢒
Chevrolet
🢒
2000
🢒
Chevy C Pickup - 2WD
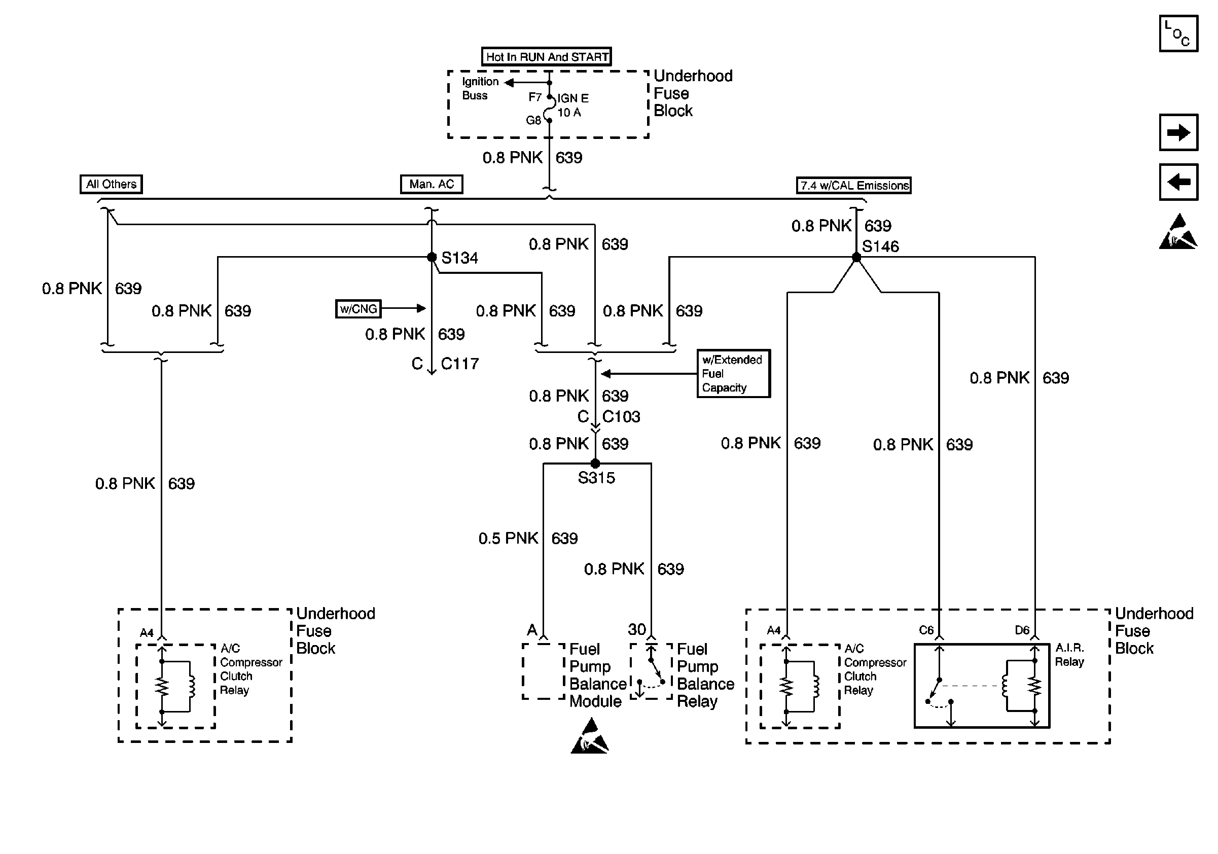
🢒 IGN E Fuse
IGN E Fuse
IGN E Fuse
Power and Grounding Components
ECM 1 Fuse (5.7L)
FRONT HEATED SEATS, REAR HEATED SEATS, HTD MIR, AUX FAN, and RR DEFOG Fuses
Handling ESD Sensitive Parts Notice