GM Service Manual Online
For 1990-2009 cars only
Makes
🢒
Chevrolet
🢒
2000
🢒
Chevy C Pickup - 2WD
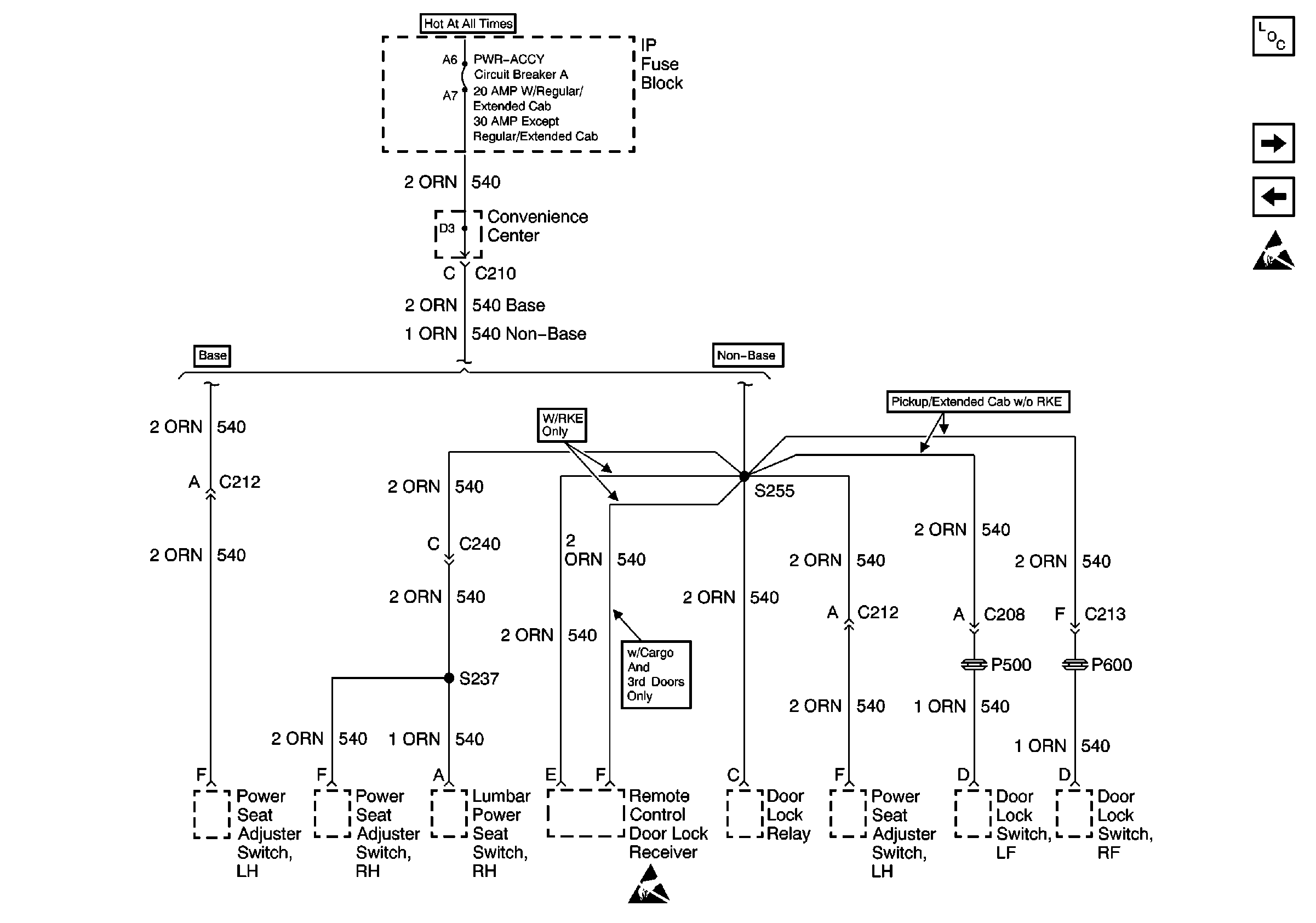
🢒 AUX Fuse and PWR-ACCY Circuit Breaker
AUX Fuse and PWR-ACCY Circuit Breaker
AUX Fuse and PWR-ACCY Circuit Breaker
Power and Grounding Components
AUX PWR Fuse, PWR - ACCY Circuit Breaker (Luxury)
ENG 1 and ECM 1 Fuses (Diesel)
Handling ESD Sensitive Parts Notice