GM Service Manual Online
For 1990-2009 cars only

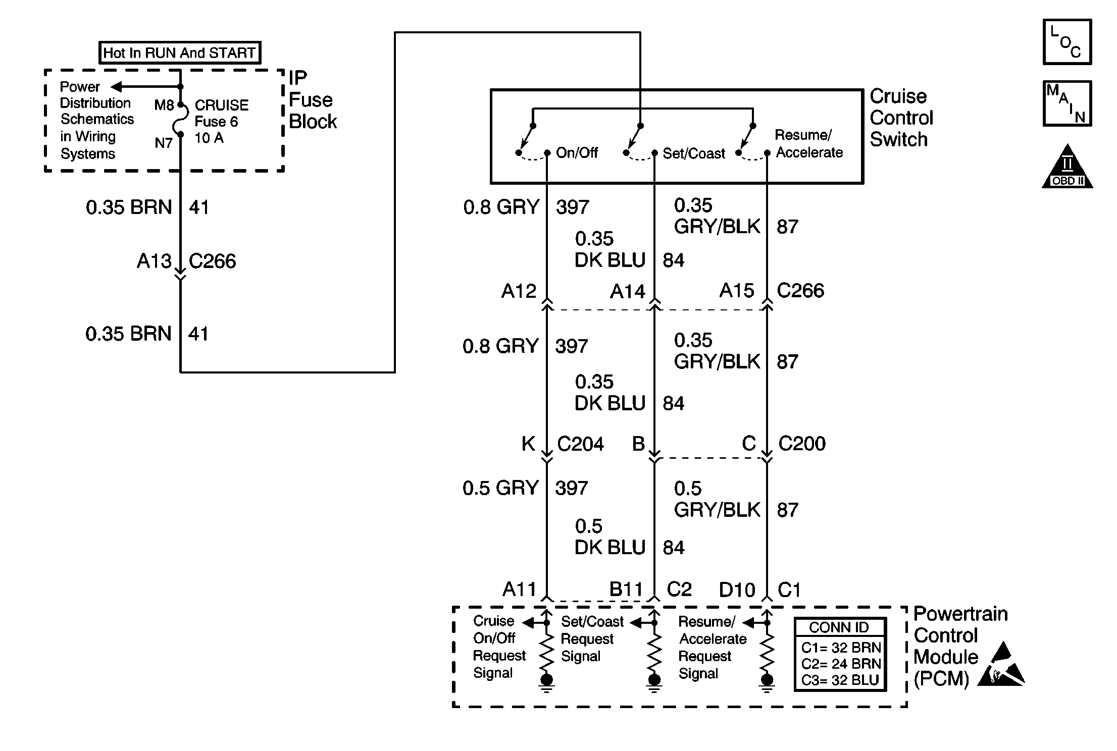
Object Number: 592272  Size: MF
Engine Controls Components
Accelerator Pedal Position Sensor, Cruise Switch Input, Stoplamp and Clutch Pedal Switches
OBD II Symbol Description Notice
Handling ESD Sensitive Parts Notice

Circuit Description

The cruise set/coast switch is an input to the fuel control portion of the PCM. These inputs allow the PCM to control and hold a requested speed. The cruise set/coast switch sends an ignition voltage signal to the PCM when the set/coast switch is ON.

Conditions for Running the DTC

    • The PCM performs this DTC diagnostic continuously.
    • The ignition switch in the ON position.

Conditions for Setting the DTC

Ignition voltage on set/coast request signal circuit when the cruise control ON/OFF switch in the OFF position.

or

    • Set/Coast request switch ON for longer than 25.5 seconds when the Cruise Control ON/OFF switch in the ON position.
    • All of the diagnostic set conditions met for 2 seconds.

Action Taken When the DTC Sets

    • The PCM disallows all cruise control inputs.
    • TCC shift schedules may be affected.
    • The PCM will not illuminate the malfunction indicator lamp (MIL).
    • The PCM records the operating conditions at the time the diagnostic fails. This information stores in the Failure Records.

Conditions for Clearing the MIL/DTC

    • A History DTC clears after forty consecutive warm-up cycles, if this or any other emission related diagnostic does not report any failures.
    • The use of a scan tool.

Diagnostic Aids

If the set/coast switch is stuck in the ON position or the driver is holding the set/coast switch ON for longer than 25.5 seconds, DTC P0568 will set. DTC P0568 only checks the signal circuit for a short to voltage.

Test Description

The numbers below refer to the step numbers on the diagnostic table:

  1. This step determines if the signal circuit is shorted to voltage.

  2. This step determines if the PCM or switch is at fault.

Step

Action

Values

Yes

No

1

Important: Before clearing any DTCs, use the scan tool Capture Info to save freeze frame and failure records for reference, as the scan tool loses data when using the Clear Info function.

Was the Powertrain On-Board Diagnostic (OBD) System Check performed?

--

Go to Step 2

Go to Powertrain On Board Diagnostic (OBD) System Check

2

  1. Connect a scan tool.
  2. Turn the ignition ON leaving the engine OFF.
  3. Turn the Cruise switch OFF.

Does the scan tool display the Set switch ON?

--

Go to Step 3

Go to Step 4

3

  1. Turn the ignition ON leaving the engine OFF.
  2. Disconnect the PCM connector containing the Set switch signal circuit.
  3. Probe the Set switch signal circuit at the PCM harness with a test lamp connected to chassis ground.

Is the test lamp ON?

--

Go to Step 5

Go to Step 6

4

The DTC is intermittent. If no additional DTCs are stored, refer to Diagnostic Aids. If additional DTCs were stored refer to the applicable DTC tables first.

Are any additional DTCs stored?

--

Go to Applicable DTC Table

Go to Diagnostic Aids

5

  1. The Set switch signal circuit is shorted to voltage or stuck in the ON position.
  2. Repair the problem as necessary.

Is the action complete?

--

Go to Step 8

--

6

Important: The new PCM must be programmed. Refer to Powertrain Control Module Replacement/Programming .

Replace the PCM.

Is the action complete?

--

Go to Step 7

--

7

  1. Using the scan tool, clear the DTCs.
  2. Start engine and idle at normal operating temperature.
  3. Select DTC, Specific, then enter the DTC number which was set.
  4. Operate the vehicle, with the Conditions for Setting this DTC, until the scan tool indicates the diagnostic Ran.

Does the scan tool indicate the diagnostic Passed?

--

Go to Step 8

Go to Step 2

8

Does the scan tool display any additional undiagnosed DTCs?

--

Go to Applicable DTC Table

System OK