GM Service Manual Online
For 1990-2009 cars only

Object Number: 366572  Size: MF
Automatic Transmission Controls Schematics
OBD II Symbol Description Notice
Handling ESD Sensitive Parts Notice

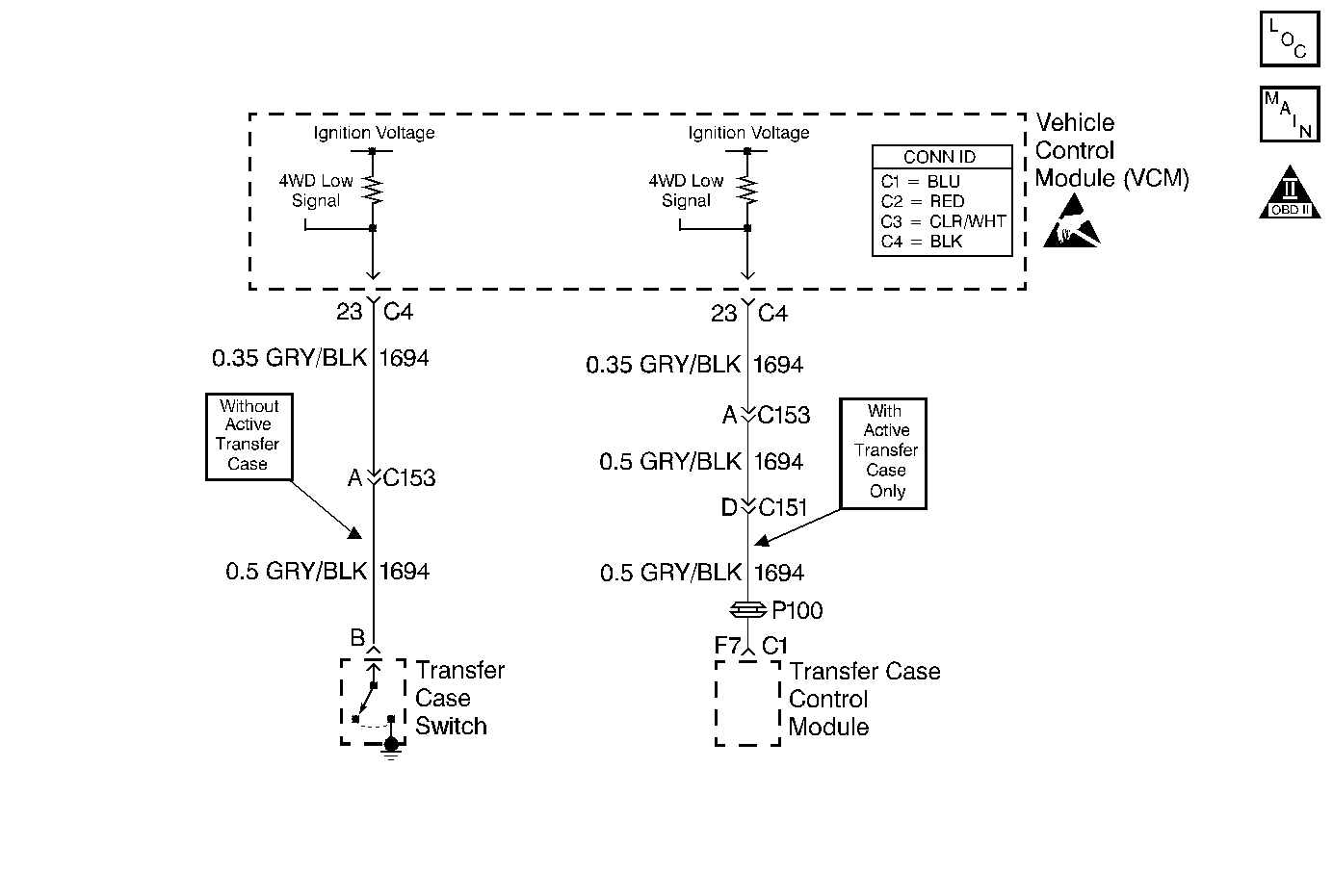
Circuit Description

For vehicles equipped with an active transfer case, the four wheel drive (4WD) low circuit consists of the vehicle control module (VCM), a transfer case control module and the circuit wiring. The transfer case control module controls the 4WD low signal on circuit 1694. When the operator selects 4WD low, the transfer case control module grounds circuit 1694, and the 4WD low signal voltage on the circuit changes from ignition voltage to zero volts. The VCM then compensates for transfer case gear reduction in the transmission output shaft speed (OSS) sensor signal. The VCM uses the transmission OSS sensor signal to adjust shift points, line pressure and torque converter clutch (TCC) scheduling.

For vehicles not equipped with an active transfer case, the 4WD low circuit consists of the VCM, a transfer case switch and the circuit wiring. The transfer case switch controls the 4WD low signal on circuit 1694. When the operator selects 4WD low, the transfer case switch closes and the 4WD low signal voltage on circuit 1694 changes from ignition voltage to zero volts. The VCM then compensates for transfer case gear reduction in the transmission output shaft speed (OSS) sensor signal. The VCM uses the transmission OSS sensor signal to adjust shift points, line pressure and TCC scheduling.

When the VCM detects a continuous open, short to ground or short to power in the 4WD low circuit, then DTC P1875 sets. DTC P1875 is a type B DTC.

Conditions for Running the DTC

    • No TP sensor DTCs P0122, or P0123
    • No VSS assembly DTCs P0502 or P0503
    • No TCC solenoid valve DTC P0740
    • No TCC stuck ON DTC P0742
    • No 1-2 SS valve DTC P0751 or P0753
    • No 2-3 SS valve DTC P0756 or P0758
    • No TFP manual valve position switch DTC P1810
    • No TCC PWM solenoid valve DTC P1860
    • No transmission component slipping DTC P1870
    • The engine speed is greater than 450 RPM for 5 seconds
    • The engine is not in fuel cutoff
    • The vehicle speed is greater than 11 km/h (7 mph)
    • The TP angle is 17-50%
    • The engine torque is between 50-400 ft lbs
    • The engine vacuum is between 0-105 kPa
    • The gear range is D4
    • The shift solenoid performance counters are zero
    • The TFT is 20-130°C (68-266°F)

Conditions for Setting the DTC

DTC P1875 sets if one of the following conditions occurs:

Condition 1

    • The 4WD low switch is in 4WD low.
    • The transfer case is not in 4WD low.
    • The TCC slip speed is -3000 to -50 RPM.
    • The speed ratio is 0.8-1.2 (the speed ratio is the engine speed divided by the transfer case output speed).
    • All conditions met for 5 seconds.

Condition 2

    • The 4WD low switch is not in 4WD low.
    • The transfer case is in 4WD low.
    • The TCC is commanded ON.
    • The TCC slip speed is 100 to 3000 RPM.
    • The speed ratio is 2.5-2.9.
    • All conditions met for 10 seconds.

Action Taken When the DTC Sets

    • The VCM illuminates the malfunction indicator lamp (MIL) during the second consecutive trip in which the Conditions for Setting the DTC are met.
    • The VCM commands a normal shift pattern (not a 4WD low shift pattern).
    • The VCM records the operating conditions when the Conditions for Setting the DTC are met. The VCM stores this information as Freeze Frame and Failure Records.
    • The VCM stores DTC P1875 in VCM history during the second consecutive trip in which the Conditions for Setting the DTC are met.

Conditions for Clearing the MIL/DTC

    • The VCM turns OFF the MIL during the third consecutive trip in which the diagnostic test runs and passes.
    • A scan tool can clear the MIL/DTC.
    • The VCM clears the DTC from VCM history if the vehicle completes 40 warm-up cycles without an emission-related diagnostic fault occurring.
    • The VCM cancels the DTC default actions when the fault no longer exists and/or the ignition switch is OFF long enough in order to power down the VCM.

Diagnostic Aids

    • Inspect the wiring at the VCM, the transfer case control module (active transfer case vehicles), the transfer case switch connector (non-active transfer case vehicles) and all other circuit connecting points for the following conditions:
       - A backed out terminal
       - A damaged terminal
       - Reduced terminal tension
       - A chafed wire
       - A broken wire inside the insulation
       - Moisture intrusion
       - Corrosion
    • When diagnosing for an intermittent short or open condition, massage the wiring harness while watching the test equipment for a change.

Test Description

The numbers below refer to the step numbers on the diagnostic table.

  1. This step tests for a short to ground in circuit 1694.

  2. This step tests for an open in circuit 1694 or a faulty transfer case control module (active transfer case vehicles), or transfer case switch (non-active transfer case vehicles).

DTC P1875 4WD Low Switch Circuit Electrical

Step

Action

Value(s)

Yes

No

1

Was the Powertrain On-Board Diagnostic (OBD) System Check performed?

--

Go to Step 2

Go to Powertrain On Board Diagnostic (OBD) System Check in Engine Controls

2

  1. Install a Scan Tool .
  2. Start the engine (parking brake disengaged).
  3. Important: Before clearing the DTC, use the Scan Tool in order to record the Freeze Frame and Failure Records. Using the Clear Info function erases the Freeze Frame and Failure Records from the VCM.

  4. Record the DTC Freeze Frame and Failure Records.
  5. Clear the DTC.
  6. Place the transmission in NEUTRAL.
  7. Select 4HI on the transfer case selector.
  8. Important: It may be necessary to drive the vehicle slightly forward to engage 4LO on the transfer case.

  9. Select 4LO on the transfer case selector.

Does the Scan Tool 4WD Low display Disabled when you select 4HI, then Enabled when you select 4LO?

--

Go to Diagnostic Aids

Go to Step 3

3

  1. Turn the ignition switch OFF.
  2. Disconnect the transfer case control module connector (active transfer case vehicles), or the transfer case switch connector (non-active transfer case vehicles).
  3. Turn the ignition switch to the RUN position.

Does the Scan Tool 4WD Low indicate Enabled?

--

Go to Step 6

Go to Step 4

4

  1. Connect C1-F7 of the transfer case control module (active transfer case vehicles) to ground, or terminal B of the transfer case switch connector (non-active transfer case vehicles) to ground.
  2. Observe the Scan Tool 4WD Low.

Does 4WD Low indicate Enabled when circuit 1694 (GRY/BLK) is grounded?

--

Go to Step 5

Go to Step 7

5

Replace the transfer case control module (active transfer case vehicles), or the transfer case selector switch (non-active transfer case vehicles).

Refer to Transfer Case Control Module Replacement (Automatic 4WD) (active transfer case vehicles), or Transfer Case Switch Replacement (non-active transfer case vehicles).

Is the replacement complete?

--

Go to Step 9

--

6

  1. Inspect circuit 1694 (GRY/BLK) for a short to ground condition.
  2. Refer to Circuit Testing in Wiring Systems.

  3. Repair the circuit if necessary.
  4. Refer to Wiring Repairs in Wiring Systems.

Did you find a short to ground condition?

--

Go to Step 9

Go to Step 8

7

  1. Inspect circuit 1694 (GRY/BLK) for an open condition.
  2. Refer to Circuit Testing in Wiring Systems.

  3. Repair the circuit if necessary.
  4. Refer to Wiring Repairs in Wiring Systems.

Did you find an open condition?

--

Go to Step 9

Go to Step 8

8

Replace the VCM.

Refer to VCM Replacement/Programming in Engine Controls.

Is the replacement complete?

--

Go to Step 9

--

9

Perform the following procedure in order to verify the repair:

  1. Select DTC.
  2. Select Clear Info.
  3. Operate the vehicle under the following conditions:
  4. 3.1. Select 4LO on the transfer case selector.
    3.2. Drive the vehicle in D4.
    3.3. Verify that the speed ratio is 2.5-2.9 for 5 seconds.
    3.4. Select 2HI or 4HI on the transfer case selector.
    3.5. Drive the vehicle in D4 with the TCC ON.
    3.6. Verify that the speed ratio is 0.8-1.2 for 5 seconds.
  5. Select Specific DTC.
  6. Enter DTC P1875.

Has the test run and passed?

--

System OK

Go to Step 1