GM Service Manual Online
For 1990-2009 cars only

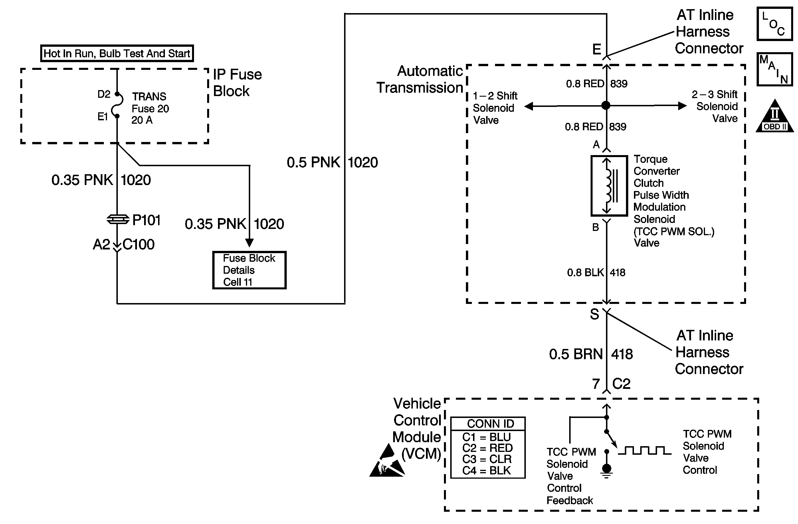
DTC P1860 TCC PWM Solenoid Circuit Electrical Gas


Object Number: 522598  Size: MF
Automatic Transmission Controls Schematics Gas
OBD II Symbol Description Notice
Handling ESD Sensitive Parts Notice

Circuit Description

The torque converter clutch pulse width modulation (TCC PWM) solenoid valve controls fluid acting on the converter clutch valve, which then controls TCC apply and release. The TCC PWM solenoid valve attaches to the control valve body within the transmission. Ignition voltage goes directly to the TCC PWM solenoid valve. The vehicle control modulator (VCM) controls the TCC PWM solenoid valve by providing a ground path on circuit 418. The current flows through the TCC PWM solenoid valve coil according to the duty cycle (percentage of ON time). The TCC PWM solenoid valve provides a smooth engagement of the torque converter clutch by operating on a duty cycle percent of ON time.

If the VCM detects a continuous open or short in the TCC PWM solenoid valve circuit or the TCC PWM solenoid valve, then DTC P1860 sets. DTC P1860 is a type C DTC. For California emission vehicles DTC P1860 is a type A DTC.

Conditions for Running the DTC

    • The engine is running greater than 475 RPM for 7 seconds.
    • No shift solenoid DTCs P0751, P0753, P0756, or P0758.
    • No system voltage DTC P0560.
    • Commanded gear is first.

Conditions for Setting the DTC

All conditions for running the DTC are met, and either of the following conditions occur for 4.3 out of 5 seconds.

    • The VCM commands the TCC PWM solenoid valve to OFF (0%) and the voltage input remains low (zero volts).
    • The VCM commands the TCC PWM solenoid valve to ON (100%) and the voltage input remains high (B+).

Action Taken When the DTC Sets

    • The VCM illuminates the malfunction indicator lamp for California emission vehicles.
    • The VCM inhibits TCC engagement.
    • The VCM inhibits 4th gear.
    • The VCM freezes shift adapts from being updated.
    • The VCM stores DTC P1860 in VCM history.

Conditions for Clearing the MIL/DTC

    • For California emissions, the VCM turns OFF the MIL during the third consecutive trip in which the diagnostic test runs and passes.
    • A scan tool clears the DTC from VCM history.
    • For California emissions, the VCM clears the DTC from VCM history if the vehicle completes 40 consecutive warm-up cycles without an emission related diagnostic fault occurring.
    • For Federal emissions, the VCM clears the DTC from VCM history if the vehicle completes 40 consecutive warm-up cycles without a non-emission related diagnostic fault occurring.
    • The VCM cancels the DTC default actions when the fault no longer exists and the ignition switch is OFF long enough in order to power down the VCM.

Diagnostic Aids

    • Inspect the wiring at the VCM, the transmission connector and all other circuit connecting points for the following conditions:
       - A backed out terminal
       - A damaged terminal
       - Reduced terminal tension
       - A chafed wire
       - A broken wire inside the insulation
       - Moisture intrusion
       - Corrosion
    • When diagnosing for an intermittent short or open, massage the wiring harness while watching the test equipment for a change.
    • First diagnose and clear any engine DTCs or TP sensor codes that are present. Then inspect for any transmission DTCs that may have reset.

Test Description

The numbers below refer to the step numbers on the diagnostic table.

  1. This step tests for voltage to the TCC PWM solenoid valve circuit at the 20-way connector.

  2. This step tests the ability of the VCM and wiring to control the ground circuit.

  3. This step tests the resistance of the TCC PWM solenoid valve and the internal wiring harness.

P1860

Step

Action

Value(s)

Yes

No

1

Did you perform the Powertrain Diagnostic System Check?

--

Go to Step 2

Go to Powertrain On Board Diagnostic (OBD) System Check 5.0/5.7L or Powertrain On Board Diagnostic (OBD) System Check 7.4L

2

  1. Install a Scan Tool .
  2. With the engine OFF, turn the ignition switch to the RUN position.
  3. Important: Before clearing the DTC, use the scan tool in order to record the Freeze Frame and Failure Records. Using the Clear Info function erases the Freeze Frame and Failure Records from the VCM.

  4. Record the Freeze Frame and Failure Records.
  5. Clear the DTC.
  6. Inspect the transmission fuse.

Is the fuse open?

--

Go to Step 3

Go to Step 4

3

Inspect the following components for a short to ground.

    • Circuit 1020
    • The 3 solenoids
    • The automatic transmission wiring harness assembly

Refer to General Electrical Diagnosis in Wiring Systems.

Was the condition found?

--

Go to Step 17

Go to Diagnostic Aids

4

  1. Turn the ignition OFF.
  2. Disconnect the transmission 20-way connector (additional DTCs may set).
  3. Install the J 44152 jumper harness (20 pins) on the engine harness connector.
  4. With the engine off, turn the ignition to the RUN position.
  5. Connect a test lamp from the J 44152 cavity E to ground.

Is the test lamp ON?

--

Go to Step 6

Go to Step 5

5

Repair the open or high resistance in ignition voltage feed circuit 1020 (PNK) to the TCC PWM solenoid valve.

Refer to Wiring Repairs in Wiring Systems.

Is the repair complete?

--

Go to Step 17

--

6

  1. Install the test lamp from cavities E to S of the J 44152 .
  2. Command the TCC PWM solenoid valve ON and OFF three times.

Does the test lamp turn ON when you command the TCC PWM solenoid valve ON, and does the lamp turn OFF when you command the TCC PWM solenoid valve OFF?

--

Go to Step 8

Go to Step 7

7

  1. Inspect circuit 418 (BRN) for an open or short to ground.
  2. Refer to General Electrical Diagnosis in Wiring Systems.

  3. Repair the circuit if necessary. Refer to Wiring Repairs in Wiring Systems.

Was the condition found?

--

Go to Step 17

Go to Step 9

8

  1. Install the J 44152 on the transmission 20-way connector (Automatic Transmission Connector End View).
  2. Using the J 39200 digital multimeter (DMM) and the J 35616 connector test adapter kit, measure the resistance between terminals E and S.

Is the resistance within the specified values?

10-15ohms

Go to Step 11

Go to Step 10

9

Replace the VCM.

Refer to VCM Replacement/Programming (5.7L) or VCM Replacement/Programming (7.4L) in Engine Controls.

Is the replacement complete?

--

Go to Step 17

--

10

  1. Disconnect the automatic transmission wiring harness assembly at the TCC PWM solenoid valve.
  2. Measure the resistance of the TCC PWM solenoid valve.

Is the resistance within the specified values?

10-15ohms

Go to Step 12

Go to Step 15

11

  1. Measure the resistance between terminal E and ground.
  2. Measure the resistance between terminal S and ground.

Are both readings greater than the specified value?

250kohms

Go to Diagnostic Aids

Go to Step 13

12

Inspect the AT wiring harness assembly for an open circuit.

Refer to General Electrical Diagnosis in Wiring Systems.

Was the condition found?

--

Go to Step 16

--

13

  1. Disconnect the automatic transmission wiring harness assembly at the TCC PWM solenoid valve.
  2. Measure the resistance between each of the component terminals and ground.

Are both readings greater than the specified value?

250kohms

Go to Step 14

Go to Step 15

14

Inspect the automatic transmission wiring harness assembly for a short to ground.

Refer to General Electrical Diagnosis in Wiring Systems.

Was the condition found?

--

Go to Step 16

--

15

Replace the TCC PWM solenoid valve.

Refer to Control Valve Body Replacement .

Is the replacement complete?

--

Go to Step 17

--

16

Replace the automatic transmission wiring harness assembly.

Refer to AT Wiring Harness Replacement.

Is the replacement complete?

--

Go to Step 17

--

17

Perform the following procedure in order to verify the repair:

  1. Select DTC.
  2. Select Clear Info.
  3. Select the parameters, TCC Duty Cycle, TCC Duty Cycle Open/Shorted to GND and TCC Duty Cycle Shorted to Volts.
  4. Operate the vehicle under the following conditions:
  5. • The TCC PWM Solenoid Valve is commanded On and TCC Duty Cycle Shorted to Volts is No.
    • The TCC PWM Solenoid Valve is commanded Off and TCC Duty Cycle Open/Shorted to GND is No.
    • Each condition is met for 5 seconds.
  6. Select Specific DTC.
  7. Enter DTC P1860.

Has the test run and passed?

--

System OK

Go to Step 1

DTC P1860 TCC PWM Solenoid Circuit Electrical Diesel


Object Number: 522659  Size: MF
Automatic Transmission Controls Schematics Diesel
OBD II Symbol Description Notice
Handling ESD Sensitive Parts Notice

Circuit Description

The torque converter clutch pulse width modulation (TCC PWM) solenoid valve controls fluid acting on the converter clutch valve, which then controls TCC apply and release. The TCC PWM solenoid valve attaches to the control valve body within the transmission. Ignition voltage goes directly to the TCC PWM solenoid valve. The powertrain control module (PCM) controls the TCC PWM solenoid valve by providing a ground path on circuit 418. The current flows through the TCC PWM solenoid valve coil according to the duty cycle (percentage of ON and OFF time). The TCC PWM solenoid valve provides a smooth engagement of the torque converter clutch by operating on a duty cycle percent of ON time.

If the PCM detects a continuous open or short to ground in the TCC PWM solenoid valve circuit, or the TCC PWM solenoid valve, then DTC P1860 sets. DTC P1860 is a type A DTC.

Conditions for Running the DTC

    • System voltage is 8.0-18.0 volts.
    • The engine is running more than 475 RPM for greater than 7 seconds.
    • Commanded gear is 1st.

Conditions for Setting the DTC

All of the above conditions are met, and one of the following conditions occur for 4.3 seconds out of 5 seconds.

    • The PCM commands the solenoid OFF, and the voltage input remains low (zero volts).
    • The PCM commands the solenoid to ON (100%) and the voltage input remains high (B+).

Action Taken When the DTC Sets

    • The PCM illuminates the malfunction indicator lamp (MIL).
    • The PCM inhibits TCC engagement.
    • The PCM inhibits 4th gear.
    • The PCM freezes shift adapts from being updated.
    • The PCM stores DTC P1860 in PCM history.

Conditions for Clearing the MIL/DTC

    • For Federal and California emissions, the PCM turns OFF the MIL during the third consecutive trip in which the diagnostic test runs and passes.
    • A scan tool clears the DTC from PCM history.
    • For Federal and California emissions, the PCM clears the DTC from PCM history if the vehicle completes 40 consecutive warm-up cycles without an emission related diagnostic fault occurring.
    • For vehicles equal to or greater than 15,000 lbs GVW, the PCM clears the DTC from PCM history if the vehicle completes 40 consecutive warm-up cycles without a non-emission related diagnostic fault occurring.
    • The PCM cancels the DTC default actions when the fault no longer exists and the ignition switch is OFF long enough in order to power down the PCM.

Diagnostic Aids

    • Inspect the wiring at the PCM, the transmission connector and all other circuit connecting points for the following conditions:
       - A backed out terminal
       - A damaged terminal
       - Reduced terminal tension
       - A chafed wire
       - A broken wire inside the insulation
       - Moisture intrusion
       - Corrosion
    • When diagnosing for an intermittent short or open, massage the wiring harness while watching the test equipment for a change.
    • An open in the ignition feed circuit 1020, will cause multiple DTCs to set.
    • First, diagnose and clear any engine DTCs that are present. Then inspect for any transmission DTCs that may have reset.

Test Description

The numbers below refer to the step numbers on the diagnostic table.

  1. This step tests for voltage to the TCC PWM solenoid valve.

  2. This step tests the ability of the PCM and wiring to control the TCC PWM solenoid valve ground circuit.

  3. This step tests the resistance of the TCC PWM solenoid valve and the automatic transmission wiring harness assembly.

  4. If the automatic transmission wiring harness assembly is open, do not repair the wiring harness. You must replace the automatic transmission wiring harness assembly.

DTC P1860 (Diesel)

Step

Action

Value(s)

Yes

No

1

Did you perform the Powertrain Diagnostic System Check?

--

Go to Step 2

Go to Powertrain On Board Diagnostic (OBD) System Check

2

  1. Install a Scan Tool .
  2. With the engine OFF, turn the ignition switch to the RUN position.
  3. Important: Before clearing the DTC, use the scan tool in order to record the Freeze Frame and Failure Records. Using the Clear Info function erases the Freeze Frame and Failure Records from the PCM.

  4. Record the Freeze Frame and Failure Records.
  5. Clear the DTC.
  6. If DTCs P1842, P1843, P1845 or P1847, are also set, inspect the fuse.

Is the fuse open?

--

Go to Step 3

Go to Step 4

3

Inspect circuit 1020 (PNK), the three solenoids, and the automatic transmission wiring harness assembly for a short to ground.

Refer to General Electrical Diagnosis in Wiring Systems.

Was the shorted condition corrected?

--

Go to Step 17

Go to Diagnostic Aids

4

  1. Turn the ignition OFF.
  2. Disconnect the transmission 20-way connector (additional DTCs may set).
  3. Install the J 44152 jumper harness (20 pins) on the engine side of the 20-way connector.
  4. With the engine off, turn the ignition to the RUN position.
  5. Connect a test lamp from J 44152 cavity E to a good ground.

Is the test lamp ON?

--

Go to Step 6

Go to Step 5

5

Repair the open or high resistance in ignition feed circuit 1020 to the TCC PWM solenoid valve.

Refer to Wiring Repairs in Wiring Systems.

Is the repair complete?

--

Go to Step 17

--

6

  1. Install the test lamp from cavity E to cavity S of the J 44152 .
  2. Use the scan tool output control function in order to command the TCC PWM solenoid valve ON and OFF three times.

Does the test lamp illuminate when you command the TCC PWM solenoid valve ON, and does the lamp turn OFF when you command the TCC PWM solenoid valve OFF?

--

Go to Step 8

Go to Step 7

7

  1. Inspect circuit 418 (BRN) for an open or short to ground.
  2. Refer to General Electrical Diagnosis in Wiring Systems.

  3. Repair the circuit if necessary.
  4. Refer to Wiring Repairs in Wiring Systems.

Was an open or short to ground condition found?

--

Go to Step 17

Go to Step 9

8

  1. Install the J 44152 on the transmission side of the 20-way connector.
  2. Measure the resistance between terminals E and S. Use the J 39200 digital multimeter (DMM) and the J 35616 connector test adapter kit.

Is the resistance within the specified value?

10-15ohms

Go to Step 11

Go to Step 10

9

Replace the PCM.

Refer to Powertrain Control Module Replacement/Programming in Engine Controls.

Is the replacement complete?

--

Go to Step 17

--

10

  1. Disconnect the automatic transmission wiring harness assembly at the TCC PWM solenoid valve.
  2. Measure the resistance of the TCC PWM solenoid valve.

Is the resistance within the specified value?

10-15ohms

Go to Step 12

Go to Step 15

11

  1. Measure the resistance between terminal E and ground.
  2. Measure the resistance between terminal S and a good ground.

Are both readings greater than the specified value?

250kohms

Go to Diagnostic Aids

Go to Step 13

12

Inspect the automatic transmission wiring harness assembly for an open circuit.

Refer to General Electrical Diagnosis in Wiring Systems.

Was an open condition found?

--

Go to Step 16

--

13

  1. Disconnect the automatic transmission wiring harness assembly at the TCC PWM solenoid valve.
  2. Measure the resistance between each of the component terminals and a good ground.

Are both readings greater than the specified value?

250kohms

Go to Step 14

Go to Step 15

14

Inspect the automatic transmission wiring harness assembly for a short to ground.

Refer to General Electrical Diagnosis in Wiring Systems.

Was a short to ground condition found?

--

Go to Step 16

--

15

Replace the TCC PWM solenoid valve.

Refer to Control Valve Body Replacement .

Is the replacement complete?

--

Go to Step 17

--

16

Replace the automatic transmission (AT) wiring harness assembly.

Refer to Wiring Harness Replacement.

Is the replacement complete?

--

Go to Step 17

--

17

Perform the following procedure in order to verify the repair:

  1. Select DTC.
  2. Select Clear Info.
  3. Select the parameters, TCC Duty Cycle, TCC Duty Cycle Open/Shorted to Ground and TCC Duty Cycle Shorted to Volts.
  4. Operate the vehicle under the following conditions:
  5. • The TCC PWM solenoid valve is commanded On and TCC Duty Cycle Shorted to Volts is No.
    • The TCC PWM solenoid valve is commanded Off and TCC Duty Cycle Open/Shorted to Ground is No.
    • Each condition is met for 5 seconds.
  6. Select Specific DTC.
  7. Enter DTC P1860.

Has the test run and passed?

--

System OK

Go to Step 1