GM Service Manual Online
For 1990-2009 cars only

DTC P0719 Brake Switch Circuit Low Input Gas


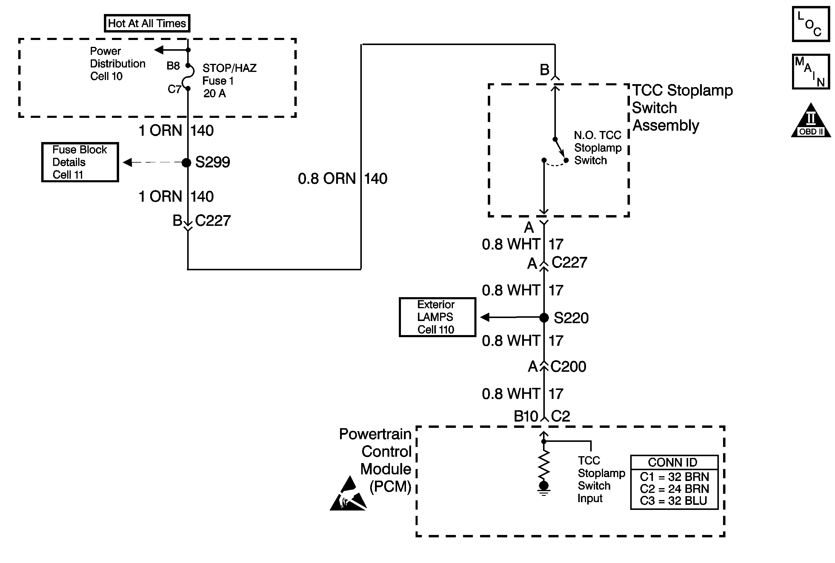
Object Number: 522576  Size: MF
Automatic Transmission Controls Schematics Gas
OBD II Symbol Description Notice
Handling ESD Sensitive Parts Notice

Circuit Description

The TCC/Stoplamp switch indicates the brake pedal status. The normally-closed TCC/Stoplamp switch supplies a B+ signal on circuit 420 to the vehicle control module (VCM). The signal voltage circuit opens when the brakes are applied.

If the VCM detects an open TCC/Stoplamp switch circuit during accelerations, then DTC P0719 sets. DTC P0719 is a type C DTC.

Conditions for Running the DTC

    • No OSS DTC P0502 or DTC P0503.
    • The following sequence of events occurs:
        1. The vehicle speed is less than 8 km/h (5 mph).
        2. Then the vehicle speed is 8-40 km/h (5-25 mph) for 3.1 seconds.
        3. Then the vehicle speed is greater than 40 km/h (25 mph) for 6 seconds.

Conditions for Setting the DTC

    • All conditions are met for 8 occurrences.
    • The brake switch is ON for greater than 900 seconds (15 minutes).

Action Taken When the DTC Sets

    • The VCM does not illuminate the malfunction indicator lamp (MIL).
    • For TCC scheduling, the VCM disregards the brake switch state if the TP sensor is greater than 1% and the vehicle speed is greater than 20 MPH.
    • The VCM stores DTC P0719 in VCM history.

Conditions for Clearing the DTC

    • A scan tool clears the DTC from VCM history.
    •  The VCM clears the DTC from VCM history if the vehicle completes 40 warm-up cycles without a non-emission-related diagnostic fault occurring.
    • The VCM cancels the DTC default actions when the fault no longer exists and the ignition switch is OFF long enough in order to power down the VCM.

Diagnostic Aids

    • Inspect the wiring at the VCM, the TCC/Stoplamp switch and all other circuit connecting points for the following conditions:
       - A backed out terminal
       - A damaged terminal
       - Reduced terminal tension
       - A chafed wire
       - A broken wire inside the insulation
       - Moisture intrusion
       - Corrosion
    • When diagnosing for an intermittent short or open, massage the wiring harness while watching the test equipment for a change.
    • Ask about the customer's driving habits and any unusual driving conditions he or she might have, such as stop and go traffic or expressway driving.
    • Inspect the brake switch for proper mounting and adjustment.
    • Inspect for the most current calibration ID and the latest bulletins.
    • First diagnose and clear any engine DTCs or TP sensor codes that are present. Then inspect for any transmission DTCs that may have reset.

Test Description

The numbers below refer to the step numbers on the diagnostic table.

  1. This step tests for TCC/Stoplamp switch voltage to the VCM connector.

  2. This step isolates the TCC/Stoplamp switch as a source for setting the DTC.

  3. This step tests for a short to ground in circuit 441 (ignition voltage) to the TCC/Stoplamp switch.

  4. This step tests for a short to ground in circuit 420, from the TCC/Stoplamp switch to the VCM.

  5. This step isolates the VCM as a source for causing the fuse to open.

P0719

Step

Action

Value(s)

Yes

No

1

Did you perform the Powertrain Diagnostic System Check?

--

Go to Step 2

Go to Powertrain On Board Diagnostic (OBD) System Check 5.0/5.7L or Powertrain On Board Diagnostic (OBD) System Check 7.4L

2

  1. Install a Scan Tool .
  2. With the engine OFF, turn the ignition switch to the RUN position.
  3. Important: Before clearing the DTC, use the scan tool in order to record the Failure Records. Using the Clear Info function erases the Failure Records from the VCM.

  4. Record the Failure Records.
  5. Clear the DTC.
  6. Select the TCC Brake Switch on the Scan Tool .
  7. Do not apply the brake pedal.

Does the Scan Tool TCC/Stoplamp Switch indicate CLOSED, when the brake pedal is not applied?

--

Go to Diagnostic Aids

Go to Step 3

3

  1. Remove the brake fuse.
  2. Inspect the brake fuse for an open.
  3. Refer to General Electrical Diagnosis in Wiring Systems.

Is the fuse open?

--

Go to Step 10

Go to Step 4

4

  1. Turn the ignition switch to the OFF position.
  2. Disconnect the VCM connector C4 from the VCM.
  3. Connect a 12-volt test lamp to a good ground.
  4. Using the J 35616-A connector test adapter kit and the 12-volt test lamp, probe terminal C4-10.
  5. Re-install the fuse.
  6. Turn the ignition switch to the RUN position.
  7. Do not apply the brake pedal.

Is the test lamp on?

--

Go to Step 15

Go to Step 5

5

  1. Turn the ignition key to the OFF position.
  2. Remove the connector from the TCC/Stoplamp switch.
  3. Use the J 39200 digital multimeter (DMM) to measure B+ voltage at terminal D of the brake switch connector.
  4. Turn the ignition switch to the RUN position.

Is B+ voltage indicated?

10-13 volts

Go to Step 7

Go to Step 6

6

Important: The condition that affects this circuit may exist in other connecting branches of the circuit. Refer to Power Distribution Schematics in Wiring Systems for complete circuit distribution.

Inspect circuit 441 (BRN) for an open.

Was the condition corrected?

--

Go to Step 17

--

7

  1. Turn the key to the RUN position.
  2. Install a fused jumper wire from terminal C to terminal D of the TCC/Stoplamp switch connector.
  3. Probe the VCM connector terminal C4-10 with the test lamp.

Is the test lamp on?

--

Go to Step 9

Go to Step 8

8

Important: The condition that affects this circuit may exist in other connecting branches of the circuit. Refer to Power Distribution Schematics in Wiring Systems for complete circuit distribution.

Inspect circuit 420 (PPL) for an open.

Was the condition corrected?

--

Go to Step 17

--

9

Replace the TCC/Stoplamp switch.

Refer to Stop Lamp Switch Replacement in Hydraulic Brakes.

Is the replacement complete?

--

Go to Step 17

--

10

  1. Turn the key to the RUN position.
  2. Apply and hold the brake pedal.
  3. Install a new fuse while keeping the brake pedal applied.

Does the fuse open with the brake pedal applied?

--

Go to Step 11

Go to Step 12

11

Important: The condition that affects this circuit may exist in other connecting branches of the circuit. Refer to Power Distribution Schematics in Wiring Systems for complete circuit distribution.

Inspect circuit 441 (BRN) for a short to ground.

Was the condition corrected?

--

Go to Step 17

--

12

With the key in the RUN position, release the brake pedal.

Does the fuse open when the brake pedal is released?

--

Go to Step 13

Go to Diagnostic Aids

13

  1. Disconnect the VCM connector C4 from the VCM (additional DTCs may set).
  2. Turn the key to the RUN position.
  3. Install a new fuse.
  4. Do not apply the brake pedal.

Does the fuse open?

--

Go to Step 14

Go to Step 15

14

Important: The condition that affects this circuit may exist in other connecting branches of the circuit. Refer to Power Distribution Schematics in Wiring Systems for complete circuit distribution.

Inspect circuit 420 (PPL) for a short to ground.

Was the condition corrected?

--

Go to Step 17

--

15

Inspect the VCM terminals for corrosion or reduced terminal tension.

Was a shorted condition found?

--

Go to Step 17

Go to Step 16

16

Replace the VCM.

Refer to VCM Replacement/Programming (5.7) or VCM Replacement/Programming (7.4L) with KS calibration prom.

Is the replacement complete?

--

Go to Step 17

--

17

Perform the following procedure in order to verify the repair:

  1. Select DTC.
  2. Select Clear Info.
  3. Operate the vehicle under the following conditions:
    • With the engine OFF, turn the ignition switch to the RUN position.
    • The brake pedal is not applied.
    • Select TCC Brake Sw. on the Scan Tool .

Does the TCC Brake Sw. indicate CLOSED when the brake pedal is not applied, then indicate OPEN when the brake pedal is applied?

--

System OK

Go to Step 1

DTC P0719 Brake Switch Circuit Low Input Diesel


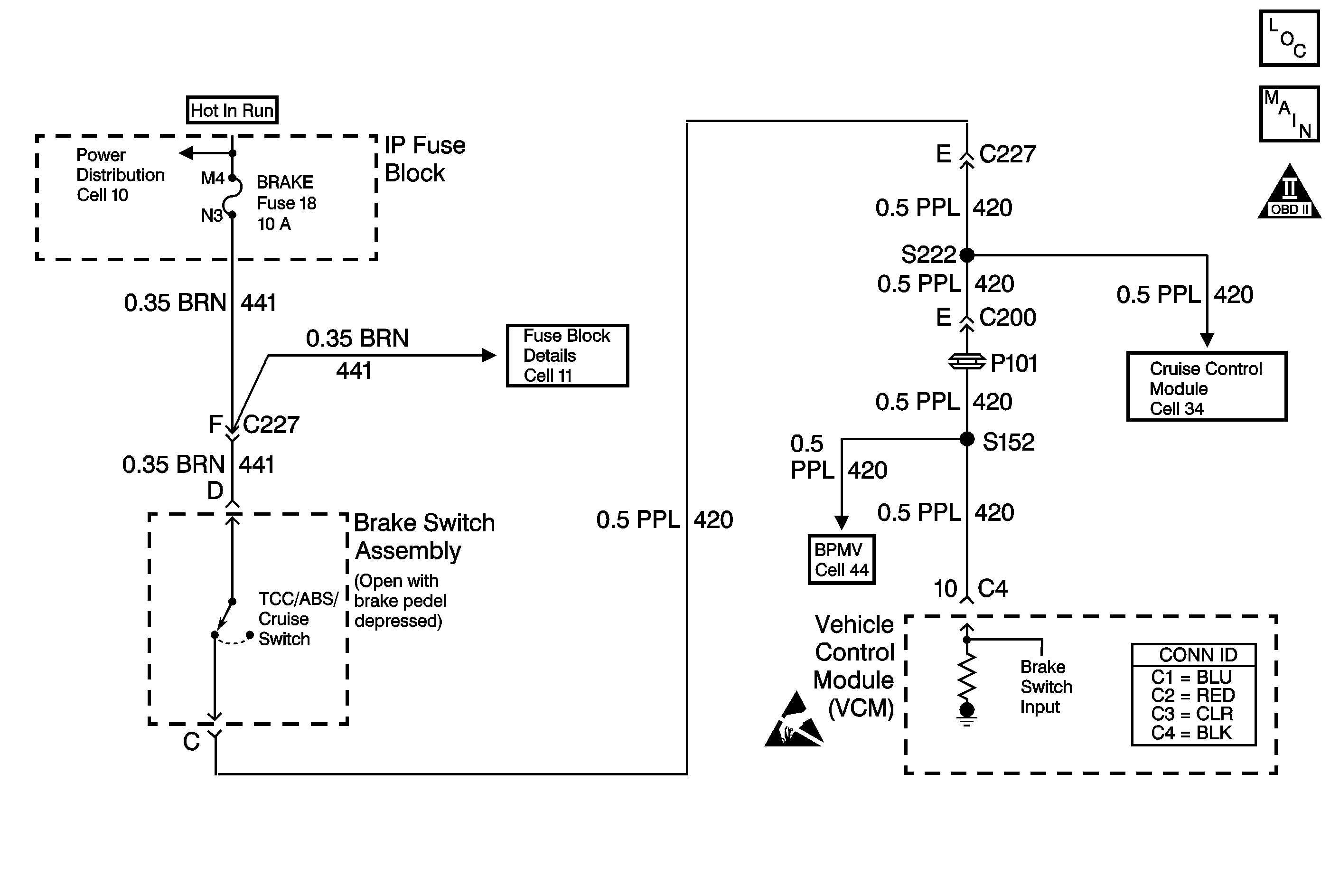
Object Number: 522646  Size: MF
Automatic Transmission Controls Schematics Diesel
OBD II Symbol Description Notice
Handling ESD Sensitive Parts Notice

Circuit Description

The normally open TCC/Stoplamp switch indicates brake pedal status to the powertrain control module (PCM). Applying the brake pedal closes the switch, supplying voltage to the PCM. Releasing the brake pedal interrupts voltage to the PCM.

If the PCM detects an open TCC/Stoplamp switch (stuck OFF) during decelerations, then DTC P0719 sets. DTC P0719 is a type C DTC.

Conditions for Running the DTC

    • No OSS DTCs P0502 or P0503.
    • The following sequence of events occur:
       - The vehicle speed is greater than 32 km/h (20 mph) for 6 seconds.
       - The vehicle speed is 8-32 km/h (5-20 mph) for greater than 3 seconds.
       - The vehicle speed is less than 8 km/h (5 mph).

Conditions for Setting the DTC

All the conditions for running the DTC are met for ten occurrences.

Action Taken When the DTC Sets

    • The PCM does not illuminate the malfunction indicator lamp (MIL).
    • The PCM stores DTC P0719 in PCM history.

Conditions for Clearing the DTC

    • A scan tool clears the DTC from PCM history.
    • The PCM clears the DTC from PCM history if the vehicle completes 40 consecutive warm-up cycles without a non-emission-related diagnostic fault occurring.
    • The PCM cancels the DTC default actions when the fault no longer exists and the ignition switch is OFF long enough in order to power down the PCM.

Diagnostic Aids

    • Inspect the wiring at the PCM, the TCC/Stoplamp switch connector and all other circuit connecting points for the following conditions:
       - A backed out terminal
       - A damaged terminal
       - Reduced terminal tension
       - A chafed wire
       - A broken wire inside the insulation
       - Moisture intrusion
       - Corrosion
    • When diagnosing for an intermittent short or open, massage the wiring harness while watching the test equipment for a change.
    • Ask about the customer's driving habits and any unusual driving conditions he or she might have, such as stop and go traffic or expressway driving.
    • Inspect the TCC/Stoplamp switch for proper mounting and adjustment.
    • First diagnose and clear any engine DTCs codes that are present. Then inspect for any transmission DTCs that may have reset.

Test Description

The numbers below refer to the step numbers on the diagnostic table.

  1. This step isolates the TCC/Stoplamp switch as a source for setting the DTC.

  2. This step tests for a short to ground between the fuse and the TCC/Stoplamp switch.

  3. This step tests for a short to ground in circuit 17.

  4. This step removes the PCM from circuit 17 as the source of a short to ground.

P0719 (Diesel)

Step

Action

Value(s)

Yes

No

1

Did you perform the Powertrain Diagnostic System Check?

--

Go to Step 2

Go to Powertrain On Board Diagnostic (OBD) System Check

2

  1. Install a Scan Tool .
  2. With the engine OFF, turn the ignition switch to the RUN position.
  3. Important: Before clearing the DTC, use the scan tool in order to record the Freeze Frame and Failure Records. Using the Clear Info function erases the Failure Records from the PCM.

  4. Record the DTC Failure Records.
  5. Clear the DTC.
  6. Select the TCC Brake Switch on the scan tool.
  7. Disconnect the TCC/Stoplamp switch connector from the TCC/Stoplamp switch.
  8. Connect a test lamp from cavity A of the TCC/Stoplamp switch connector to a known good ground.

Is the test lamp ON?

--

Go to Step 3

Go to Step 4

3

Install a fused jumper wire from terminal B to terminal A of the TCC/Stoplamp switch connector.

Did the scan tool TCC/Brake switch status change from OPEN to CLOSED?

--

Go to Step 10

Go to Step 12

4

  1. Remove the Stop/Hazard fuse.
  2. Inspect the Stop/Hazard fuse for an open.
  3. Refer to General Electrical Diagnosis in Wiring Systems.

Is the fuse open?

--

Go to Step 5

Go to Step 11

5

Replace the Stop/Hazard fuse.

Does the replacement fuse open immediately?

--

Go to Step 6

Go to Step 7

6

Inspect circuit 140 (ORN) for a short to ground.

Refer to General Electrical Diagnosis in Wiring Systems.

Was the condition corrected?

--

Go to Step 15

--

7

  1. Reconnect the TCC/Stoplamp switch connector.
  2. Apply the brake pedal.

Does the fuse open immediately?

--

Go to Step 8

Go to Diagnostic Aids

8

  1. Disconnect the PCM connector C2 from the PCM.
  2. Replace the Stop/Hazard fuse.
  3. Apply the brake pedal.
  4. Does the fuse open immediately?

--

Go to Step 9

Go to Step 13

9

Inspect circuit 17 (WHT) for a short to ground.

Refer to General Electrical Diagnosis in Wiring Systems.

Was the condition corrected?

--

Go to Step 15

--

10

Replace the TCC/Stoplamp switch.

Refer to Stop Lamp Switch Replacement in Hydraulic Brakes.

Is the replacement complete?

--

Go to Step 15

--

11

Inspect circuit 140 (ORN) for an open.

Refer to General Electrical Diagnosis in Wiring Systems.

Was the condition corrected?

--

Go to Step 15

--

12

Inspect circuit 17 (WHT) for an open.

Refer to General Electrical Diagnosis in Wiring Systems.

Was the condition found?

--

Go to Step 15

Go to Step 13

13

Inspect the PCM pins, the connector terminals, and the wiring for corrosion or shorting together.

Was the condition found?

--

Go to Step 15

Go to Step 14

14

Replace the PCM.

Refer to Powertrain Control Module Replacement/Programming in Engine Controls.

Is the replacement complete?

--

Go to Step 15

--

15

Perform the following procedure in order to verify the repair:

  1. Select DTC.
  2. Select Clear Info.
  3. Operate the vehicle under the following conditions:
  4. • With the engine OFF, the ignition switch is in the RUN position.
    • Depress the brake pedal.
    • The scan tool TCC Brake Switch status must indicate CLOSED (12 volts) for 2 seconds.
  5. Select Specific DTC.
  6. Enter DTC P0719.

Has the test run and passed?

--

System OK

Go to Step 1