GM Service Manual Online
For 1990-2009 cars only

DTC P0560 System Voltage High/Low Gas


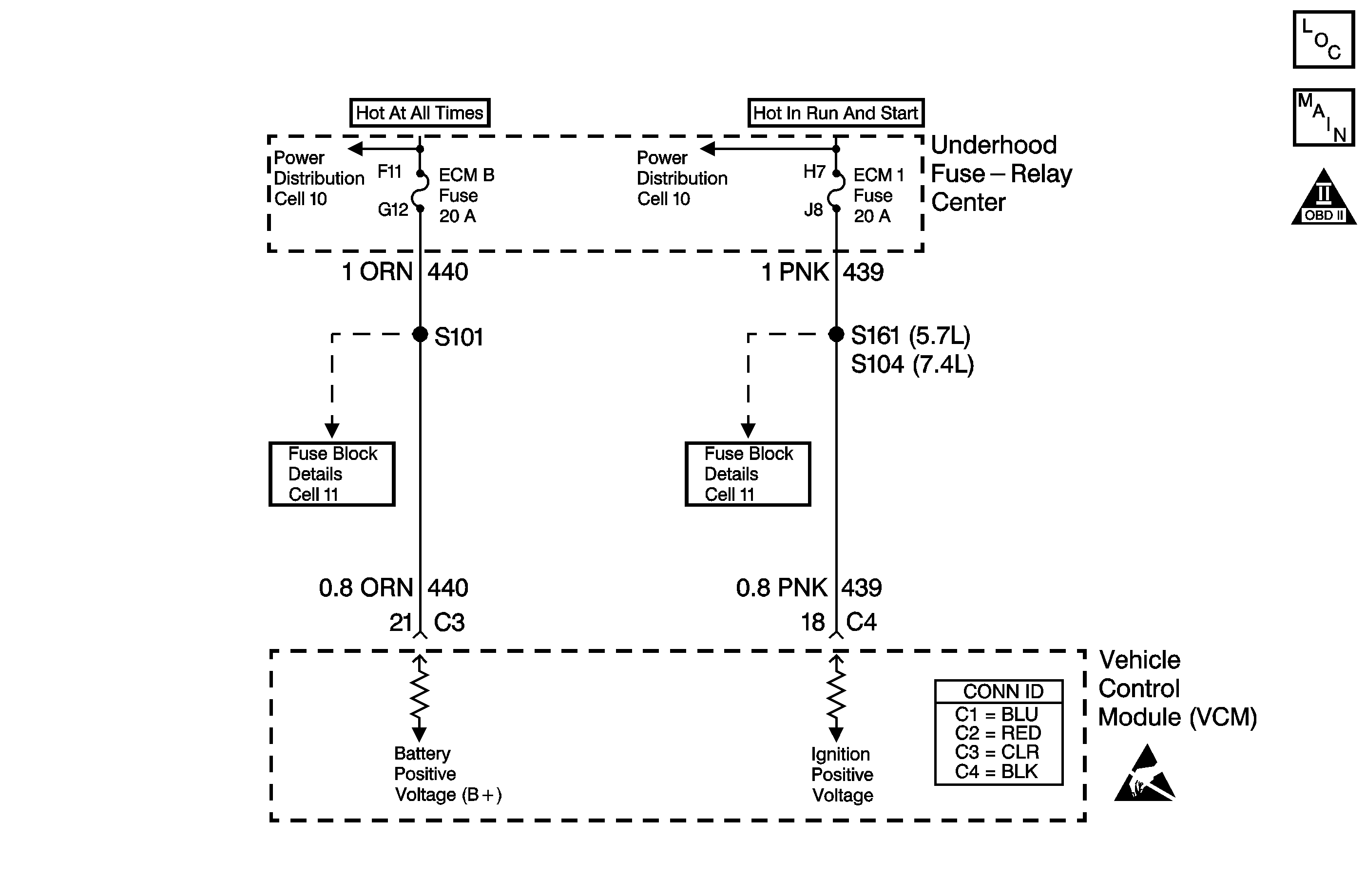
Object Number: 522564  Size: MF
Automatic Transmission Controls Schematics Gas
OBD II Symbol Description Notice
Handling ESD Sensitive Parts Notice

Circuit Description

Circuit 439 is the ignition voltage feed for the vehicle control module (VCM). Circuit 440 is the battery voltage feed for the VCM.

If the VCM detects a low voltage, a high voltage for a long time, or a high voltage for a short amount of time, then DTC P0560 sets. DTC P0560 is a type C DTC.

Conditions for Running the DTC

System Voltage Low

The engine speed is greater than 1,500 RPM.

System Voltage High

No engine speed needed.

Conditions for Setting the DTC

System Voltage Low

One of the following conditions exists for greater than 15 seconds.

    • The system voltage is less than 10.5 volts at a maximum transmission temperature of 152°C (305°F).
    • The system voltage is less than 6.7 volts at a minimum transmission temperature of -40°C (-40°F).

System Voltage High

The system voltage is greater than 19 volts for 10 seconds.

Action Taken When the DTC Sets

    • The VCM does not illuminate the malfunction indicator lamp (MIL).
    • The VCM causes an immediate landing to second gear.
    • The VCM turns off the PC solenoid valve.
    • The VCM inhibits the TCC engagement.
    • The VCM freezes the shift adapts.
    • The VCM records the operating conditions when the Conditions for Setting the DTC are met. The VCM stores this information as Failure Records.
    • The VCM stores DTC P0560 in VCM history.

Conditions for Clearing the DTC

    • A scan tool clears the DTC from VCM history.
    •  The VCM clears the DTC from VCM history if the vehicle completes 40 warm-up cycles without a non-emission-related diagnostic fault occurring.
    • The VCM cancels the DTC default actions when the fault no longer exists and the ignition switch is OFF long enough in order to power down the VCM.

Diagnostic Aids

    • First diagnose and clear any engine DTCs or TP sensor codes that are present. Then inspect for any transmission DTCs that may have reset.
    • Charging the battery with a battery charger and jumpstarting an engine may set this DTC.
    • Inspect the generator belt condition and tension.
    • Inspect the connectors at the VCM, the Underhood Fuse Relay Center and all other circuit connecting points for an intermittent condition. Refer to Testing for Intermittent Conditions and Poor Connections in Wiring Systems.
    • Inspect the circuit wiring for an intermittent condition. Refer to Testing for Electrical Intermittents in Wiring Systems.

Test Description

The numbers below refer to the step numbers on the diagnostic table.

  1. This step tests the charging system voltage.

  2. This step tests the battery voltage input at the VCM.

  3. This step tests the ignition voltage and battery voltage inputs at the VCM.

P0560

Step

Action

Value(s)

Yes

No

1

Did you perform the Powertrain Diagnostic System Check?

--

Go to Step 2

Go to Powertrain On Board Diagnostic (OBD) System Check 5.0/5.7L or Powertrain On Board Diagnostic (OBD) System Check 7.4L

2

  1. Install a Scan Tool .
  2. Turn ON the ignition, with the engine OFF.
  3. Important: Before clearing the DTC, use the Scan Tool in order to record Failure Records. Using the Clear Info function erases the Failure Records from the VCM.

  4. Record the DTC Failure Records.
  5. Clear the DTC.
  6. Using the J 39200 digital multimeter (DMM), measure the battery voltage across the battery terminals.

Does the voltage measure higher than the specified value?

10 volts

Go to Step 3

Go to Battery Is Undercharged or Overcharged

3

  1. Start the engine.
  2. Warm the engine to normal operating temperature.

Does the generator/check engine light illuminate?

--

Go to Charging System Check

Go to Step 4

4

  1. Turn the headlights and the heater blower motor to the ON position.
  2. Increase the engine speed to 1500 RPM.
  3. Observe the J 39200 DMM battery voltage and record your voltage reading for reference.

Does the J 39200 DMM voltage measure within the specified range?

13-15 volts

Go to Step 5

Go to Charging System Check

5

  1. Increase the engine speed to 1,500 RPM.
  2. Observe the Scan Tool Ignition voltage.

Does the Scan Tool Ignition Voltage measure within the specified range.

13-15 volts

Go to Diagnosis Aids

Go to Step 6

6

  1. Turn OFF the ignition.
  2. Locate terminal C4-18 and terminal C3-21 in the VCM connectors. Do not disconnect the VCM connectors.
  3. Connect the J 39200 DMM black lead to ground.
  4. Start the engine.
  5. Run the engine at 1500 RPM with the headlights and the blower motor ON.
  6. Using the J 39200 DMM and the J 35616 connector test adapter kit, backprobe terminals C4-18 and C3-21 to measure the battery voltage and the ignition voltage input at VCM connectors.

Is there a voltage variance between the voltage measured at the battery (taken in step 4) and at terminals C4-18 and C3-21 that is greater than the specified value?

0.5 volts

Go to Step 7

Go to Step 10

7

Does terminal C4-18 have the voltage variance?

--

Go to Step 8

Go to Step 9

8

Repair the high resistance condition in the ignition power feed circuit (CKT 439) of the VCM.

Refer to Circuit Testing and Wiring Repairs in Wiring Systems.

Did you complete the repair?

--

Go to Step 11

--

9

Repair the high resistance condition in the battery power feed circuit (CKT 440) of the VCM.

Refer to Circuit Testing and Wiring Repairs and in Wiring Systems.

Did you complete the repair?

--

Go to Step 11

--

10

Replace the VCM.

Refer to VCM Replacement/Programming (5.7L) or VCM Replacement/Programming (7.4L) in Engine Controls.

Did you complete the replacement?

--

Go to Step 11

--

11

Perform the following procedure in order to verify the repair:

  1. Select DTC.
  2. Select Clear Info.
  3. Operate the vehicle under the following conditions:
  4. • Start the vehicle.
    • Warm the engine to normal operating temperature.
    • Ensure that the Scan Tool Ignition Voltage is 12-18 volts.
  5. Select Specific DTC.
  6. Enter DTC P0560.

Has the test run and passed?

--

System OK

Go to Step 1

DTC P0560 System Voltage High/Low Diesel


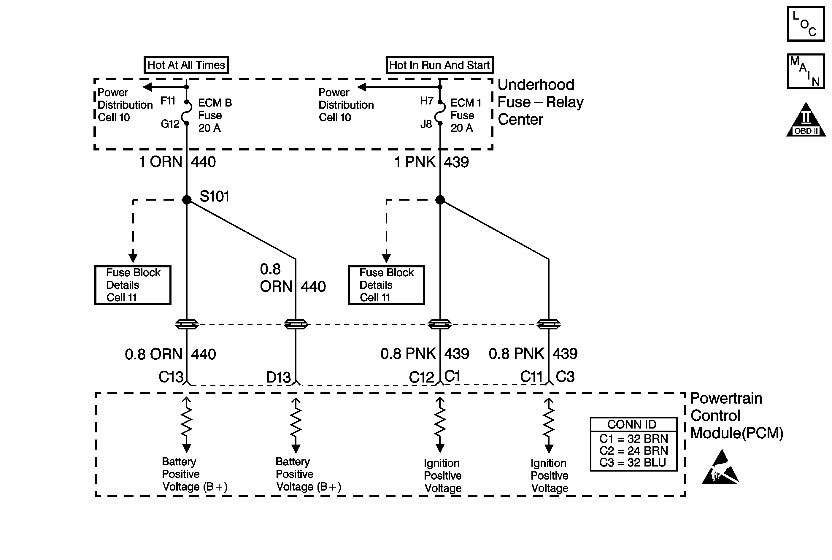
Object Number: 522635  Size: MF
Automatic Transmission Controls Schematics Diesel
OBD II Symbol Description Notice
Handling ESD Sensitive Parts Notice

Circuit Description

Circuit 339 is the ignition voltage feed for the powertrain control module (PCM). Circuit 440 is the battery voltage feed for the PCM.

If the PCM detects either a low system voltage or a high system voltage for a short time, then DTC P0560 sets. DTC P0560 is a type C DTC.

Conditions for Running the DTC

System Voltage Low

The engine speed is greater than 1,500 RPM.

System Voltage High

No engine speed needed.

Conditions for Setting the DTC

System Voltage Low

One of the following conditions exists for greater than 15 seconds.

    • The system voltage is less than 10.5 volts at a maximum transmission temperature of 152°C (305°F).
    • The system voltage is less than 6.7 volts at a minimum transmission temperature of -40°C (-40°F).

System Voltage High

The system voltage is greater than 19 volts for 10 seconds.

Action Taken When the DTC Sets

    • The PCM does not illuminate the malfunction indicator lamp (MIL).
    • The PCM commands an immediate landing to second gear.
    • The PCM turns off the PC solenoid valve.
    • The PCM inhibits the TCC engagement.
    • The PCM freezes the shift adapts.
    • The PCM records the operating conditions when the Conditions for Setting the DTC are met. The PCM stores this information as Failure Records.
    • The PCM stores DTC P0560 in PCM history.

Conditions for Clearing the DTC

    • A scan tool clears the DTC from PCM history.
    • The PCM clears the DTC from PCM history if the vehicle completes 40 consecutive warm-up cycles without a non-emission-related diagnostic fault occurring.
    • The PCM cancels the DTC default actions when the fault no longer exists and the ignition switch is OFF long enough in order to power down the PCM.

Diagnostic Aids

    • First diagnose and clear any engine DTCs that are present. Then inspect for any transmission DTCs that may have reset.
    • Charging the battery with a battery charger and jumpstarting an engine may set this DTC.
    • Inspect the connectors at the PCM, the Underhood Fuse Relay Center and all other circuit connecting points for an intermittent condition. Refer to Testing for Intermittent Conditions and Poor Connections in Wiring Systems.
    • Inspect the circuit wiring for an intermittent conditon. Refer to Testing for Electrical Intermittents in Wiring Systems.

Test Description

The numbers below refer to the step numbers on the diagnostic table.

  1. This step tests the charging system voltage.

  2. This step tests the battery voltage input at the PCM.

  3. This step tests the ignition voltage inputs at the PCM.

P0560

Step

Action

Value(s)

Yes

No

1

Did you perform the Powertrain Diagnostic System Check?

--

Go to Step 2

Go to Powertrain On Board Diagnostic (OBD) System Check

2

  1. Install a Scan Tool .
  2. Turn ON the ignition, with the engine OFF.
  3. Important: Before clearing the DTC, use the scan tool in order to record the Failure Records. Using the Clear Info function erases the Failure Records from the PCM.

  4. Record the DTC Failure Records.
  5. Clear the DTC.
  6. If any DTCs are present, refer to their applicable diagnostic tables before continuing.
  7. Using the J 39200 digital multimeter (DMM), measure the battery voltage across the battery terminals.
  8. Record the battery voltage measurement for future reference.

Does the voltage measure higher than the specified value?

10.5 volts

Go to Step 3

Go to Charging System Check

3

  1. Start the engine.
  2. Allow the engine to warm to normal operating temperature.

Does the generator lamp illuminate?

--

Go to Charging System Check

Go to Step 4

4

  1. Increase the engine speed to greater than 1,500 RPM.
  2. Observe the scan tool ignition voltage.

Does the ignition voltage measure within the specified range?

13-15 volts

Go to Step 5

Go to Charging System Check

5

  1. Turn OFF the ignition.
  2. Disconnect the PCM connector C3. (Additional DTCs will set).
  3. Turn ON the ignition, with the engine OFF.
  4. Measure the battery voltage input at the PCM connector terminal C3-C13. Use the J 39200 DMM and the J 35616 connector test adaptor kit.

Is there a voltage variance between the voltage measured at the battery (taken in Step 2) and at terminal C3-C13 that is greater than the specified value?

0.5 volts

Go to Step 6

Go to Step 7

6

Repair the high resistance condition in the battery power feed circuit (CKT 440) of the PCM.

Refer to Circuit Testing and Wiring Repairs in Wiring Systems.

Did you complete the repair?

--

Go to Step 10

--

7

Measure the ignition voltage input at PCM connector terminal C3-C11.

Is there a voltage variance between the voltage measured at the battery (taken in step 2) and at terminal C3-C11 that is greater than the specified value?

0.5 volts

Go to Step 8

Go to Step 9

8

Repair the high resistance condition in the ignition power feed circuit (CKT 339) of the PCM.

Refer to Circuit Testing and Wiring Repairs in Wiring Systems.

Did you complete the repair?

--

Go to Step 10

--

9

Replace the PCM.

Refer to Powertrain Control Module Replacement/Programming in Engine Controls.

Did you complete the replacement?

--

Go to Step 10

--

10

Perform the following procedure in order to verify the repair:

  1. Select DTC.
  2. Select Clear Info.
  3. Operate the vehicle under the following conditions:
  4. • Start the vehicle.
    • Warm the vehicle to normal operating temperature.
    • Using the scan tool, verify that the PCM sees an ignition voltage between 8.3 and 16.5 volts.
  5. Select Specific DTC.
  6. Enter DTC P0560.

Has the test run and passed?

--

System OK

Go to Step 1