GM Service Manual Online
For 1990-2009 cars only

DTC P1810 TFP Valve Position Switch Invalid Range Diesel


Object Number: 522657  Size: MF
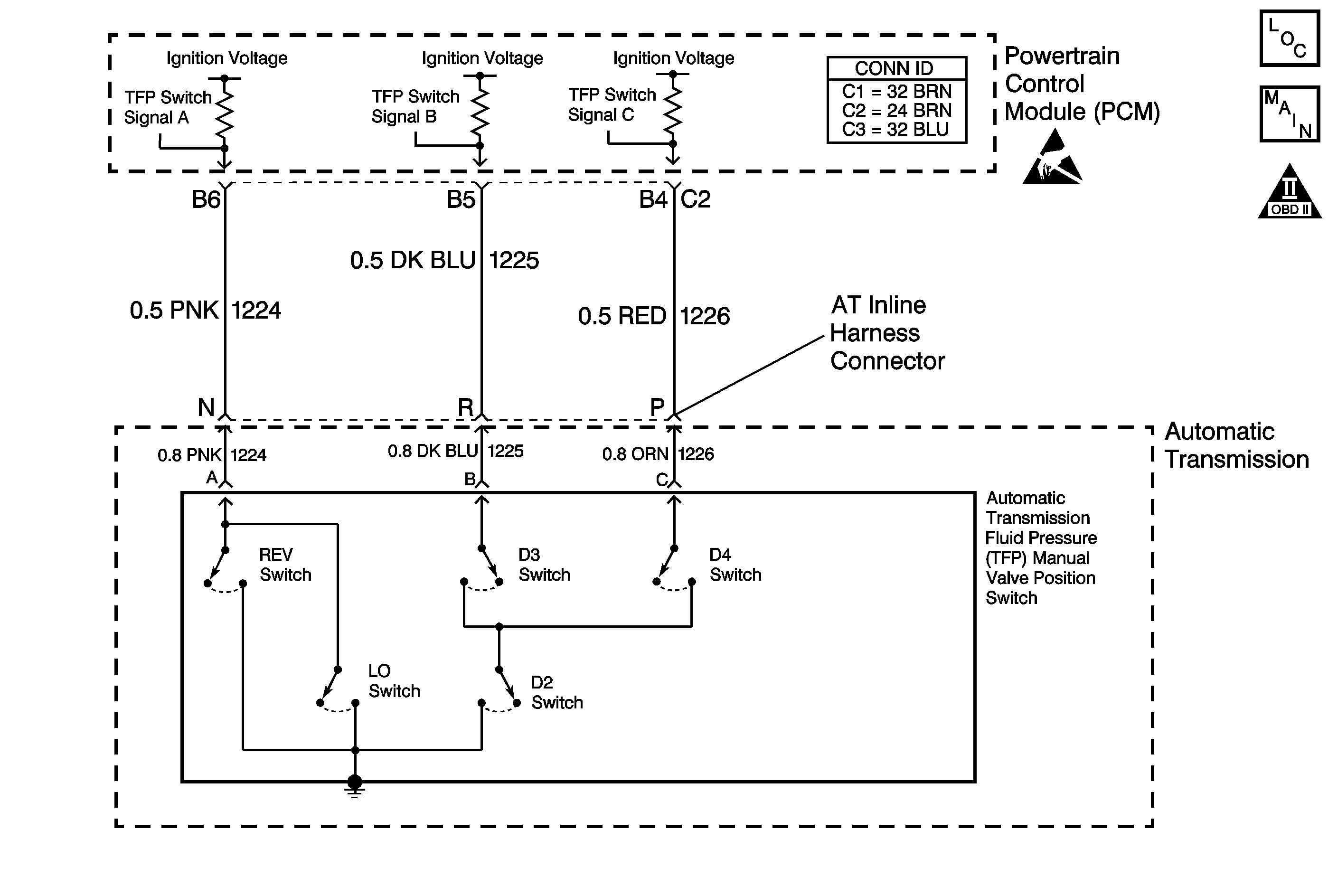
Automatic Transmission Controls Schematics Diesel
OBD II Symbol Description Notice
Handling ESD Sensitive Parts Notice

Circuit Description

The automatic transmission fluid pressure (TFP) manual valve position switch consists of five normally-open pressure switches. The powertrain control module (PCM) supplies battery voltage to each range signal. By grounding one or more of these circuits through various combinations of the pressure switches, the PCM detects what manual valve position has been selected and compares the actual voltage combination of the switches to a TFP manual valve position switch combination chart stored in memory.

The TFP manual valve position switch cannot distinguish between PARK and NEUTRAL because the monitored valve body pressures are identical in both cases. With the ignition ON and the engine OFF, D2 is indicated. When the transmission 20-way connector is disconnected, the ground potential for the three range signals to the PCM is removed, and with the ignition ON, D2 is indicated.

If the PCM detects an invalid state of the TFP manual valve position switch circuit by deciphering the TFP manual valve position switch inputs, then DTC P1810 sets. DTC P1810 is a type B DTC.

Conditions for Running the DTC

    • System voltage is 8.0-18.0 volts.
    • The engine speed is greater than 475 RPM for 7 seconds.
    • No TP sensor DTCs P0121, P0122 or P0123.
    • No ISS DTCs P0716 or P0717.
    • No OSS DTCs P0722 or P0723.
    • No TFP DTC P1810.
    • No MAP DTCs P0106, P0107 or P0108.
    • No 1-2 SS DTCs P0751 or P0753.
    • No 2-3 SS DTCs P0756 or P0758.
    • The engine torque is between 108-644 (80-475 lb ft).

Conditions for Setting the DTC

DTC P1810 sets during the second consecutive trip in which any of the following condition occurs:

Condition 1

The PCM detects an illegal TFP manual valve position switch state for 60 seconds.

Condition 2

    • The engine speed is less than 50 RPM for 0.3 second; then between 50 and 550 RPM for 0.3 second; then the engine speed is greater than 550 RPM.
    • The vehicle speed is less than 4 km/h (2.5 mph).
    • The PCM detects the gear range as D2 before and after start up.
    • All conditions are met for 7 seconds.

Condition 3

    • The vehicle speed is greater than 8 km/h (5 mph).
    • The TP angle is greater than 12%.

The TFP switch indicates the following:

   • 

P/N when the ratio indicates less than 1.05:1 for greater than 15 seconds.

   • 

Reverse when the ratio indicates D4, D3, D2, and D1 for greater than 5 seconds.

   • 

D4, D3, D2, and D1 when the ratio indicates reverse for greater than 7 seconds.

Action Taken When the DTC Sets

    • The PCM illuminates the malfunction indicator lamp (MIL).
    • The PCM commands maximum line pressure.
    • The PCM assumes D4 for the PRNDL shift pattern.
    • The PCM freezes shift adapts.
    • The PCM commands the TCC on in commanded fourth gear.
    • The PCM stores DTC P1810 in PCM history.

Conditions for Clearing the MIL/DTC

    • For Federal and California emissions, the PCM turns OFF the MIL during the third consecutive trip in which the diagnostic test runs and passes.
    • A scan tool clears the DTC from PCM history.
    • For Federal and California emissions, the PCM clears the DTC from PCM history if the vehicle completes 40 consecutive warm-up cycles without an emission related diagnostic fault occurring.
    • For vehicles equal to or greater than 15,000 lbs GVW, the PCM clears the DTC from PCM history if the vehicle completes 40 consecutive warm-up cycles without a non-emission related diagnostic fault occurring.
    • The PCM cancels the DTC default actions when the fault no longer exists and the ignition switch is OFF long enough in order to power down the PCM.

Diagnostic Aids

    • Ensure the transmission linkage from the select lever to the manual valve is adjusted properly.
    • Inspect the wiring at the PCM, the transmission connector and all other circuit connecting points for the following conditions:
       - A backed out terminal
       - A damaged terminal
       - Reduced terminal tension
       - A chafed wire
       - A broken wire inside the insulation
       - Moisture intrusion
       - Corrosion
    • When diagnosing for an intermittent short or open, massage the wiring harness while watching the test equipment for a change.
    • DTC P1810 can be falsely set during a fluid fill procedure. After refilling the fluid, cycle key down then start and run the vehicle for 20 seconds. Key down and allow the PCM to power down, and then restart the vehicle.
    • DTC P1810 can be set falsely by low pump pressure or a stuck pressure regulator.
    • DTC P1810 can be set by a rolled forward clutch piston seal. It may allow the PCM to see a 2.08:1 ratio (REVERSE) when the manual valve position is indicated as D4.
    • First, diagnose and clear any engine DTCs that are present. Then inspect for any transmission DTCs that may have reset.
    • Refer to the Transmission Fluid Pressure Manual Valve Position Switch Logic table for the normal range signals and the illegal combinations.

Test Description

The numbers below refer to the step numbers on the diagnostic table.

  1. This step tests the indicated range signal to the manual valve that is actually selected.

  2. This step tests the voltage from the PCM to the transmission 20-way connector.

P1810

Step

Action

Value(s)

Yes

No

1

Did you perform the Powertrain Diagnostic System Check?

--

Go to Step 2

Go to Powertrain On Board Diagnostic (OBD) System Check

2

Inspect for correct transmission fluid level. Refer to Transmission Fluid Check .

Did you perform the Transmission Fluid Checking Procedure?

--

Go to Step 3

Go to Transmission Fluid Check

3

  1. Install a Scan Tool .
  2. Turn ON the ignition, with the engine OFF.
  3. Important: Before clearing the DTC, use the scan tool in order to record the Freeze Frame and Failure Records. Using the Clear Info function erases the Freeze Frame and Failure Records from the PCM.

  4. Record the Freeze Frame and Failure Records.
  5. Clear the DTC.
  6. Start the engine and idle at normal operating temperature.
  7. Apply the brake pedal.
  8. Select each transmission range: P, R, N, D4, D3, D2 and D1.

Refer to Transmission Fluid Pressure Manual Valve Position Switch Logic .

Does each selected transmission range match the scan tool TFP switch A/B/C display?

--

Go to Diagnostic Aids

Go to Step 4

4

  1. Turn OFF the ignition.
  2. Disconnect the AT inline 20-way connector (additional DTCs may set).
  3. Turn ON the ignition, with the engine OFF.

Does the Scan Tool TFP Switch A/B/C parameter indicate HI for all range signal states?

--

Go to Step 5

Go to Step 9

5

  1. Turn OFF the ignition.
  2. Install the J 44152 jumper harness (20 pins) on the engine side of the AT inline 20-way connector.
  3. Turn ON the ignition, with the engine OFF.
  4. Using the J 39200 digital multimeter (DMM) and the J 35616 connector test adapter kit, measure the voltage from terminal N of the J 44152 to ground. Refer to Automatic Transmission Inline Harness Connector End View .
  5. Measure the voltage from terminal R of the J 44152 to ground.
  6. Measure the voltage from terminal P of the J 44152 to ground.

Does the voltage measure ignition voltage at all three terminals?

--

Go to Step 6

Go to Step 10

6

Connect a fused jumper wire from terminal N of the J 44152 (signal circuit A) to ground while monitoring the Scan Tool TFP Switch A/B/C parameter.

When signal circuit A (CKT 1224) is grounded, do any other signal circuits indicate Low?

--

Go to Step 11

Go to Step 7

7

Connect a fused jumper wire from terminal R of the J 44152 (signal circuit B) to ground while monitoring the Scan Tool TFP Switch A/B/C parameter.

When signal circuit B (CKT 1225) is grounded, do any other signal circuits indicate Low?

--

Go to Step 11

Go to Step 8

8

Connect a fused jumper wire from terminal P of the J 44152 (signal circuit C) to ground while monitoring the Scan Tool TFP Switch A/B/C parameter.

When signal circuit C (CKT 1226) is grounded, do any other signal circuits indicate Low?

--

Go to Step 11

Go to Step 12

9

Test the signal circuits (CKTs 1224, 1225 and 1226) of the TFP manual valve position switch that did not indicate HI for a short to ground between the PCM connector C2 and the AT inline 20-way connector. Refer to Circuit Testing and Wiring Repairs in Wiring Systems.

Did you find and correct the condition?

--

Go to Step 16

Go to Step 15

10

Test the signal circuits (CKTs 1224, 1225 and 1226) of the TFP manual valve position switch that did not indicate ignition voltage for an open between the PCM connector C2 and the AT inline 20-way connector. Refer to Circuit Testing and Wiring Repairs in Wiring Systems.

Did you find and correct the condition?

--

Go to Step 16

Go to Step 15

11

Test the affected signal circuits of the TFP manual valve position switch for a shorted together condition between the PCM connector C2 and the AT inline 20-way connector. Refer to Circuit Testing and Wiring Repairs in Wiring Systems.

Did you find and correct the condition?

--

Go to Step 16

Go to Step 15

12

Test the signal circuits (CKTs 1224, 1225 and 1226) of the TFP manual valve position switch for an open or shorted condition between the TFP manual valve position switch and the AT inline 20-way connector. Refer to Circuit Testing and Wiring Repairs in Wiring Systems.

Did you find a condition?

--

Go to Step 13

Go to Step 14

13

Replace the AT wiring harness assembly. Refer to TCC PWM Solenoid, TCC Solenoid and Wiring Harness Replacement.

Did you complete the replacement?

--

Go to Step 16

--

14

Replace the TFP manual valve position switch. Refer to Valve Body and Pressure Switch Replacement.

Did you complete the replacement?

--

Go to Step 16

--

15

Replace the PCM.

Refer to VCM Replacement/Programming (5.7L) or VCM Replacement/Programming (7.4L) in Engine Controls.

Did you complete the replacement?

--

Go to Step 16

--

16

Perform the following procedure in order to verify the repair:

  1. Select DTC.
  2. Select Clear Info.
  3. Operate the vehicle under the following conditions:
  4. • Turn ON the ignition, with the engine OFF for at least 2 seconds.
    • Start the vehicle and idle for 5 seconds.
    • Drive in D4 until the TCC locks for 10 seconds.
    • Continue to run the engine for at least 60 seconds from startup.
  5. Select Specific DTC.
  6. Enter DTC P1810.

Has the test run and passed?

--

System OK

Go to Step 1