GM Service Manual Online
For 1990-2009 cars only

Removal Procedure


    Object Number: 296402  Size: SH
  1. Relieve the CNG fuel system pressure. Refer to Fuel Pressure Relief in Engine Controls - 5.0, 5.7L.
  2. Caution: Unless directed otherwise, the ignition and start switch must be in the OFF or LOCK position, and all electrical loads must be OFF before servicing any electrical component. Disconnect the negative battery cable to prevent an electrical spark should a tool or equipment come in contact with an exposed electrical terminal. Failure to follow these precautions may result in personal injury and/or damage to the vehicle or its components.

  3. Disconnect the negative battery cable.
  4. Remove the CNG fuel tank. Refer to Fuel Tank Replacement in Engine Controls - 5.0, 5.7L.

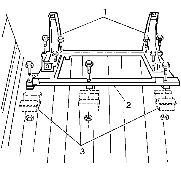
  5. Object Number: 296461  Size: SH
  6. Remove the rubber isolators.
  7. Remove the CNG fuel tank lower mounting bracket bolts.
  8. Remove the CNG fuel tank lower mounting brackets.
  9. Remove and discard the frame support bracket nuts.
  10. Important: Slide the frame support brackets along the box cross sill toward the passenger's side in order to remove the two driver's side frame support brackets.

  11. Remove the frame support brackets.
  12. Remove and discard the tank mounting frame bolts.
  13. Remove the CNG fuel tank mounting frame.

Installation Procedure


    Object Number: 296461  Size: SH
  1. Install the CNG fuel tank mounting frame.
  2. Install the new tank mounting frame bolts.
  3. Install the frame support brackets.
  4. Install the new frame support bracket nuts.
  5. Notice: Use the correct fastener in the correct location. Replacement fasteners must be the correct part number for that application. Fasteners requiring replacement or fasteners requiring the use of thread locking compound or sealant are identified in the service procedure. Do not use paints, lubricants, or corrosion inhibitors on fasteners or fastener joint surfaces unless specified. These coatings affect fastener torque and joint clamping force and may damage the fastener. Use the correct tightening sequence and specifications when installing fasteners in order to avoid damage to parts and systems.

    Tighten
    Tighten the nuts to 75 N·m (55 lb ft).

  6. Install the CNG fuel tank lower mounting brackets.
  7. Install the CNG fuel tank lower mounting bracket bolts.
  8. Tighten
    Tighten the bolts to 88 N·m (65 lb ft).

  9. Install the rubber isolators.

  10. Object Number: 296402  Size: SH
  11. Install the CNG fuel tank. Refer to Fuel Tank Replacement in Engine Controls - 5.0, 5.7L.
  12. Connect the negative battery cable.
  13. Tighten
    Tighten the bolt to 15 N·m (11 lb ft).