GM Service Manual Online
For 1990-2009 cars only

Object Number: 322572  Size: MF
Handling Electrostatic Discharge Sensitive Parts Notice
Handling Electrostatic Discharge Sensitive Parts Notice
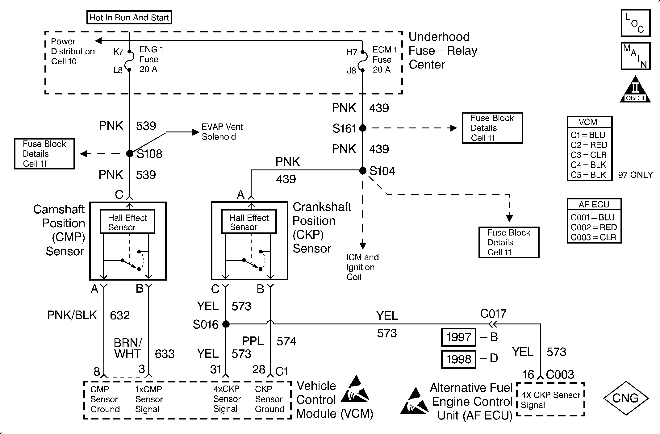
Engine Controls Components
Engine Sensors
OBDII Symbol Description Notice

Circuit Description

The Crankshaft Position (CKP) sensor sends a reference signal to the Engine Control Unit (ECU) in order to indicate the engine RPM. Loss of this signal or intermittent operation of the CKP sensor will set DTC 41.

This DTC will run in the CNG or gasoline operation mode. It may trigger an ECU DTC before a VCM DTC as the AF ECU is slightly more sensitive to a marginal CKP sensor.

This DTC is a type A DTC.

Conditions for Setting the DTC

The following conditions will set the DTC:

    • The engine is running or cranking.
    • None of the following DTCs are active: 35, 36, 37.
    • The MAP is less than 105.23 kPa (31.07 in. mercury).
    • The MAF is greater than 3 g/s.
    • No CKP sensor signal for more than one second.

Action Taken When the DTC Sets

The ECU will turn on the MIL and default to gasoline when one failure has occurred, even if it is intermittent. The vehicle will not attempt to run on CNG again until the next key cycle.

Conditions for Clearing the MIL/DTC

The ECU turns the MIL OFF after three consecutive driving trips without a fault condition present. A DTC will clear if no fault conditions have been detected for 40 warm-up cycles (coolant temperature has risen 40°C (72°F) from the start-up coolant temperature and the engine coolant temperature exceeds 70°C (160°F) during that same ignition cycle) or the code clearing procedure has been used.

Diagnostic Aids

Always diagnose ANY VCM codes that are present before beginning this diagnostic procedure.

A faulty or disconnected Mass Air Flow Sensor (MAF) may create a condition that will set a false DTC 41. Verify operation and connection of the MAF prior to performing this diagnostic procedure.

Check for the following conditions:

    • A poor connection, rubbed-through wire insulation or a wire that is broken inside the insulation may cause an intermittent problem. Inspect harness connectors for the following conditions:
       - Backed out terminals
       - Improper mating
       - Broken locks
       - Improperly formed or damaged terminals
       - Poor terminal to wire connection
    • Physical damage to the wiring harness.
    • Inspect the face of the CKP sensor for metal shavings. This could result in an intermittent DTC. Refer to Intermittent Conditions .

Test Description

The number(s) below refer to the step number(s) on the diagnostic table.

  1. This step determines if the DTC 41 is the result of a hard failure or an intermittent condition.

  2. This step determines if the ECU is receiving the CKP sensor pulses.

Step

Action

Value(s)

Yes

No

1

Was the Alternative Fuels (AF) Powertrain On-Board Diagnostic (OBD) System Check performed?

--

Go to Step 2

Go to Alternative Fuels (AF) Powertrain On Board (OBD) System Check

2

Start the vehicle.

Does the vehicle start and continue to run on CNG?

--

Go to Diagnostic Aids

Go to Step 3

3

  1. Turn OFF the ignition.
  2. Backprobe the CKP sensor circuit at ECU connector C003.
  3. Install the J 39200 High Impedance Multimeter set to read duty cycle between the CKP sensor (4x) signal circuit and the ground.
  4. Crank the engine.

Is the duty cycle within the specified value?

20-40%

Go to Step 7

Go to Step 4

4

  1. Turn OFF the ignition.
  2. Disconnect the gray 10-way connector C017 located by the underhood fuse/relay center.
  3. Inspect for loose, corroded or damaged pins.

Was a problem found and repaired?

--

Go to Step 10

Go to Step 5

5

  1. Probe the CKP input circuit at the VCM side of gray 10-pin connector C017.
  2. Install the J 39200 set to read duty cycle between the CKP sensor (4x) signal circuit and the ground.
  3. Crank the engine.

Is the duty cycle within the specified value?

20-40%

Go to Step 6

Go to Step 8

6

Inspect for an open in the CKP sensor signal circuit between C017 and C003.

Was a problem found?

--

Go to Step 8

Go to Step 7

7

Inspect the ECU connector and pins.

Are any pins damaged or is corrosion evident?

--

Go to Step 8

Go to Step 9

8

Repair the open or damaged circuit.

Is the action complete?

--

Go to Step 10

--

9

Replace the ECU. Refer to Engine Control Unit Replacement .

Is the action complete?

--

Go to Step 10

--

10

  1. Clear the DTC.
  2. Operate the vehicle within the conditions for setting this DTC as specified in the supporting text.
  3. Verify that the MIL does illuminate.

Does the diagnostic run and pass?

--

Go to Step 11

Go to Step 1

11

Are any ECU or VCM DTCs displayed that have not been diagnosed?

--

Go to the applicable DTC table

System OK