| Subject: | Clunk Noise From Front of Vehicle (Replace Left Front
Mount Bracket, Add Reinforcements to Frame and Bracket) |
| Models: | 1999 Chevrolet and GMC K1500 Series Pickup Models (Silverado
and Sierra) |
Condition
Some customers may comment on a clunk noise coming from the front of
the vehicle. Vehicles exposed to extreme off-road conditions or snow plowing
are more prone to develop this condition.
Cause
The condition may be caused by a left front axle mount bracket crack
at the frame due to an area of high stress.
Correction
A differential carrier support kit has been developed to distribute
the load of the axle away from the area of high stress where crack initiation
may occur. Replace the left front axle mount bracket. Add reinforcements to
the frame and bracket. Use the following service procedure.
- Disconnect the negative terminal from the battery.
- Raise the vehicle. Place a jack or utility stands at the rear
of the vehicle.
- Remove both of the front tire and wheel assemblies.
- Remove the differential carrier shield.
- Reference mark the relationship of the propeller shaft to the
front drive axle pinion yoke.
- Remove the yoke retainer bolts and the yoke retainers from the
front axle pinion yoke.
Notice: When removing the propeller shaft, do not attempt to remove the shaft
by pounding on the yoke ears or using a tool between the yoke and the universal
joint. If the propeller shaft is removed by using such means, the injection
joints may fracture and lead to premature failure of the joint.
- Disconnect the propeller shaft from the front axle pinion yoke. Wrap
the bearing caps with tape in order to prevent the loss of bearing rollers.
- Support the propeller shaft and move out of the way as necessary.
- Remove the bolts securing both wheel drive shaft inboard flanges
to the output shaft flanges.
- Remove the inner axle housing nuts (2)
from the bracket (1).
- Disconnect the electrical connections and the wiring harness retainers
from the front differential carrier.
- Disconnect the vent hose.
- Remove the differential carrier assembly
lower mounting bolt (3) and nut (4).
Important: Do not reuse the idler arm and pitman arm ball stud nuts.
- Remove the idler arm ball stud nut (10) and disconnect the idler
arm (1) from the relay rod (9) using the J 24319-B.
Notice: Do not hammer on the pitman arm, pitman arm shaft or puller. Damage
to the pitman arm or steering gear may result.
- Remove the pitman arm ball stud nut (8) and disconnect the pitman
arm (2) from the relay rod (9) using the J 24319-B.
- Attach a transmission jack to the carrier assembly.
- Remove the differential carrier assembly upper mounting bolt (1)
and nut (2).
- Remove the differential carrier assembly from the vehicle.
- Remove the steering gear frame bolts
and reposition the steering gear.
- Remove the stands and lower the vehicle.
- Remove the bolts retaining the RH and
LH upper engine mount to the lower engine mount.
- Raise the vehicle. Place a jack or utility stands at the rear
of the vehicle.
- Raise and support the engine with a suitable jack.
- Remove the LH lower engine mount bracket through bolts and bracket.
- Block the engine in the raised position using a piece of wood
between the oil pan and crossmember.
- Remove the support from the engine.
- Clean the axle mounting bracket area with a wire brush in order
to determine the full extent of the cracks.
- Remove the existing differential carrier bracket from the sidemember
using a reciprocating saw and cut-off wheel.
- Grind off any remaining metal and welds from the sidemember.
- Clean off the area using an air gun.
Caution: The underbody coating on the frame will burn if exposed to the extreme
of welding. The coating may ignite and/or flash suddenly. Avoid direct contact
of the torch to the underbody coating. Always remove the coating so that sufficient
area is free of coating for the welding operation to be performed without
risk of igniting the coating. Avoid inhalation of fumes from any over-heated
or burning underbody coating.
- Remove all the underbody coating from the sidemember around the repair
area using a solvent. In addition, remove the underbody coating from the top
of the sidemember in order to prevent run down and weld contamination.
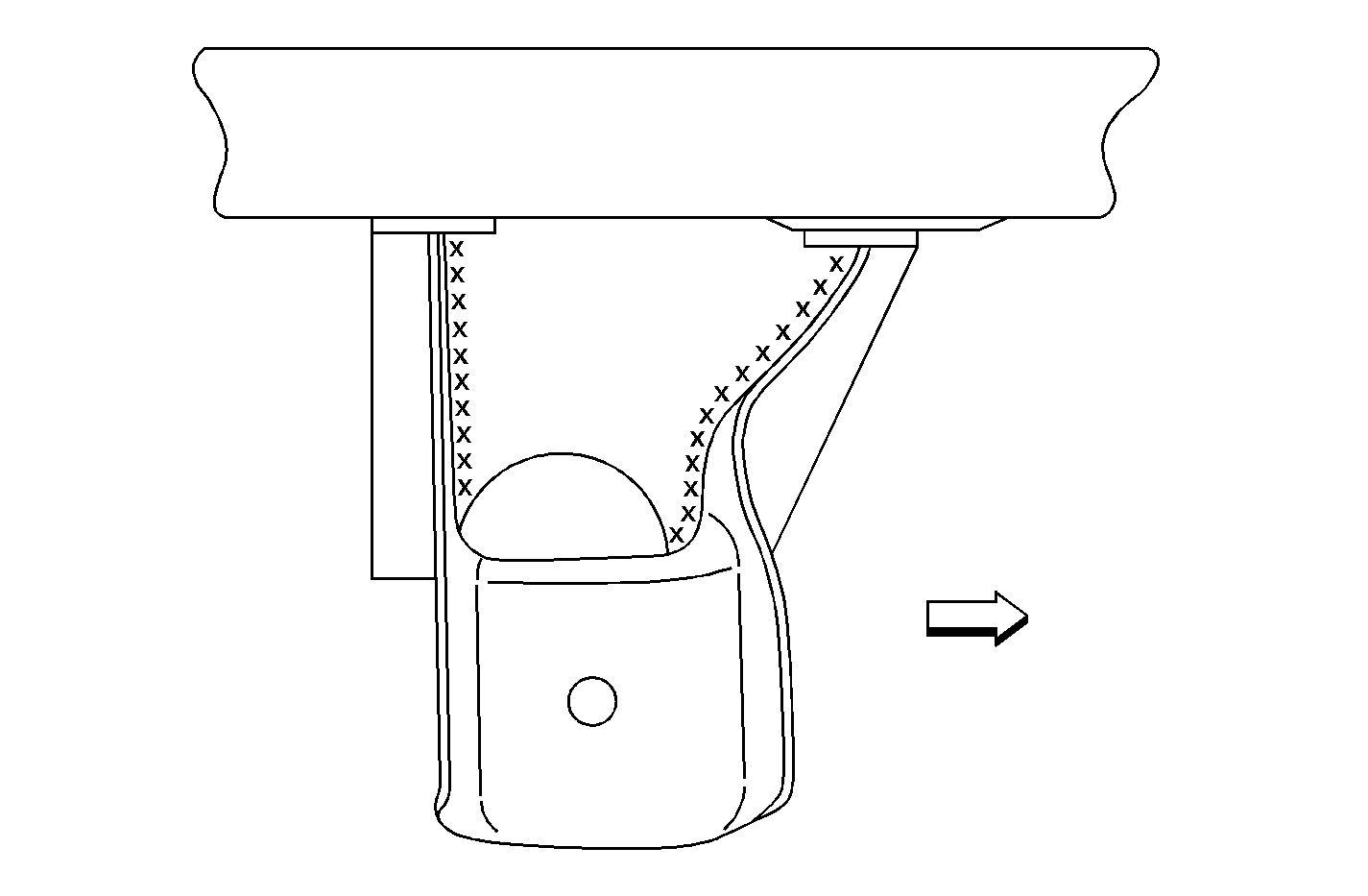
- Repair the cracks in the sidemember.
| • | Drill a 5 mm (3/16 in) stop hole at the end of all
existing cracks. |
| • | Clean and "V" grind all crack edges. |
| • | Fill all cracks with weld and grind smooth, making sure all surfaces
are level. |
Parts Information
Part Number
| Description
| Qty
|
15056098
| Support Kit - Diff. Carrier
| 1
|
11516074
| Nut
| 2
|
Parts are currently available from GMSPO.
Warranty Information
For vehicles repaired under warranty, use:
Labor Operation
| Description
| Labor Time
|
F2122
| Carrier Assy., Front Differential -
R&R
| Use published labor operation time
|
Add
| To Replace Left Front Axle Mount Bracket and Add Reinforcements
| 2.4 hrs
|
Add
| To Repair Frame Cracks
| 0.6 hr
|