GM Service Manual Online
For 1990-2009 cars only

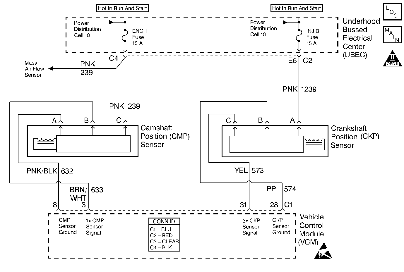
Object Number: 355998  Size: MF
Handling ESD Sensitive Parts Notice
Engine Controls Components
Cell 20: G102, S102
OBD II Symbol Description Notice

Circuit Description

The crankshaft position (CKP) sensor is a sensor designed to detect changes in a magnetic field. The control module supplies the CKP sensor a signal and ground circuits. Ignition voltage is supplied to the sensor by an independent circuit. The CKP sensor produces a magnetic field whenever the ignition is ON. The CKP sensor is mounted near a reluctor wheel that is attached to the crankshaft. When the crankshaft rotates, when the engine is cranking or running, the toothed reluctor wheel changes the magnetic field. The CKP sensor converts each change in the magnetic field into a PULSE. The number of teeth on the reluctor wheel determines how many pulses the CKP sensor detects per crankshaft rotation. The CKP sensor signal is used in order to determine the engine speed, the crankshaft position, and to detect misfire.

If the frequency of the CKP is less than expected by the VCM, this DTC will be set.

Conditions for Running the DTC

    • The engine speed is less than 4,000 RPM
    • The MAF is 5 g/s or more

Conditions for Setting the DTC

The crankshaft position sensor duty cycle is less than a calibrated percent.

Action Taken When the DTC Sets

    • The control module illuminates the malfunction indicator lamp (MIL) if a failure is detected during 2 consecutive key cycles.
    • The control module sets the DTC and records the operating conditions at the time the diagnostic failed. The failure information is stored in the scan tool Freeze Frame/Failure Records.

Conditions for Clearing the MIL or DTC

    • The control module turns OFF the MIL after 3 consecutive drive trips when the test has run and passed.
    • A history DTC will clear if no fault conditions have been detected for 40 warm-up cycles. A warm-up cycle occurs when the coolant temperature has risen 22°C (40°F) from the startup coolant temperature and the engine coolant reaches a temperature that is more than 70°C (158°F) during the same ignition cycle.
    • Use a scan tool in order to clear the DTCs.

Diagnostic Aids

Inspect the face of the CKP sensor for metallic particles. This could result in an intermittent DTC.

Check for one of the following:

    • A chipped or damaged reluctor wheel
    • An incorrect reluctor wheel
    • The incorrect alignment of the CKP sensor to reluctor wheel
    • Excessive crankshaft end play

Refer to Symptoms .

An intermittent may be caused by any of the following conditions:

    • A poor connection
    • Rubbed through wire insulation
    • A broken wire inside the insulation

Thoroughly check any circuitry that is suspected of causing the intermittent complaint. Refer to Intermittents and Poor Connections Diagnosis in Wiring Systems.

If a repair is necessary, refer to Wiring Repairs or Connector Repairs in Wiring Systems.

Test Description

The number(s) below refer to the step number(s) on the diagnostic table.

  1. This step checks the duty cycle output of the crankshaft position (CKP) sensor. An engine will start with a low duty failure but will not run very well. All three circuits need to be jumpered for the engine to run.

Step

Action

Value(s)

Yes

No

1

Important:: Before clearing the DTCs, use the scan tool Capture Info to save the Freeze Frame and Failure Records for reference. The control module's data is deleted once the Clear Info function is used.

Did you perform the Powertrain On-Board Diagnostic (OBD) System check?

--

Go to Step 2

Go to Powertrain On Board Diagnostic (OBD) System Check

2

  1. Disconnect the CKP sensor connector.
  2. Install the gray jumpers from the J 35616 connector test adapter kit between the engine harness connector and the CKP sensor.
  3. Important: The red (positive) lead from the DMM must be connected to the CKP (3X) signal circuit.

  4. Install a J 39200 DMM set to the duty cycle position (select the AC scale and press the Hz button twice in order to display the % duty cycle) between the CKP (3X) signal circuit and the CKP sensor ground circuit.
  5. Start the engine.

Is the duty cycle less than the specified value?

40%

Go to Step 3

Go to Step 6

3

Check the crankshaft position (CKP) sensor and the crankshaft reluctor wheel for damage. Refer to Diagnostic aids.

Did you find a problem?

--

Go to Step 4

Go to Step 5

4

  1. Replace the crankshaft position (CKP) sensor and/or the crankshaft reluctor wheel, refer to Crankshaft Position Sensor Replacement and/or Crankshaft Position Sensor Reluctor Ring Replacement in Engine Mechanical.
  2. Perform the crankshaft variation learn procedure. Refer to Crankshaft Position System Variation Learn .

Is the action complete?

--

Go to Step 8

--

5

Important: Inspect the CKP sensor mounting surface in order to insure that the surface is clean and free of debris.

  1. Replace the CKP sensor. Refer to Crankshaft Position Sensor Replacement .
  2. Perform the Crankshaft Variation Learn Procedure. Refer to Crankshaft Position System Variation Learn .

Is the action complete?

--

Go to Step 8

--

6

  1. Using the scan tool Clear DTCs.
  2. Start the engine.
  3. Allow the engine to idle until the engine reaches normal operating temperature.
  4. Select DTC and the Specific DTC functions.
  5. Enter the DTC number which was set.
  6. Operate the vehicle within the conditions for setting this DTC, until the scan tool indicates the diagnostic ran.

Does the scan tool indicate the diagnostic Passed?

--

Go to Step 9

Go to Step 7

7

  1. Replace the VCM.
  2. Program the new VCM. Refer to VCM Replacement/Programming .
  3. Perform the Scan Tool Learn procedure within the Passlock Reprogramming procedure. Refer to PASSLOCK Reprogramming Seed and Key in Theft Deterrent.
  4. Perform the CKP System Variation Learning Procedure. Refer to Crankshaft Position System Variation Learn .

Is the action complete?

--

Go to Step 8

--

8

  1. Using the scan tool Clear DTCs.
  2. Start the engine.
  3. Allow the engine to idle until the engine reaches normal operating temperature.
  4. Select DTC and the Specific DTC functions.
  5. Enter the DTC number which was set.
  6. Operate the vehicle within the conditions for setting this DTC, until the scan tool indicates the diagnostic ran.

Does the scan tool indicate the diagnostic Passed?

--

Go to Step 9

Go to Step 2

9

Does the scan tool display any additional undiagnosed DTCs?

--

Go to the Applicable DTC Table

System OK