GM Service Manual Online
For 1990-2009 cars only

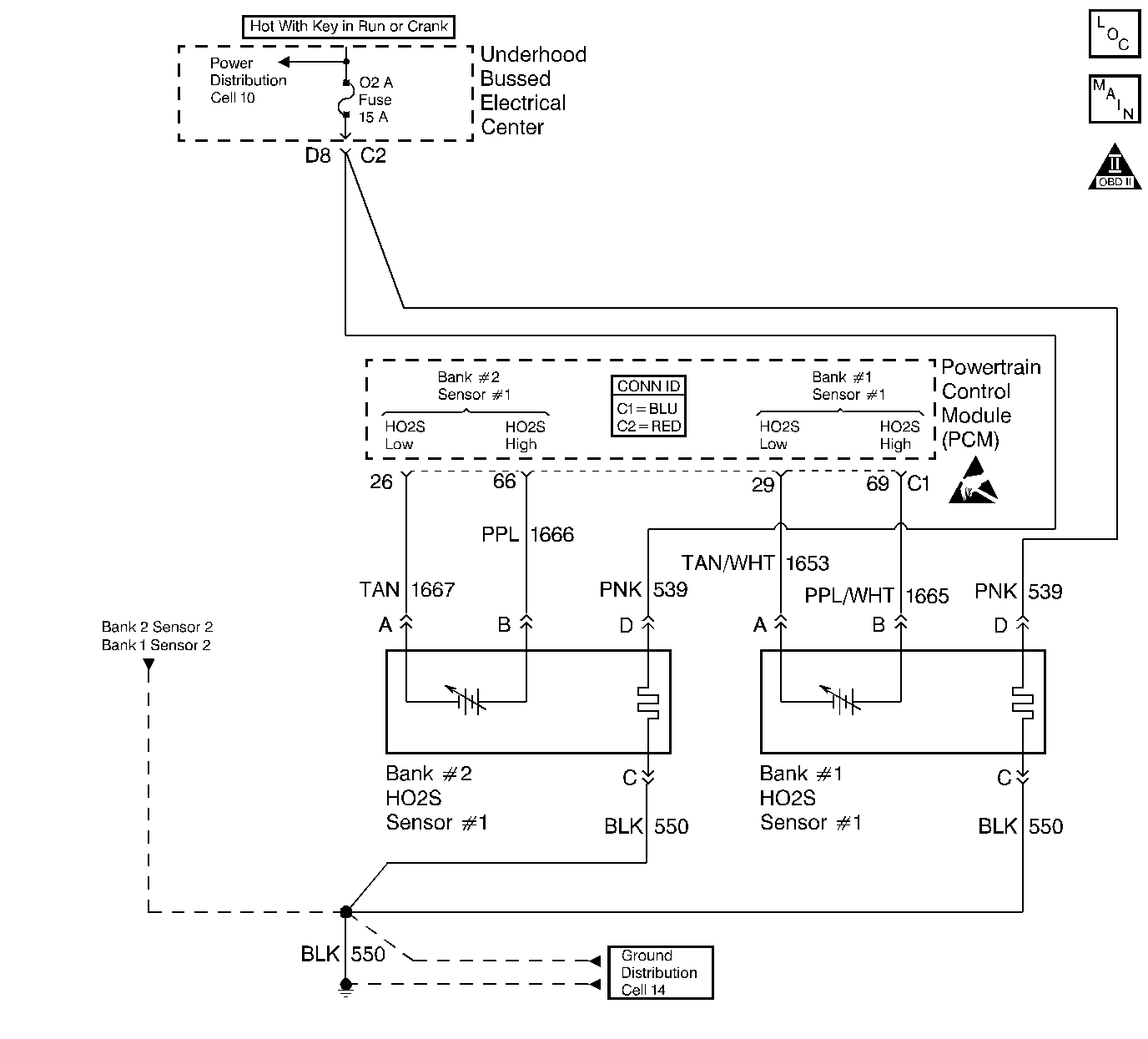
Object Number: 337375  Size: LF
Engine Controls Component Views
Cell 21: G104, Heated Oxygen Sensors
OBD II Symbol Description Notice
Handling ESD Sensitive Parts Notice

Circuit Description

The PCM continuously monitors the Heated Oxygen Sensor (HO2S) activity for 100 seconds. During the monitor period the PCM counts the number of times that the HO2S responds from rich to lean and from lean to rich and adds the amount of time it took to complete all transitions. With this information, the PCM can determine the average time for all transitions. If the average response time is too slow, a DTC sets.

The PCM determines the lean to rich transition when the HO2S voltage changes from less than 300 mV to greater than 600 mV. The PCM determines the rich to lean transition when the HO2S voltage changes from more than 600 mV to less than 300 mV. A HO2S that responds too slowly is most likely defective. Replace the HO2S.

Conditions for Running the DTC

    • DTCs P0101, P0102, P0103, P0112, P0113, P0117, P0118, P0121, P0122, P0123, P0125, P0200, P0335, P0336, P0351-P0358, P1258, not set.
    • The engine coolant temperature is greater than 65°C (149°F).
    • The ignition voltage is greater than 9.0 volts.
    • The AIR, EGR, and the Catalyst diagnostics are not active.
    • The fuel system is operating in Closed Loop.
    • The engine speed is between 1200 RPM and 3,000 RPM.
    • The engine air flow is between 23 g/s and 50 g/s.
    • The EVAP canister purge duty cycle is greater than 0%.
    • The engine run time is greater than 120 seconds.

Conditions for Setting the DTC

    • The lean to rich response (below 300 mV to above 600 mV) average time is greater than 250 milliseconds.
    • The rich to lean response (above 600 mV to below 300 mV) average time is greater than 250 milliseconds.
    • The above conditions are met for 100 seconds.

Action Taken When the DTC Sets

    • The PCM illuminates the malfunction indicator lamp (MIL) on the second consecutive ignition cycle that the diagnostic runs and fails.
    • The PCM records the operating conditions at the time the diagnostic fails. The first time the diagnostic fails, the PCM stores this information in the Failure Records. If the diagnostic reports a failure on the second consecutive ignition cycle, the PCM records the operating conditions at the time of the failure. The PCM writes the conditions to the Freeze Frame and updates the Failure Records.

Conditions for Clearing the MIL/DTC

    • The PCM turns OFF the malfunction indicator lamp (MIL) after 3 consecutive ignition cycles that the diagnostic runs and does not fail.
    • A last test failed, or current DTC, clears when the diagnostic runs and does not fail.
    • A history DTC clears after 40 consecutive warm-up cycles, if no failures are reported by this or any other emission related diagnostic.
    • Use a scan tool in order to clear the MIL and the DTC.

Diagnostic Aids

Important: Remove any debris from the PCM connector surfaces before servicing the PCM. Inspect the PCM connector gaskets when diagnosing/replacing the PCM. Ensure that the gaskets are installed correctly. The gaskets prevent water intrusion into the PCM.

    • This diagnostic only runs once per ignition cycle.
    • A malfunction in the HO2S heater circuits causes a DTC to set. Check HO2S heater circuits for intermittent opens/connections. Refer to Intermittents and Poor Connections Diagnosis in Wiring Systems.
    • An oxygen supply inside the HO2S is necessary for proper operation. The HO2S wires provide the supply of oxygen. Inspect the HO2S wires and connections for breaks or contamination. Refer to Heated Oxygen Sensor Wiring Repairs in Wiring Systems.
    • Using the Freeze Frame and/or Failure Records data may aid in locating an intermittent condition. If you cannot duplicate the DTC, the information included in the Freeze Frame and/or Failure Records data can help determine how many miles since the DTC set. The Fail Counter and Pass Counter can also help determine how many ignition cycles the diagnostic reported a pass and/or a fail. Operate the vehicle within the same freeze frame conditions (RPM, load, vehicle speed, temperature etc.) that you observed. This will isolate when the DTC failed. For an intermittent condition, refer to Symptoms .

Test Description

The numbers below refer to the step numbers on the diagnostic table.

  1. This step determines if the fault is present. This test may take 5 minutes for the diagnostic to run. For any test that requires probing the PCM or a component harness connector, use the Connector Test Adapter Kit J 35616 . Using this kit prevents damage to the harness connector terminals. Refer to Using Connector Test Adapters in Wiring Systems.

  2. When DTCs P0133 and P0153 are set at the same time, it is a good indication that a fuel contamination problem is present.

  3. An exhaust leak 6-12 inches away from the HO2S can cause a DTC to set.

  4. This step tests whether a good ground circuit is available.

  5. This step tests the integrity of the signal circuit to the PCM.

  6. This step tests the integrity of the signal circuit to the PCM.

  7. Certain RTV silicone gasket materials give off vapors that can contaminate the HO2S. There is also a possibility of silicone contamination caused by silicone in the fuel. If the sensors appear to be contaminated by silicone and all the silicone sealant is a non silicone base, advise the customer to try a different fuel company. A missing fuel filler restrictor indicates the customer may have used leaded fuel.

Step

Action

Value(s)

Yes

No

1

Did you perform the Powertrain On-Board Diagnostic (OBD) System Check?

--

Go to Step 2

Go to Powertrain On Board Diagnostic (OBD) System Check

2

Important: If any DTCs are set (except P0153), refer to those DTCs before proceeding with this diagnostic table.

  1. Install a scan tool.
  2. Idle the engine at the normal operating temperature.
  3. Operate the vehicle within the parameters specified under Conditions for Running the DTC in the supporting text.
  4. Monitor the Diagnostic Trouble Code (DTC) information using the scan tool.

Did DTC P0133 fail this ignition?

--

Go to Step 3

Go to Diagnostic Aids

3

Did DTC P0153 also fail this ignition?

--

Go to Step 8

Go to Step 4

4

  1. Inspect for an exhaust system leak. Refer to Exhaust System Inspection in Engine Exhaust. After you inspect the exhaust system, return to this diagnostic.
  2. If you find an exhaust leak, repair the exhaust leak as necessary.

Did you isolate an exhaust leak?

--

Go to Step 14

Go to Step 5

5

Visually/physically inspect the following items:

    • Ensure that the HO2S is securely installed.
    • Inspect for corrosion on the terminals.
    • Test the terminal tension at the HO2S and at the PCM. Refer to Intermittents and Poor Connections Diagnosis in Wiring Systems.
    • Inspect for damaged wiring.

Did you find and correct the condition?

--

Go to Step 14

Go to Step 6

6

  1. Disconnect the HO2S.
  2. Jumper the HO2S low circuit (PCM side) to a known good ground.
  3. Monitor the HO2S voltage on the Engine 1 Data List using the scan tool.

Does the scan tool indicate a voltage within the specified range?

350-550 mV

Go to Step 7

Go to Step 10

7

  1. Jumper the HO2S high and low (PCM side) signal circuits to a battery ground.
  2. Monitor the HO2S voltage using the scan tool.

Does the scan tool indicate a voltage below the specified value?

200 mV

Go to Step 13

Go to Step 9

8

Important: Determine and correct the cause of the contamination before replacing a sensor. Inspect for the following conditions:

   • Fuel contamination
   • Use of improper RTV sealant
   • Engine oil/coolant consumption

Replace the affected Heated Oxygen sensor. Refer to Heated Oxygen Sensor Replacement - Bank 1 and/or Heated Oxygen Sensor Replacement - Bank 2 .

Is the action complete?

--

Go to Step 14

--

9

  1. Remove the jumper wire from the HO2S low circuit.
  2. Measure the voltage from the HO2S low signal circuit to a battery ground using the DMM J 39200 .

Does the DMM indicate a voltage near the specified value?

5V

Go to Step 12

Go to Step 11

10

Repair the high signal circuit for a short to ground or shorted to a voltage. Refer to Heated Oxygen Sensor Wiring Repairs in Wiring Systems.

Is the action complete?

--

Go to Step 14

--

11

Repair the open HO2S low circuit or repair the faulty PCM connections. Refer to Heated Oxygen Sensor Wiring Repairs or Repairing Connector Terminals in Wiring Systems.

Is the action complete?

--

Go to Step 14

--

12

Repair the HO2S high signal circuit for an open or repair the faulty PCM connections. Refer to Heated Oxygen Sensor Wiring Repairs or Repairing Connector Terminals in Wiring Systems.

Is the action complete?

--

Go to Step 14

--

13

Replace the HO2S. Refer to Heated Oxygen Sensor Replacement - Bank 1 .

Is the action complete?

--

Go to Step 14

--

14

  1. Select the Diagnostic Trouble Code (DTC) option and the Clear DTC Information option using the scan tool.
  2. Idle the engine at the normal operating temperature.
  3. Select the Diagnostic Trouble Code (DTC) option and the Specific DTC option, then enter the DTC number using the scan tool.
  4. Operate the vehicle within the Conditions for Running the DTC as specified in the supporting text, if applicable.

Does the scan tool indicate that this test ran and passed?

--

Go to Step 15

Go to Step 2

15

Select the Capture Info option and the Review Info option using the scan tool.

Does the scan tool display any DTCs that you have not diagnosed?

--

Go to the applicable DTC table

System OK