GM Service Manual Online
For 1990-2009 cars only

DTC P0724 Brake Switch Circuit High Input Gas LQ4


Object Number: 362786  Size: MF
Automatic Transmission Components
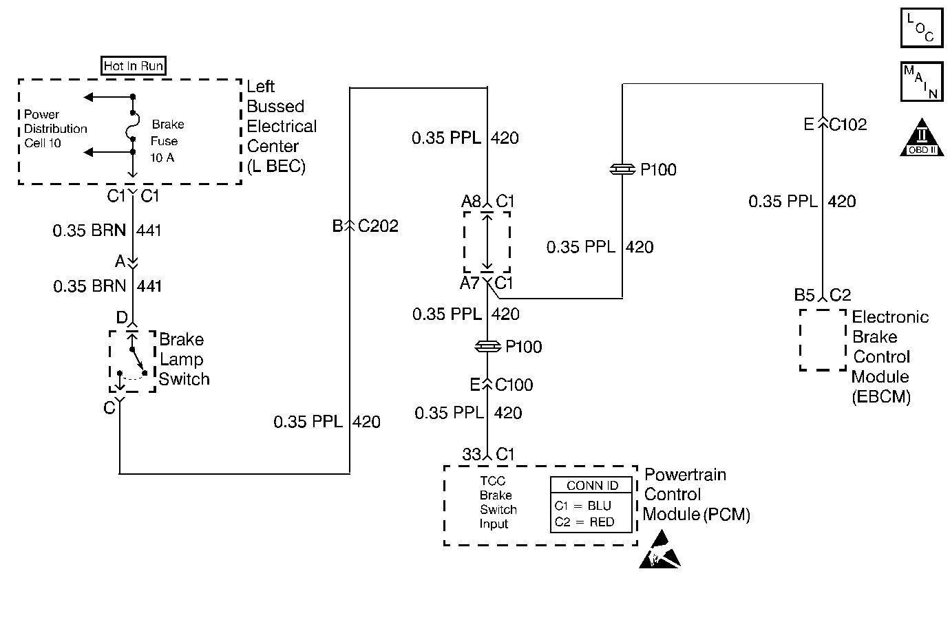
Automatic Transmission Controls Schematics Gas
OBD II Symbol Description Notice
Handling ESD Sensitive Parts Notice

Circuit Description

The TCC/Stoplamp switch indicates the brake pedal status. The normally closed brake switch supplies a B+ signal on CKT 420 to the powertrain control module (PCM). The signal voltage circuit opens when the brakes are applied.

If the PCM detects a closed TCC/Stoplamp switch during decelerations, then DTC P0724 sets. DTC P0724 is a type D DTC.

Conditions for Running the DTC

    • No OSS DTC P0502.
    • The following sequence of events occurs 10 consecutive times:
        1. The vehicle speed is greater than 40 km/h (25 mph) for 6 seconds.
        2. Then the vehicle speed is 8-40 km/h (5-25 mph) for 4 seconds.
        3. Then the vehicle speed is less than 8 km/h (5 mph).

Conditions for Setting the DTC

    • All conditions are met for 10 occurrences.
    • The PCM detects a closed TCC/Stoplamp switch circuit (12 volts) during decelerations.

Action Taken When the DTC Sets

    • The PCM does not illuminate the malfunction indicator lamp (MIL).
    • The PCM stores DTC P0724 in PCM history.

Conditions for Clearing the DTC

    • A scan tool clears the DTC from PCM history.
    • The PCM clears the DTC from PCM history if the vehicle completes 40 consecutive warm-up cycles without a non-emission-related diagnostic fault occurring.
    • The PCM cancels the DTC default actions when the fault no longer exists and the ignition switch is OFF long enough in order to power down the PCM.

Diagnostic Aids

    • Inspect the wiring at the PCM, the TCC/Stoplamp switch connector and all other circuit connecting points for the following conditions:
       - A backed out terminal
       - A damaged terminal
       - Reduced terminal tension
       - A chafed wire
       - A broken wire inside the insulation
       - Moisture intrusion
       - Corrosion
    • When diagnosing for an intermittent short or open, massage the wiring harness while watching the test equipment for a change.
    • Ask about the customer's driving habits and any unusual driving conditions he or she might have, such as stop and go traffic or expressway driving.
    • Inspect the brake switch for proper mounting and adjustment.
    • Inspect for the most current calibration ID and the latest bulletins.
    • First diagnose and clear any engine DTCs or TP sensor codes that are present. Then inspect for any transmission DTCs that may have reset.

Test Description

The numbers below refer to the step numbers on the diagnostic table.

  1. This step isolates the TCC/Stoplamp switch as a source for setting the DTC.

DTC P0724

Step

Action

Value(s)

Yes

No

1

Was the Powertrain On-Board Diagnostic (OBD) System Check performed?

--

Go to Step 2

Go to Powertrain On Board Diagnostic (OBD) System Check

2

  1. Install the Scan Tool .
  2. With the engine OFF, turn the ignition switch to the RUN position.
  3. Important: Before clearing the DTCs, use the scan tool in order to record the Failure Records. Using the Clear Info function erases the Failure Records from the PCM.

  4. Record the Failure Records.
  5. Clear the DTCs.
  6. Select TCC/Stoplamp switch on the scan tool.
  7. Do not apply the brake pedal.
  8. With the brake pedal not applied, note the TCC brake switch status.
  9. Apply the brake pedal.

Did the TCC/Brake Switch status change from CLOSED to OPEN?

--

Go to Diagnostic Aids

Go to Step 3

3

  1. Turn the ignition switch to the OFF position.
  2. Disconnect the TCC/Stoplamp switch connector from the brake switch.
  3. Turn the key to the RUN position.

Did the TCC/Stoplamp switch status change from CLOSED to OPEN?

--

Go to Step 4

Go to Step 5

4

Replace the Stoplamp switch.

Refer to Stop Lamp Switch Replacement in Hydraulic Brakes.

Is the replacement complete?

--

Go to Step 7

--

5

Important: The condition that affects this circuit may exist in other connecting branches of the circuit. Refer to Power Distribution Schematics in Wiring Systems, for complete circuit distribution.

Inspect CKT 420 (PPL) for a short to B+.

Was a short to B+ condition found?

--

Go to Step 7

Go to Step 6

6

Replace the PCM.

Refer to Powertrain Control Module Replacement/Programming in Engine Controls.

Is the replacement complete?

--

Go to Step 7

--

7

Perform the following procedure in order to verify the repair:

  1. Select DTC.
  2. Select Clear Info.
  3. Operate the vehicle brake pedal so that for a total of 2 consecutive times the PCM sees the brake switch CLOSED and then OPEN, for greater than two seconds.

Does the Scan Tool TCC/Stoplamp switch status change from CLOSED to OPEN?

--

System OK

Go to Step 1