GM Service Manual Online
For 1990-2009 cars only

DTC P0717 Input Speed Sensor Circuit Low Input Gas LQ4


Object Number: 362785  Size: MF
Automatic Transmission Components
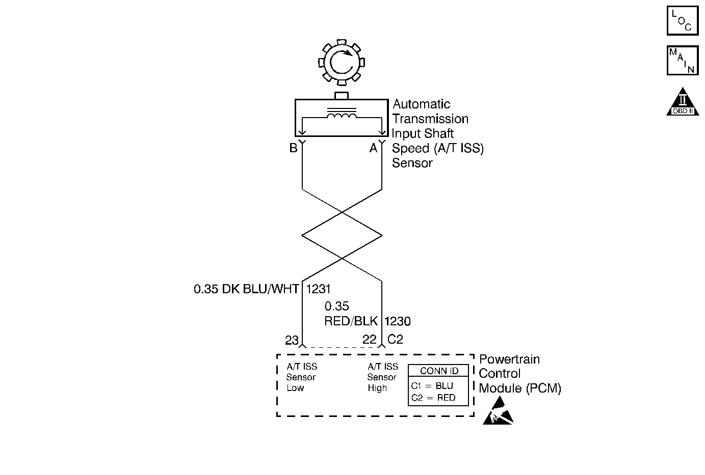
Automatic Transmission Controls Schematics Gas
OBD II Symbol Description Notice
Handling ESD Sensitive Parts Notice

Circuit Description

The automatic transmission input (shaft) speed (A/T ISS) sensor provides transmission input speed to the powertrain control module (PCM). The A/T ISS sensor is a permanent magnet (PM) generator. The sensor mounts into the transmission case and maintains a slight air gap between the sensor and the forward clutch housing. The PM generator produces an AC voltage as the forward clutch housing rotor teeth pass through the sensor's magnetic field. The AC voltage level increases as the turbine shaft speed increases. The PCM converts the AC voltage into a digital signal. The PCM determines actual turbine speed using the digital signal. The PCM uses the input speed to calculate torque converter slip speed, and gear ratios.

When the PCM detects a low or no input speed during high vehicle and high engine speeds, then DTC P0717 sets. DTC P0717 is a type D DTC. For California emissions vehicles, DTC P0717 is a type B DTC.

Conditions for Running the DTC

    • No OSS DTC P0502 or P0503.
    • No TFP manual valve position switch DTC P1810.
    • TFP manual valve position switch is not PARK or NEUTRAL.
    • The system voltage is 8.0-18.0 volts.
    • The vehicle speed is greater than 7 mph.
    • The engine runs greater than 300 RPM for at least 7 seconds, and not in fuel cutoff.

Conditions for Setting the DTC

The measured input speed is less than 100 RPM for at least 5.0 seconds.

Action Taken When the DTC Sets

    •  For California emissions only, the PCM illuminates the malfunction indicator lamp (MIL).
    • The PCM defaults the transmission to maximum line pressure.
    • The PCM freezes shift adapts.
    • The PCM stores DTC P0717 in PCM history.

Conditions for Clearing the MIL/DTC

    • For California emissions, the PCM turns OFF the MIL during the third consecutive trip in which the diagnostic test runs and passes.
    • A scan tool can clear the MIL/DTC.
    • For California emissions, the PCM clears the DTC from PCM history if the vehicle completes 40 consecutive warm-up cycles without an emission related diagnostic fault occurring.
    • For Federal emissions, the PCM clears the DTC from PCM history if the vehicle completes 40 consecutive warm-up cycles without a non-emission related diagnostic fault occurring.
    • The PCM cancels the DTC default actions when the fault no longer exists and the ignition switch is OFF long enough in order to power down the PCM.

Diagnostic Aids

    • Inspect the wiring at the PCM, the OSS connector and all other circuit connecting points for the following:
       - A backed out terminal
       - A damaged terminal
       - Reduced terminal tension
       - A chafed wire
       - A broken wire inside the insulation
       - Moisture intrusion
       - Corrosion
       - The A/T ISS sensor harness being near the DIS components or the ignition wires.
    • When diagnosing for an intermittent short or open, massage the wiring harness while watching the test equipment for a change.
    • First diagnose and clear any engine DTCs or TP sensor codes that are present. Then inspect for any transmission DTCs that may have reset.

Test Description

The numbers below refer to the step numbers on the diagnostic table.

  1. This step tests for proper circuit operation up to the PCM connections. Remove the fuel pump relay in order to eliminate a flooding condition during this step.

  2. This step tests for proper operation of the ISS sensor.

DTC P0717

Step

Action

Value(s)

Yes

No

1

Was the Powertrain On-Board Diagnostic (OBD) System Check performed?

--

Go to Step 2

Go to Powertrain On Board Diagnostic (OBD) System Check

2

  1. Install the Scan Tool .
  2. With the engine OFF, turn the ignition switch to the RUN position.
  3. Important: Before clearing the DTCs, use the scan tool in order to record the Freeze Frame and Failure Records. Using the Clear Info function erases the Freeze Frame and Failure Records from the PCM.

  4. Record the Freeze Frame and Failure Records.
  5. Clear the DTCs.
  6. With the vehicle in PARK, start the engine and idle greater than 500 RPM.
  7. Select scan tool A/T ISS and engine RPM.

Is the A/T ISS greater than 50 RPM?

--

Go to Diagnostic Aids

Go to Step 3

3

  1. Turn the ignition switch to the OFF position.
  2. Disconnect the PCM connector C3 (additional DTCs may set).
  3. Probe across terminal C3-7 and terminal C3-8 at PCM connector with J 39200 digital multimeter (DMM) on AC voltage.
  4. Remove the fuel pump relay.
  5. Refer to Automatic Transmission Components (Gas).

  6. With the vehicle in PARK, crank the engine.

Is the voltage above the specified value?

0.5 volts AC

Go to Step 12

Go to Step 4

4

  1. Turn the ignition switch to the OFF position.
  2. Remove the connector from the A/T ISS sensor.
  3. Using the J 39200 DMM and J 35616-A connector test adaptor kit, measure the resistance between terminal A and terminal B of the A/T ISS sensor.

Is the sensor's resistance within the specified range?

1042-2088ohms

Go to Step 5

Go to Step 11

5

  1. Select AC volts on the J 39200 DMM.
  2. With the vehicle in PARK, crank the engine.

Is the J 39200 DMM voltage greater than the specified value?

0.5 volts AC

Go to Step 7

Go to Step 6

6

  1. Remove the A/T ISS sensor from the transmission.
  2. Inspect the A/T ISS sensor.
  3. Inspect the forward clutch housing for damage (rotor teeth).

Was the condition found?

--

Go to Step 14

Go to Step 11

7

Inspect CKT 1230 (RED/BLK) for an open or short to ground.

Refer to General Electrical Diagnosis in Wiring Systems.

Was the condition found?

--

Go to Step 8

Go to Step 9

8

Repair the open or short to ground in CKT 1230 (RED/BLK).

Refer to Wiring Repairs in Wiring Systems.

Is the repair complete?

--

Go to Step 14

--

9

Inspect CKT 1231 (BLU/WHT) for an open or short to ground.

Refer to General Electrical Diagnosis in Wiring Systems.

Was the condition found?

--

Go to Step 10

Go to Diagnostic Aids

10

Repair the open or short to ground in CKT 1231 (BLU/WHT).

Refer to Wiring Repairs in Wiring Systems.

Is the repair complete?

--

Go to Step 14

--

11

Replace the ISS sensor.

Refer to Vehicle Speed Sensor Replacement .

Is the replacement complete?

--

Go to Step 14

--

12

  1. Inspect the PCM pins for corrosion or reduced terminal tension.
  2. Inspect the PCM C3 connector terminals for corrosion or reduced terminal tension.

Was the condition found?

--

Go to Step 14

Go to Step 13

13

Replace the PCM.

Refer to Powertrain Control Module Replacement/Programming in Engine Controls.

Is the replacement complete?

--

Go to Step 14

--

14

Perform the following procedure in order to verify the repair:

  1. Select DTC.
  2. Select Clear Info.
  3. Operate the vehicle under the following conditions:
  4. • The vehicle in drive range and the engine must be running.
    • Vehicle speed greater than 12 MPH.
    •  The PCM must see an input speed greater than 500 RPM for 1 second.
  5. Select Specific DTC.
  6. Enter DTC P0717.

Has the test run and passed?

--

System OK

Go to Step 1