GM Service Manual Online
For 1990-2009 cars only

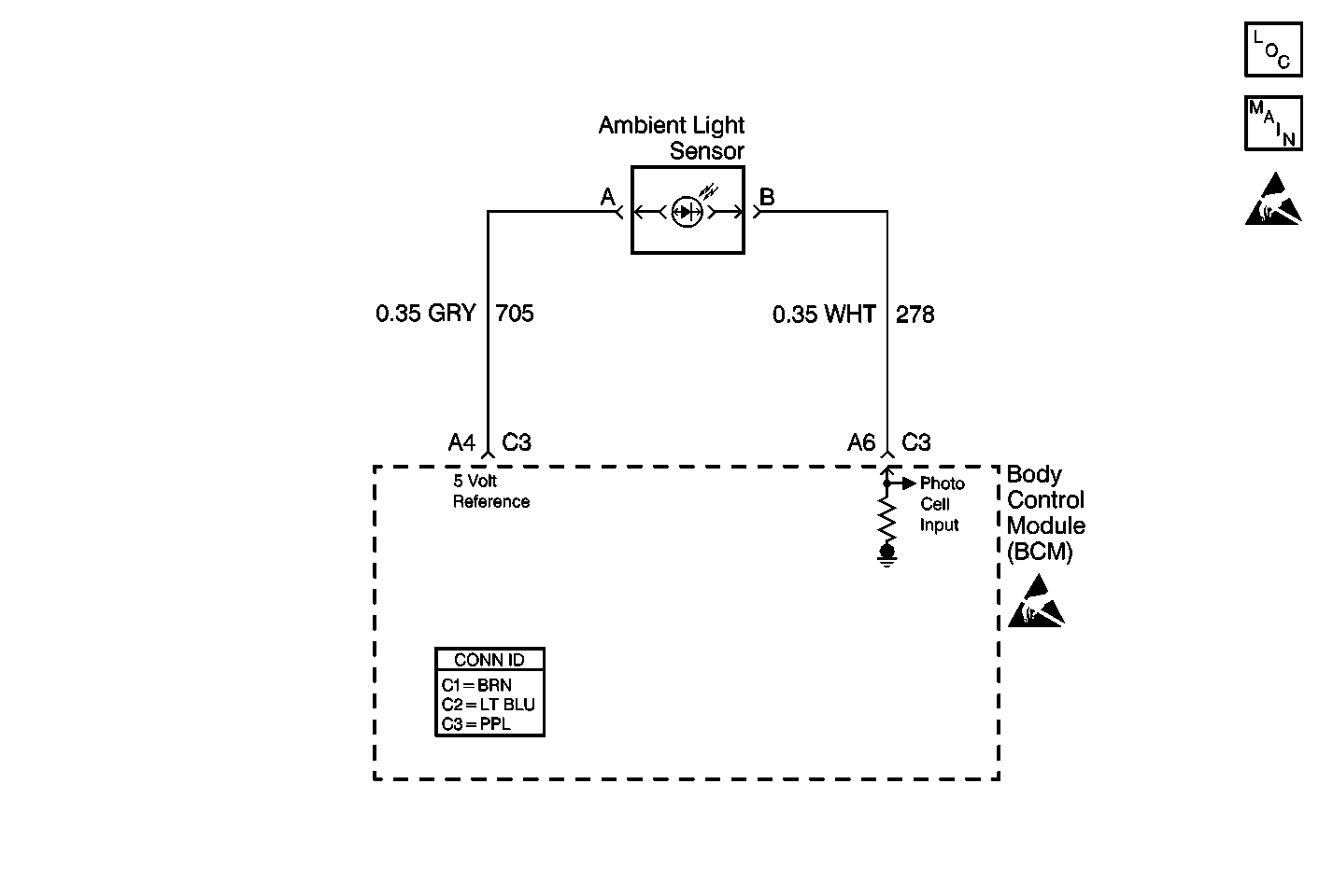
Object Number: 367983  Size: MF
Body Control Module Components
Body Control System Schematics
Handling ESD Sensitive Parts Notice
Handling ESD Sensitive Parts Notice

Circuit Description

The body control module (BCM) provides a constant output reference voltage (5 volts) for the proper operation of the ambient light sensor. The constant output reference voltage supply ensures that variations in the output signal of the ambient light sensor is due to changes of the sensor rather than variations in the voltage supply. The BCM monitors the constant output reference voltage (5 volts) and sets a DTC when the output is not within the expected range (4.75-5.25 volts).

Conditions for Setting the DTC

    • When the 5 volt reference output CKT 705 is less than 4.75 volts (shorted to ground).
    • The system voltage must be between 9.0-16.0 volts.
    • The above conditions are met for 0.5 seconds.

Action Taken When the DTC Sets

The daytime running lamps (DRL) feature will not operate.

Conditions for Clearing the MIL/DTC

    • The DTC will clear immediately after the condition for setting the fault is corrected.
    • A history DTC will clear after 100 consecutive ignition cycles without a fault present.
    • Use a scan tool in order to clear history and current DTCs.

Diagnostic Aids

    • Always diagnose the first DTC listed on the scan tool.
    • The scan tool must display DTC B1397 as a current code before performing diagnostics.
    • A short to ground in CKT 705 will only cause this DTC to be set.
    • Perform a visual inspection for loose or poor connections at all related components.
    • Refer to Intermittents and Poor Connections in Wiring Systems.

Test Description

Numbers below refer to the step number(s) on the Diagnostic Table.

  1. This step determines if the BCM 5 volt reference output voltage is shorted internally. By disconnecting the BCM connector other DTCs will set.

  2. This step determines if the ambient light sensor is shorted to ground or if CKT 705 (GRY) is shorted to ground between the sensor and the BCM.

Step

Action

Value(s)

Yes

No

1

Was the BCM Diagnostic System Check performed?

--

Go to Step 2

Go to Diagnostic System Check - Body Control System

2

  1. With a scan tool, select Body Control Module and monitor the current DTCs.
  2. Disconnect the purple BCM (C3) connector.

Does the scan tool display DTC 1397?

--

Go to Step 6

Go to Step 3

3

  1. Reconnect the purple BCM (C3) connector.
  2. While monitoring the DTCs with the scan tool, disconnect the ambient light sensor.

Does the scan tool display DTC 1397?

--

Go to Step 5

Go to Step 4

4

Replace the ambient light sensor.

Is the repair complete?

--

Go to Step 7

--

5

Locate and repair the short to ground in CKT 705 (GRY) between the purple BCM (C3) connector and the ambient light sensor.

Is the repair complete?

--

Go to Step 7

--

6

  1. Replace the BCM. Refer to Body Control Module Replacement .
  2. Program BCM with the proper calibrations. Refer to Body Control Module (BCM) Programming/RPO Configuration .
  3. Perform the learn procedure.

Is the repair complete?

--

System OK

--

7

Clear the DTCs. Refer to Clearing DTCs .

Is the repair complete?

--

System OK

--