GM Service Manual Online
For 1990-2009 cars only

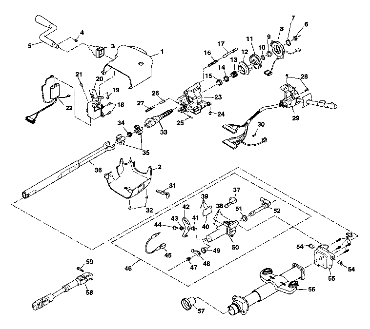
Steering Column Disassembled View Floor Shift Sphere Joint

Tilt Steering Column


Object Number: 403452  Size: LF
(1)Upper Trim Cover
(2)Lower Trim Cover
(3)Flanged Prevailing Torque Nut
(4)Retaining Ring
(5)Inflatable Restraint Steering Wheel Module Coil
(6)Wave Washer
(7)Bearing Retainer
(8)Shaft Lock Shield Assembly
(9)Turn Signal Cancel Cam Assembly
(10)Upper Bearing Spring
(11)Upper Bearing Inner Race Seat
(12)Inner Race
(13)Lock Bolt
(14)Lock Bolt Spring
(15)Pan Head Tapping Screw
(16)TORX® Head Screw
(17)Ignition Lock Cylinder Case Assembly
(18)Pan Head Tapping Screw
(19)Ignition and Key Alarm Switch Assembly
(20)Steering Column Tilt Head Assembly
(21)TORX® Head Screw
(22)Release Lever Pin
(23)Spring Guide
(24)Tilt Spring
(25)Pan Head Tapping Screw
(26)Turn Signal and Multifunction Switch Assembly
(27)Axial Position Assurance Connector
(28)Tilt Lever Assembly
(29)Pan Head Tapping Screw
(30)Race and Upper Shaft Assembly
(31)Joint Preload Spring
(32)Centering Sphere
(33)Lower Steering Shaft Assembly
(34)TORX® Head Screw
(35)Pivot Pin
(35)Pivot Pin
(36)Steering Column Support Assembly
(37)Steering Column Jacket Assembly
(38)Adapter and Bearing Assembly
(39)Bolt and Retainer Assembly
(40)Hexagon Head Nut
(41)Intermediate Shaft Assembly

Steering Column Disassembled View Column Shift Sphere Joint

Tilt Steering Column


Object Number: 403456  Size: LF
(1)Upper Trim Cover
(2)Lower Trim Cover
(3)Shift Lever Seal
(4)Shift Lever Screw
(5)Shift Lever
(6)Flanged Prevailing Torque Nut
(7)Retaining Ring
(8)Inflatable Restraint Steering Wheel Module Coil
(9)Wave Washer
(10)Bearing Retainer
(11)Shaft Lock Shield Assembly
(12)Turn Signal Cancel Cam Assembly
(13)Upper Bearing Spring
(14)Upper Bearing Inner Race Seat
(15)Inner Race
(16)Lock Bolt Spring
(17)Lock Bolt
(18)Pan Head Tapping screw
(19)TORX® Head Screw
(20)Ignition Lock Cylinder Case Assembly
(21)Pan Head Tapping Screw
(22)Ignition and Key Alarm Switch Assembly
(23)Pan Head Tapping Screw
(24)Turn Signal and Multifunction Switch Assembly
(25)Axial Position Assurance Connector
(26)Steering Column Tilt Head Assembly
(27)TORX® Head Screw
(28)Release Lever Pin
(29)Spring Guide
(30)Tilt Spring
(31)Race and Upper Shaft Assembly
(32)Centering Sphere
(33)Joint Preload Spring
(34)Lower Steering Shaft Assembly
(35)Pan Head Tapping Screw
(36)Tilt Lever Assembly
(37)Park Lock Position Switch Assembly
(38)Flat Head 6-Lobed Soc Tap Screw
(39)Oval Head Soc Tap Screw
(40)Shift Lever Gate
(41)Cam Bushing
(42)Cable Shift Cam Assembly
(43)Cam Bushing
(44)Hexagon Flange Head Bolt
(45)Park Lock Cable System
(46)Linear Shift Assembly
(47)Hexagon Flange Head Bolt
(48)Ball and Actuator Assembly
(49)Actuator Bushing
(50)Gear Shift Lever Assembly Support Bracket
(51)Actuator Bushing
(52)Shift Actuator Shaft
(53)TORX® Head Screw
(54)Pivot Pin
(54)Pivot Pin
(55)Steering Column Support Assembly
(56)Steering Column Jacket Assembly
(57)Automatic Transmission Shift Lock Control
(58)Adapter and Bearing Assembly
(59)Hexagon Head Nut
(60)Intermediate Shaft
(61)Bolt and Retainer Assembly

Steering Column Disassembled View Column shift Export

Tilt Steering Column


Object Number: 546767  Size: LF
(1)Upper Trim Cover
(2)Lower Trim Cover
(3)Shift lever Seal
(4)Shift Lever Screw
(5)Shift Lever
(6)Flanged Prevailing Torque Nut
(7)Snap Ring
(8)Inflatable Restraint Steering Wheel Module Coil
(9)Wave Washer
(10)Bearing Retainer
(11)Shaft Lock Shield Assembly
(12)Turn Signal Cancel Cam Assembly
(13)Upper Bearing Spring
(14)Upper Bearing Inner Race Seat
(15)Inner Race
(16)Lock Bolt Spring
(17)Lock Bolt
(18)Pan Head Tapping Screw
(19)TORX® Head Screw
(20)Electronic Lock Module Assembly
(21)Pan Head Tapping Screw
(22)Ignition and Key Alarm Switch Assembly
(23)Steering Column Tilt Head Assembly
(24)TORX® Head Screw
(25)Release Lever Pin
(26)Spring Guide
(27)Tilt Spring
(28)Pan Head Tapping Screw
(29)Turn Signal and Multifunction Switch Assembly
(30)Axial Position Assurance Connector
(31)Tilt Lever Assembly
(32)Pan Head Tapping Screw
(33)Race and Upper Shaft Assembly
(34)Joint Preload Spring
(35)Centering Sphere
(36)Lower Steering Shaft Assembly
(37)Park Lock Position Switch Assembly
(38)Flat Head 6-Lobed Soc Tap Screw
(39)Oval Head Screw
(40)Shift Lever Gate
(41)Cam Bushing
(42)Cable Shift Cam Assembly
(43)Cam Bushing
(44)Hexagon Flange Head Bolt
(45)Park Lock Cable System
(46)Linear Shift Assembly
(47)Hexagon Flange Head Bolt
(48)Ball and Actuator Assembly
(49)Actuator Bushing
(50)Gear Shift Lever Assembly Support Bracket
(51)Actuator Bushing
(52)Shift Actuator Shaft
(53)TORX® Head Screw
(54)Pivot Pin
(54)Pivot Pin
(55)Steering Column Support Assembly
(56)Steering Column Jacket Assembly
(57)Adapter and Bearing Assembly
(58)Intermediate Steering Shaft
(59)Bolt and Retainer Assembly